GM Service Manual Online
For 1990-2009 cars only

DTC P0758 2-3 (B) Shift Solenoid Electrical 3.8L, VIN K


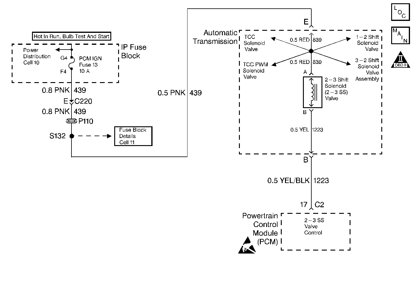
Object Number: 42313  Size: MF
Handling ESD Sensitive Parts Notice
OBD II Symbol Description Notice
Automatic Transmission Components VIN K

Circuit Description

The 2-3 Shift Solenoid Valve (2-3 SS Valve) controls the fluid acting on the 2-3 shift valves. The solenoid is a normally-open exhaust valve . In combination with the 1-2 Shift Solenoid Valve, the 2-3 SS Valve allows four different shifting combinations. The solenoid is attached to the control valve body within the transmission. Circuit 439 supplies ignition voltage directly to the 2-3 SS Valve. The PCM controls the solenoid by providing the ground path through circuit 1223.

If the PCM detects a continuous open or short to ground in the 2-3 SS Valve circuit or in the 2-3 SS Valve, then DTC P0758 sets. DTC P0758 is a type A DTC.

Conditions for Setting the DTC

    • The engine speed is greater than 400 RPM and not in fuel cut off.
    • The system voltage is 10-16 volts.
    • The PCM commands the solenoid ON and the voltage remains high (Battery Positive Voltage).
    • The PCM commands the solenoid OFF and the voltage remains low (0 volts).
    • All conditions are met for 5 seconds.

Action Taken When the DTC Sets

    • The PCM commands a soft landing to third gear.
    • The PCM commands maximum line pressure.
    • The PCM inhibits 4th gear if in hot mode.
    • The PCM freezes shift adapts from being updated.
    • The PCM inhibits TCC engagement
    • The PCM illuminates the Malfunction Indicator Lamp (MIL).

Conditions for Clearing the MIL/DTC

    • The PCM turns OFF the MIL after three consecutive ignition cycles without a failure reported.
    • A scan tool can clear the DTC from the PCM history. The PCM clears the DTC from the PCM history if the vehicle completes 40 warm-up cycles without a failure reported.
    • The PCM cancels the DTC default actions when the fault no longer exists and the ignition is OFF long enough in order to power down the PCM.

Diagnostic Aids

    • Inspect the wiring for any poor electrical connections at the PCM. Inspect the wiring at the TCC brake switch. Look for the following problems:
       - A bent terminal
       - A backed out terminal
       - A damaged terminal
       - Poor terminal tension
       - A chafed wire
       - A broken wire inside the insulation
    • When diagnosing for an intermittent short or an open, massage the wiring harness while watching the test equipment for changes.
    • Refer to Shift Solenoid Valve State and Gear Ratio .

Test Description

The numbers below refer to the step numbers on the diagnostic table.

  1. This step verifies that the 2-3 SS Valve and the Automatic Transmission wiring harness are functioning normally.

  2. This step verifies that the ignition supplies power to the 2-3 SS Valve through the PCM IGN fuse.

  3. This step verifies that the valve's resistance is within specifications.

DTC P0758 2-3 Shift Solenoid Valve -- Electrical

Step

Action

Value(s)

Yes

No

1

Was the Powertrain On-Board Diagnostic (OBD) System Check performed?

--

Go to Step 2

Go to Powertrain On Board Diagnostic (OBD) System Check , Section 6.

2

  1. Install the Scan Tool ®.
  2. With the engine OFF, turn the ignition switch to the RUN position.
  3. Important: Before clearing the DTCs, use the scan tool in order to record the Freeze Frame and Failure Records for reference. The Clear Info function will erase the data.

  4. Record the DTC Freeze Frame and Failure Records.

Were the DTCs P0753, P0758, P1860, P0740, and P0785 set?

--

Go to Step 3

Go to Step 4

3

    • Inspect the following components for an open or short to ground.
      • circuit 439 (PNK)
      • The solenoid
      • The PCM IGN fuse
      • The Automatic Transmission Wiring Harness Assembly
    • Repair the circuit, the solenoid, and the harness if necessary.

Refer to Electrical Diagnosis, Section 8.

Did you find and correct a problem?

--

Go to Step 22

--

4

Using the scan tool, command the 2-3 SS Valve Assy. ON and OFF three times while listening to the bottom of the transmission pan (a stethoscope may be necessary).

Does the solenoid click when commanded?

--

Go to Step 5

Go to Step 6

5

Examine every connection at the PCM and at the transmission 20-way connector for the following problems:

  1. Poor connections
  2. Bent connector pins
  3. Backed-out connector pins

Did you find and correct a problem?

--

Go to Step 22

Go to Diagnostic Aids

6

  1. Turn the ignition switch to the OFF position.
  2. Disconnect the transmission 20-way connector (additional DTCs will set).
  3. Install the J 39775 Jumper Harness on the engine harness connector .
  4. With the engine OFF, turn the ignition switch to the RUN position.
  5. Connect a test lamp from J 39775 Jumper Harness cavity E to ground.

Does the test lamp illuminate?

--

Go to Step 7

Go to Step 8

7

  1. Install a test lamp between cavities E and B of the J 39775 Jumper Harness.
  2. Important: Ground pin R of the J 39775 Jumper Harness.

  3. Using the scan tool, command the 2-3 shift solenoid valve assembly ON and OFF three times.

Does the test lamp illuminate when you command the 2-3 shift solenoid valve assembly ON, and turn OFF when you command the solenoid OFF?

--

Go to Step 14

Go to Step 9

8

Repair the open in ignition feed circuit 439 (PNK) to the 2-3 SS Valve Assy.

Refer to Electrical diagnosis, Section 8.

Did you find and correct a problem?

--

Go to Step 22

--

9

Was the test lamp OFF continuously?

Go to Step 10

Go to Step 11

10

  1. Inspect circuit 1223 (YEL/BLK) for the following problems:
  2. • An open connection
    • A poor PCM connection
    • A poor shift solenoid connection
  3. Repair the circuit if necessary.

Refer to Electrical Diagnosis, Section 8.

Did you find and repair a problem?

--

Go to Step 22

Go to Step 13

11

Was the test lamp illuminated continuously?

--

Go to Step 12

--

12

  1. Inspect circuit 1223 (YEL/BLK) for a short to ground.
  2. Repair the circuit if necessary.

Refer to Electrical Diagnosis, Section 8.

Did you find and correct a problem?

--

Go to Step 22

Go to Step 13

13

  1. Inspect the PCM connector terminals for the following problems:
  2. • Damaged connector pins
    • Backed-out connector pins
    • Weak terminal tension
  3. Repair the connectors if necessary.

Did you find and correct a problem?

--

Go to Step 22

Go to Step 22

14

  1. Turn the ignition switch to the OFF position.
  2. Install the J 39775 Jumper Harness on the transmission 20-way connector (Connector End View ).
  3. Using J 39200 DMM, measure the resistance between terminal B and the transmission case (ground).
  4. Measure the resistance between terminal E and the transmission case (ground).

Are both readings greater than the specified value?

250kohms

Go to Step 15

Go to Step 18

15

  1. Turn the ignition switch to the OFF position.
  2. Install the J 39775 Jumper Harness on the transmission 20-way connector (Connector End View ).
  3. Measure the resistance between the terminals B and E.

Is the resistance within the specified range?

19-31ohms

Go to Diagnostic Aids

Go to Step 16

16

  1. Disconnect the Automatic Transmission Wiring Harness Assembly from the 2-3 SS Valve Assy.
  2. Measure the resistance of the 2-3 SS Valve Assy.

Is the resistance within the specified range?

19-31ohms

Go to Step 17

Go to Step 20

17

  1. Inspect the Automatic Transmission Wiring Harness Assembly for an open circuit.
  2. Repair the harness if necessary.

Refer to Electrical Diagnosis, Section 8.

Did you find and correct a problem?

--

Go to Step 22

--

18

  1. Disconnect the Automatic Transmission Wiring Harness Assembly from the 2-3 SS Valve Assy.
  2. Using the J 39200 DMM, measure the resistance from each of the component's terminals to ground.

Are both readings greater than the specified value?

250kohms

Go to Step 19

Go to Step 20

19

  1. Inspect the Automatic Transmission Wiring Harness Assembly for a short to ground.
  2. Repair the harness if necessary.

Refer to Electrical Diagnosis, Section 8.

Did you find and correct a problem?

--

Go to Step 22

--

20

Replace the 2-3 SS Valve Assy.

Refer to Control Valve Body and Pressure Switch, in On-Vehicle Service.

Is the replacement complete?

--

Go to Step 22

--

21

Replace the PCM.

Refer to Powertrain Control Module Replacement/Programming , Section 6.

Is the replacement complete?

--

Go to Step 22

--

22

  1. After the repair is complete, select DTC.
  2. Select Clear Info.
  3. Operate the vehicle under the following conditions:
  4. • The 2-3 SS Valve is commanded ON and the voltage decreases to zero.
    • The 2-3 SS Valve is commanded OFF and the voltage increases to Battery Positive Voltage.
    • All conditions are met for 5 seconds.
  5. Select Specific DTC. Enter DTC P.

Has the test run and passed?

--

System OK

Begin the diagnosis again. Go to Step 1

DTC P0758 2-3 (B) Shift Solenoid Electrical 5.7L, VIN P


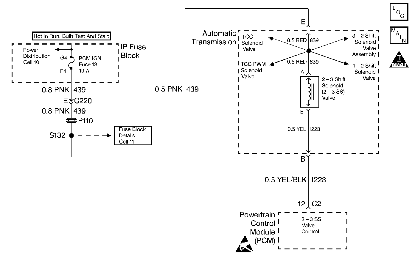
Object Number: 42314  Size: MF
Automatic Transmission Components VIN P
OBD II Symbol Description Notice
Handling ESD Sensitive Parts Notice

Circuit Description

The 2-3 Shift Solenoid Valve (2-3 SS Valve) controls the fluid acting on the 2-3 shift valves. The solenoid is a normally-open exhaust valve . In combination with the 1-2 Shift Solenoid Valve, the 2-3 SS Valve allows four different shifting combinations. The solenoid is attached to the control valve body within the transmission. Circuit 439 supplies ignition voltage directly to the 2-3 SS Valve. The PCM controls the solenoid by providing the ground path through circuit 1223.

If the PCM detects a continuous open or short to ground in the 2-3 SS Valve circuit or in the 2-3 SS Valve, then DTC P0758 sets. DTC P0758 is a type A DTC.

Conditions for Setting the DTC

    • The ignition is ON.
    • The system voltage is 10-17 volts.
    • The PCM commands the solenoid ON and the voltage remains high (Battery Positive Voltage).
    • The PCM commands the solenoid OFF and the voltage remains low (0 volts).
    • All conditions met for 5 seconds

Action Taken When the DTC Sets

    • The PCM commands third gear only.
    • The PCM commands maximum line pressure.
    • The PCM freezes shift adapts from being updated.
    • The PCM inhibits TCC engagement.
    • The PCM illuminates the Malfunction Indicator Lamp (MIL).

Conditions for Clearing the MIL/DTC

    • The PCM turns OFF the MIL after three consecutive ignition cycles without a failure reported.
    • A scan tool can clear the DTC from the PCM history. The PCM clears the DTC from the PCM history if the vehicle completes 40 warm-up cycles without a failure reported.
    • The PCM cancels the DTC default actions when the fault no longer exists and the ignition is OFF long enough in order to power down the PCM.

Diagnostic Aids

    • Inspect the wiring for any poor electrical connections at the PCM. Inspect the wiring at the TCC brake switch. Look for the following problems:
       - A bent terminal
       - A backed out terminal
       - A damaged terminal
       - Poor terminal tension
       - A chafed wire
       - A broken wire inside the insulation
    • When diagnosing for an intermittent short or an open, massage the wiring harness while watching the test equipment for a change.
    • Refer to Shift Solenoid Valve State and Gear Ratio .

Test Description

The numbers below refer to the step numbers on the diagnostic table.

  1. This step verifies that the 2-3 SS Valve and the Automatic Transmission wiring harness are functioning normally.

  2. This step verifies that the ignition supplies power to the 2-3 SS Valve through the PCM IGN fuse.

  3. This step verifies that the valve's resistance is within specifications.

DTC P0758 2-3 Shift Solenoid Valve -- Electrical

Step

Action

Value(s)

Yes

No

1

Was the Powertrain On-Board Diagnostic (OBD) System Check performed?

--

Go to Step 2

Go to Powertrain On Board Diagnostic (OBD) System Check , Section 6.

2

  1. Install the Scan Tool ®.
  2. With the engine OFF, turn the ignition switch to the RUN position.
  3. Important: Before clearing the DTCs, use the scan tool in order to record the Freeze Frame and Failure Records for reference. The Clear Info function will erase the data.

  4. Record the DTC Freeze Frame and Failure Records.

Are the DTCs P0753, P0758, P1860, P0740, and P0785 set?

--

Go to Step 3

Go to Step 4

3

  1. Inspect the following components for an open or short to ground.
  2. • Circuit 439 (PNK)
    • The solenoid
    • The PCM IGN fuse
    • The Automatic Transmission Wiring Harness Assembly
  3. Repair the circuit, the solenoid, and the harness if necessary.

Refer to Electrical Diagnosis, Section 8.

Did you find and correct a problem?

--

Go to Step 22

--

4

Using the scan tool, command the 2-3 SS Valve Assy. ON and OFF three times while listening to the bottom of the transmission pan (a stethoscope may be necessary).

Does the solenoid click when commanded?

--

Go to Step 5

Go to Step 6

5

Examine every connection at the PCM and at the transmission 20-way connector for the following problems:

  1. Poor connections
  2. Bent connector pins
  3. Backed out connector pins

Did you find and correct a problem?

--

Go to Step 22

Go to Diagnostic Aids

6

  1. Turn the ignition switch to the OFF position.
  2. Disconnect the transmission 20-way connector (additional DTCs will set).
  3. Install the J 39775 Jumper Harness on the engine harness connector .
  4. With the engine OFF, turn the ignition switch to the RUN position.
  5. Connect a test lamp from J 39775 Jumper Harness cavity E to ground.

Does the test lamp illuminate?

--

Go to Step 7

Go to Step 8

7

  1. Install a test lamp between cavities E and B of the J 39775 Jumper Harness.
  2. Using the scan tool, command the 2-3 shift solenoid valve assembly ON and OFF three times.

Does the test lamp illuminate when you command the 2-3 shift solenoid valve assembly ON, and turn OFF when you command the solenoid OFF?

--

Go to Step 14

Go to Step 9

8

Repair the open in ignition feed circuit 439 (PNK) to the 2-3 SS Valve Assy.

Refer to Electrical diagnosis, Section 8.

Did you find and correct a problem?

--

Go to Step 22

--

9

Was the test lamp OFF continuously?

Go to Step 10

Go to Step 11

10

  1. Inspect circuit 1223 (YEL/BLK) for an open or poor PCM connection.
  2. Repair the circuit if necessary.

Refer to Electrical Diagnosis, Section 8.

Did you find and repair a problem?

--

Go to Step 22

Go to Step 13

11

Was the test lamp illuminated continuously?

--

Go to Step 12

--

12

  1. Inspect circuit 1223 (YEL/BLK) for a short to ground.
  2. Repair the circuit if necessary.

Refer to Electrical Diagnosis, Section 8.

Did you find and correct a problem?

--

Go to Step 22

Go to Step 13

13

  1. Inspect the PCM connector terminals for the following problems:
  2. • Damaged connector pins
    • Backed out connector pins
    • Weak terminal tension
  3. Repair the connectors if necessary.

Did you find and correct a problem.

--

Go to Step 22

Go to Step 21

14

  1. Turn the ignition switch to the OFF position.
  2. Install the J 39775 Jumper Harness on the transmission 20-way connector (Connector End View ).
  3. Using J 39200 DMM and the J 35616-A Connector Test Adapter Kit, measure the resistance between terminal B and the transmission case (ground).
  4. Measure the resistance between terminal E and the transmission case (ground).

Are both readings greater than the specified value?

250kohms

Go to Step 15

Go to Step 18

15

  1. Turn the ignition switch to the OFF position.
  2. Install the J 39775 Jumper Harness on the transmission 20-way connector (Connector End View ).
  3. Measure the resistance between terminals B and E.

Is the resistance within the specified range?

19-31ohms

Go to Diagnostic Aids

Go to Step 16

16

  1. Disconnect the Automatic Transmission Wiring Harness Assembly from the 2-3 SS Valve Assy.
  2. Measure the resistance of the 2-3 SS Valve Assy.

Is the resistance within the specified range?

19-31ohms

Go to Step 17

Go to Step 20

17

  1. Inspect the Automatic Transmission Wiring Harness Assembly for an open circuit.
  2. Repair the harness if necessary.

Refer to Electrical Diagnosis, Section 8.

Did you find and correct a problem?

--

Go to Step 22

--

18

  1. Disconnect the Automatic Transmission Wiring Harness Assembly from the 2-3 SS Valve Assy.
  2. Using J 39200 DMM, measure the resistance from the component's terminals to ground.

Are both readings greater than the specified value?

250kohms

Go to Step 19

Go to Step 20

19

  1. Inspect the Automatic Transmission Wiring Harness Assembly for a short to ground.
  2. Repair the harness if necessary.

Refer to Electrical Diagnosis, Section 8.

Did you find and correct a problem?

--

Go to Step 22

--

20

Replace the 2-3 SS Valve Assy.

Refer to Control Valve Body and Pressure Switch, in On-Vehicle Service.

Is the replacement complete?

--

Go to Step 22

--

21

Replace the PCM.

Refer to Powertrain Control Module Replacement/Programming , Section 6.

Is the replacement complete?

--

Go to Step 22

--

22

  1. After the repair is complete, select DTC.
  2. Select Clear Info.
  3. Operate the vehicle under the following conditions:
  4. • The 2-3 SS Valve Assy. is commanded ON and the voltage decreases to zero.
    • The 2-3 SS Valve Assy. is commanded OFF and the voltage increases to Battery Positive Voltage.
    • All conditions are met for 5 seconds.
  5. Select Specific DTC. Enter DTC P0758.

Has the test run and passed?

--

System OK

Begin the diagnosis again. Go to Step 1