Hole | Thread Size | Insert | Drill | Counterbore Tool | Tap | Driver | Drill Depth (Maximum) mm (in) | Tap Depth (Maximum) mm (in) |
|---|---|---|---|---|---|---|---|---|
1-6 | M8 x 1.25 | J 42385-210 | J 42385-206 | J 42385-207 | J 42385-208 | J 42385-209 | 22.5 (0.885) | 17.5 (0.688) |
7 | M10 x 1.5 | J 42385-215 | J 42385-211 | J 42385-212 | J 42385-213 | J 42385-214 | 25.0 (0.984) | 19.5 (0.767) |
8 | M10 x 1.5 | J 42385-215 | J 42385-211 | J 42385-212 | J 42385-213 | J 42385-214 | 32.5 (1.28) | 25.0 (0.984) |
9 | M8 x 1.25 | J 42385-210 | J 42385-206 | J 42385-207 | J 42385-208 | J 42385-209 | 22.5 (0.885) | 17.5 (0.688) |
10 | M10 x 1.5 | J 42385-215 | J 42385-211 | J 42385-212 | J 42385-213 | J 42385-214 | Thru | Thru |
11-13 | M8 x 1.25 | J 42385-210 | J 42385-206 | J 42385-207 | J 42385-208 | J 42385-209 | 22.5 (0.885) | 17.5 (0.688) |
14 | M8 x 1.25 | J 42385-210 | J 42385-206 | J 42385-207 | J 42385-208 | J 42385-209 | Thru | 18.0 (0.708) |
15 | M8 x 1.25 | J 42385-210 | J 42385-206 | J 42385-207 | J 42385-208 | J 42385-209 | 22.5 (0.885) | 17.5 (0.688) |
16 | M8 x 1.25 | J 42385-210 | J 42385-206 | J 42385-207 | J 42385-208 | J 42385-209 | Thru | 18.0 (0.708) |
17-27 | M8 x 1.25 | J 42385-210 | J 42385-206 | J 42385-207 | J 42385-208 | J 42385-209 | 22.5 (0.885) | 17.5 (0.688) |
Hole | Thread Size | Insert | Drill | Counterbore Tool | Tap | Driver | Drill Depth (Maximum) mm (in) | Tap Depth (Maximum) mm (in) |
|---|---|---|---|---|---|---|---|---|
1 | M10 x 1.5 | J 42385-215 | J 42385-211 | J 42385-212 | J 42385-213 | J 42385-214 | 27.0 (1.06) | 21.5 (0.846) |
2-4 | M8 x 1.25 | J 42385-210 | J 42385-206 | J 42385-207 | J 42385-208 | J 42385-209 | 22.5 (0.885) | 17.5 (0.688) |
5-6 | M10 x 1.5 | J 42385-215 | J 42385-211 | J 42385-212 | J 42385-213 | J 42385-214 | 27.0 (1.06) | 21.5 (0.846) |
7-13 | M8 x 1.25 | J 42385-210 | J 42385-206 | J 42385-207 | J 42385-208 | J 42385-209 | 22.5 (0.885) | 17.5 (0.688) |
14-16 | M10 x 1.5 | J 42385-215 | J 42385-211 | J 42385-212 | J 42385-213 | J 42385-214 | 27.0 (1.06) | 21.5 (0.846) |
17-18 | M8 x 1.25 | J 42385-210 | J 42385-206 | J 42385-207 | J 42385-208 | J 42385-209 | 22.5 (0.885) | 17.5 (0.688) |
Hole | Thread Size | Insert | Drill | Counterbore Tool | Tap | Driver | Drill Depth (Maximum) mm (in) | Tap Depth (Maximum) mm (in) | ||||
|---|---|---|---|---|---|---|---|---|---|---|---|---|
1 | M8 x 1.25 | J 42385-210 | J 42385-206 | J 42385-207 | J 42385-208 | J 42385-209 | 26.5 (1.04) | 19.0 (0.784) | ||||
2-3 | M11 x 2.0 | J 42385-108 | J 42385-105 | -- | J 42385-106 | J 42385-107 | 124.0 (4.88) | 115.0 (4.52) | ||||
4 | M8 x 1.25 | J 42385-210 | J 42385-206 | J 42385-207 | J 42385-208 | J 42385-209 | 26.5 (1.04) | 19.0 (0.784) | ||||
5 | M6 x 1.0 | J 42385-205 | J 42385-201 | J 42385-202 | J 42385-203 | J 42385-204 | 22.5 (0.885) | 16.0 (0.629) | ||||
6-7 | M11 x 2.0 | J 42385-108 | J 42385-105 | -- | J 42385-106 | J 42385-107 | 124.0 (4.88) | 115.0 (4.52) | ||||
8 | M8 x 1.25 | J 42385-210 | J 42385-206 | J 42385-207 | J 42385-208 | J 42385-209 | 26.5 (1.04) | 19.0 (0.784) | ||||
9 | M11 x 2.0 | J 42385-108 | J 42385-105 | -- | J 42385-106 | J 42385-107 | 69.0 (2.72) | 60.0 (2.36) | ||||
10 | M11 x 2.0 | J 42385-108 | J 42385-105 | -- | J 42385-106 | J 42385-107 | 124.0 (4.88) | 115.0 (4.52) | ||||
11 | M16 x 1.5 | -- | -- | -- | -- | -- | -- | -- | ||||
12-17 | M10 x 1.5 | J 42385-215 | J 42385-211 | J 42385-212 | J 42385-213 | J 42385-214 | 29.0 (1.14) | 23.0 (0.905) | ||||
18 | M28 x 1.25 | -- | -- | -- | -- | -- | -- | -- | ||||
19-20 | M8 x 1.25 | J 42385-210 | J 42385-206 | J 42385-207 | J 42385-208 | J 42385-209 | 21.0 (0.826) | 16.0 (0.629) | ||||
21 | M16 x 1.5 | -- | -- | -- | -- | -- | -- | -- | ||||
22 | M10 x 1.5 | J 42385-215 | J 42385-211 | J 42385-212 | J 42385-213 | J 42385-214 | 27.0 (1.06) | 21.5 (0.846) | ||||
23 | M11 x 2.0 | J 42385-108 | J 42385-105 | -- | J 42385-106 | J 42385-107 | 124.0 (4.88) | 115.0 (4.52) | ||||
24 | M11 x 2.0 | J 42385-108 | J 42385-105 | -- | J 42385-106 | J 42385-107 | 69.0 (2.72) | 60.0 (2.36) | ||||
25 | M8 x 1.25 | J 42385-210 | J 42385-206 | J 42385-207 | J 42385-208 | J 42385-209 | 26.5 (1.04) | 19.0 (0.784) | ||||
26-27 | M11 x 2.0 | J 42385-108 | J 42385-105 | -- | J 42385-106 | J 42385-107 | 124.0 (4.88) | 115.0 (4.52) | ||||
28 | M6 x 1.0 | J 42385-205 | J 42385-201 | J 42385-202 | J 42385-203 | J 42385-204 | 22.5 (0.885) | 16.0 (0.629) | ||||
29 | M8 x 1.25 | J 42385-210 | J 42385-206 | J 42385-207 | J 42385-208 | J 42385-209 | 26.5 (1.04) | 19.0 (0.784) | ||||
| ||||||||||||
Hole | Thread Size | Insert | Drill | Counterbore Tool | Tap | Driver | Drill Depth (Maximum) mm (in) | Tap Depth (Maximum) mm (in) | ||||
|---|---|---|---|---|---|---|---|---|---|---|---|---|
1 | M8 x 1.25 | J 42385-210 | J 42385-206 | J 42385-207 | J 42385-208 | J 42385-209 | 26.5 (1.04) | 19.0 (0.784) | ||||
2-3 | M11 x 2.0 | J 42385-108 | J 42385-105 | -- | J 42385-106 | J 42385-107 | 124.0 (4.88) | 115.0 (4.52) | ||||
4 | M8 x 1.25 | J 42385-210 | J 42385-206 | J 42385-207 | J 42385-208 | J 42385-209 | 26.5 (1.04) | 19.0 (0.784) | ||||
5 | M6 x 1.0 | J 42385-205 | J 42385-201 | J 42385-202 | J 42385-203 | J 42385-204 | 22.5 (0.885) | 15.0 (0.590) | ||||
6-7 | M11 x 2.0 | J 42385-108 | J 42385-105 | -- | J 42385-106 | J 42385-107 | 124.0 (4.88) | 115.0 (4.52) | ||||
8 | M8 x 1.25 | J 42385-210 | J 42385-206 | J 42385-207 | J 42385-208 | J 42385-209 | 26.5 (1.04) | 19.0 (0.784) | ||||
9 | M11 x 2.0 | J 42385-108 | J 42385-105 | -- | J 42385-106 | J 42385-107 | 69.0 (2.72) | 60.0 (2.36) | ||||
10 | M11 x 2.0 | J 42385-108 | J 42385-105 | -- | J 42385-106 | J 42385-107 | 124.0 (4.88) | 115.0 (4.52) | ||||
11-14 | M10 x 1.5 | J 42385-215 | J 42385-211 | J 42385-212 | J 42385-213 | J 42385-214 | 27.0 (1.06) | 21.5 (0.846) | ||||
15-19 | M10 x 1.5 | J 42385-215 | J 42385-211 | J 42385-212 | J 42385-213 | J 42385-214 | 29.0 (1.14) | 23.0 (0.905) | ||||
20 | M16 x 1.5 | -- | -- | -- | -- | -- | -- | -- | ||||
21 | M8 x 1.25 | J 42385-210 | J 42385-206 | J 42385-207 | J 42385-208 | J 42385-209 | 22.5 (0.885) | 17.5 (0.688) | ||||
22 | M11 x 2.0 | J 42385-108 | J 42385-105 | -- | J 42385-106 | J 42385-107 | 124.0 (4.88) | 115.0 (4.52) | ||||
23 | M11 x 2.0 | J 42385-108 | J 42385-105 | -- | J 42385-106 | J 42385-107 | 69.0 (2.72) | 60.0 (2.36) | ||||
24 | M8 x 1.25 | J 42385-210 | J 42385-206 | J 42385-207 | J 42385-208 | J 42385-209 | 26.5 (1.04) | 19.0 (0.784) | ||||
25-26 | M11 x 2.0 | J 42385-108 | J 42385-105 | -- | J 42385-106 | J 42385-107 | 124.0 (4.88) | 115.0 (4.52) | ||||
27 | M6 x 1.0 | J 42385-205 | J 42385-201 | J 42385-202 | J 42385-203 | J 42385-204 | 22.5 (0.885) | 15.0 (0.590) | ||||
28 | M8 x 1.25 | J 42385-210 | J 42385-206 | J 42385-207 | J 42385-208 | J 42385-209 | 26.5 (1.04) | 19.0 (0.784) | ||||
| ||||||||||||
Hole | Thread Size | Insert | Drill | Counterbore Tool | Tap | Driver | Drill Depth (Maximum) mm (in) | Tap Depth (Maximum) mm (in) | ||||||
|---|---|---|---|---|---|---|---|---|---|---|---|---|---|---|
1 | M10 x 2.0 | J 42385-104 | J 42385-101 | -- | J 42385-102 | J 42385-103 | 31.0 (1.22) | 25.5 (1.0) | ||||||
2 | M10 x 2.0 | J 42385-104 | J 42385-101 | -- | J 42385-102 | J 42385-103 | 53.5 (2.10) | 44.0 (1.73) | ||||||
3 | M8 x 1.25 | J 42385-210 | J 42385-206 | J 42385-207 | J 42385-208 | J 42385-209 | 22.5 (0.885) | 17.5 (0.688) | ||||||
4 | M10 x 2.0 | J 42385-104 | J 42385-101 | -- | J 42385-102 | J 42385-103 | 31.0 (1.22) | 25.5 (1.0) | ||||||
5 | M10 x 2.0 | J 42385-104 | J 42385-101 | -- | J 42385-102 | J 42385-103 | 53.5 (2.10) | 44.0 (1.73) | ||||||
6 | M16 x 1.5 | -- | -- | -- | -- | -- | -- | -- | ||||||
7 | N/A | N/A | -- | -- | -- | -- | -- | -- | ||||||
8 | M8 x 1.25 | J 42385-210 | J 42385-206 | J 42385-207 | J 42385-208 | J 42385-209 | 22.5 (0.885) | 17.5 (0.688) | ||||||
9 | M10 x 2.0 | J 42385-104 | J 42385-101 | -- | J 42385-102 | J 42385-103 | 31.0 (1.22) | 25.5 (1.0) | ||||||
10-11 | M10 x 2.0 | J 42385-104 | J 42385-101 | -- | J 42385-102 | J 42385-103 | 53.5 (2.10) | 44.0 (1.73) | ||||||
12 | M10 x 2.0 | J 42385-104 | J 42385-101 | -- | J 42385-102 | J 42385-103 | 31.0 (1.22) | 25.5 (1.0) | ||||||
13-14 | M10 x 1.5 | J 42385-215 | J 42385-101 | -- | J 42385-213 | J 42385-214 | 42.5 (1.67) | 37.0 (1.45) | ||||||
15 | M8 x 1.25 | J 42385-210 | J 42385-206 | J 42385-207 | J 42385-208 | J 42385-209 | 22.5 (0.885) | 17.5 (0.688) | ||||||
16 | M16 x 1.5 | -- | -- | -- | -- | -- | -- | -- | ||||||
17 | M10 x 2.0 | J 42385-104 | J 42385-101 | -- | J 42385-102 | J 42385-103 | 53.5 (2.10) | 44.0 (1.73) | ||||||
18 | M10 x 2.0 | J 42385-104 | J 42385-101 | -- | J 42385-102 | J 42385-103 | 31.0 (1.22) | 25.5 (1.0) | ||||||
19 | M8 x 1.25 | J 42385-210 | J 42385-206 | J 42385-207 | J 42385-208 | J 42385-209 | 22.5 (0.885) | 17.5 (0.688) | ||||||
20 | M10 x 2.0 | J 42385-104 | J 42385-101 | -- | J 42385-102 | J 42385-103 | 53.5 (2.10) | 44.0 (1.73) | ||||||
21 | M10 x 2.0 | J 42385-104 | J 42385-101 | -- | J 42385-102 | J 42385-103 | 31.0 (1.22) | 25.5 (1.0) | ||||||
22 | M8 x 1.25 | J 42385-210 | J 42385-206 | J 42385-207 | J 42385-208 | J 42385-209 | 22.5 (0.885) | 17.5 (0.688) | ||||||
23 | M10 x 2.0 | J 42385-104 | J 42385-101 | -- | J 42385-102 | J 42385-103 | 31.0 (1.22) | 25.5 (1.0) | ||||||
24 | M10 x 2.0 | J 42385-104 | J 42385-101 | -- | J 42385-102 | J 42385-103 | 53.5 (2.10) | 44.0 (1.73) | ||||||
25-26 | M8 x 1.25 | J 42385-210 | J 42385-206 | J 42385-207 | J 42385-208 | J 42385-209 | 22.5 (0.885) | 17.5 (0.688) | ||||||
27 | M10 x 2.0 | J 42385-104 | J 42385-101 | -- | J 42385-102 | J 42385-103 | 31.0 (1.22) | 25.5 (1.0) | ||||||
28-29 | M10 x 2.0 | J 42385-104 | J 42385-101 | -- | J 42385-102 | J 42385-103 | 53.5 (2.10) | 44.0 (1.73) | ||||||
30 | M10 x 2.0 | J 42385-104 | J 42385-101 | -- | J 42385-102 | J 42385-103 | 31.0 (1.22) | 25.5 (1.0) | ||||||
31 | M8 x 1.25 | J 42385-210 | J 42385-206 | J 42385-207 | J 42385-208 | J 42385-209 | 22.5 (0.885) | 17.5 (0.688) | ||||||
32 | M28 x 1.25 | -- | -- | -- | -- | -- | -- | -- | ||||||
33 | M8 x 1.25 | J 42385-210 | J 42385-206 | J 42385-207 | J 42385-208 | J 42385-209 | 22.5 (0.885) | 17.5 (0.688) | ||||||
34 | M10 x 2.0 | J 42385-104 | J 42385-101 | -- | J 42385-102 | J 42385-103 | 53.5 (2.10) | 44.0 (1.73) | ||||||
35 | M10 x 2.0 | J 42385-104 | J 42385-101 | -- | J 42385-102 | J 42385-103 | 31.0 (1.22) | 25.5 (1.0) | ||||||
36 | M8 x 1.25 | J 42385-210 | J 42385-206 | J 42385-207 | J 42385-208 | J 42385-209 | 22.5 (0.885) | 17.5 (0.688) | ||||||
| ||||||||||||||
Hole | Thread Size | Insert | Drill | Counterbore Tool | Tap | Driver | Drill Depth (Maximum) mm (in) | Tap Depth (Maximum) mm (in) |
|---|---|---|---|---|---|---|---|---|
1-4 | M8 x 1.25 | J 42385-210 | J 42385-206 | J 42385-207 | J 42385-208 | J 42385-209 | 26.5 (1.04) | 19.0 (0.784) |
5 | M16 x 1.5 | -- | -- | -- | -- | -- | -- | -- |
6-7 | M8 x 1.25 | J 42385-210 | J 42385-206 | J 42385-207 | J 42385-208 | J 42385-209 | 26.5 (1.04) | 19.0 (0.784) |
8 | M10 x 1.5 | J 42385-216 | J 42385-211 | J 42385-212 | J 42385-213 | J 42385-214 | 22.5 (0.885) | 17.0 (0.669) |
9-10 | M8 x 1.25 | J 42385-210 | J 42385-206 | J 42385-207 | J 42385-208 | J 42385-209 | 26.5 (1.04) | 19.0 (0.784) |
11 | M10 x 1.5 | J 42385-216 | J 42385-211 | J 42385-212 | J 42385-213 | J 42385-214 | 22.5 (0.885) | 17.0 (0.669) |
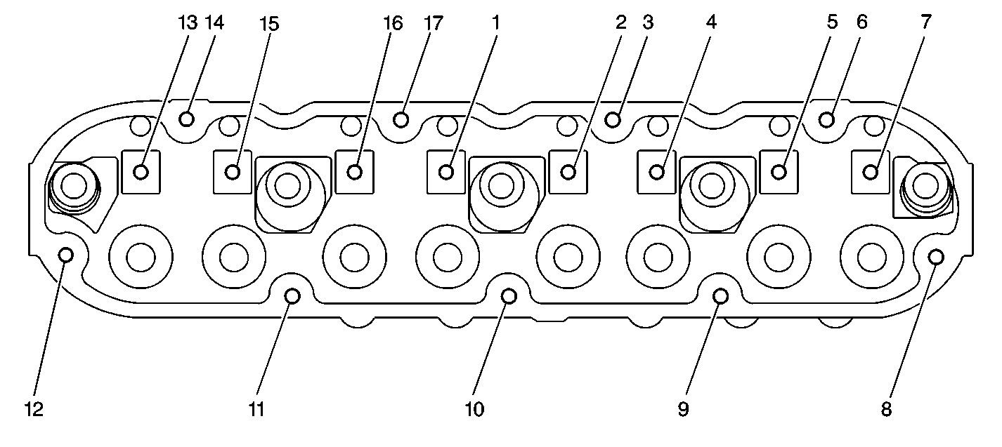
12-14 | M8 x 1.25 | J 42385-210 | J 42385-206 | J 42385-207 | J 42385-208 | J 42385-209 | 26.5 (1.04) | 19.0 (0.784) |
Hole | Thread Size | Insert | Drill | Counterbore Tool | Tap | Driver | Drill Depth (Maximum) mm (in) | Tap Depth (Maximum) mm (in) |
|---|---|---|---|---|---|---|---|---|
1-2 | M8 x 1.25 | J 42385-210 | J 42385-206 | J 42385-207 | J 42385-208 | J 42385-209 | 26.5 (1.04) | 19.0 (0.784) |
3 | M6 x 1.0 | J 42385-205 | J 42385-201 | J 42385-202 | J 42385-203 | J 42385-204 | 22.0 (0.866) | 18.0 (0.708) |
4-5 | M8 x 1.25 | J 42385-210 | J 42385-206 | J 42385-207 | J 42385-208 | J 42385-209 | 26.5 (1.04) | 19.0 (0.784) |
6 | M6 x 1.0 | J 42385-205 | J 42385-201 | J 42385-202 | J 42385-203 | J 42385-204 | 22.0 (0.866) | 18.0 (0.708) |
7 | M8 x 1.25 | J 42385-210 | J 42385-206 | J 42385-207 | J 42385-208 | J 42385-209 | 26.5 (1.04) | 19.0 (0.784) |
8-12 | M6 x 1.0 | J 42385-205 | J 42385-201 | J 42385-202 | J 42385-203 | J 42385-204 | 22.0 (0.866) | 18.0 (0.708) |
13 | M8 x 1.25 | J 42385-210 | J 42385-206 | J 42385-207 | J 42385-208 | J 42385-209 | 26.5 (1.04) | 19.0 (0.784) |
14 | M6 x 1.0 | J 42385-205 | J 42385-201 | J 42385-202 | J 42385-203 | J 42385-204 | 22.0 (0.866) | 18.0 (0.708) |
15 | M8 x 1.25 | J 42385-210 | J 42385-206 | J 42385-207 | J 42385-208 | J 42385-209 | 26.5 (1.04) | 19.0 (0.784) |
Hole | Thread Size | Insert | Drill | Counterbore Tool | Tap | Driver | Drill Depth (Maximum) mm (in) | Tap Depth (Maximum) mm (in) |
|---|---|---|---|---|---|---|---|---|
1 | M10 x 1.5 | J 42385-215 | J 42385-211 | J 42385-212 | J 42385-213 | J 42385-214 | 28.0 (1.10) | 20.0 (0.787) |
2 | N/A | -- | -- | -- | -- | -- | -- | -- |
3 | M10 x 1.5 | J 42385-215 | J 42385-211 | J 42385-212 | J 42385-213 | J 42385-214 | 28.0 (1.10) | 20.0 (0.787) |
4 | N/A | -- | -- | -- | -- | -- | -- | -- |
5-6 | M10 x 1.5 | J 42385-215 | J 42385-211 | J 42385-212 | J 42385-213 | J 42385-214 | 28.0 (1.10) | 20.0 (0.787) |
Hole | Thread Size | Insert | Drill | Counterbore Tool | Tap | Driver | Drill Depth (Maximum) mm (in) | Tap Depth (Maximum) mm (in) |
|---|---|---|---|---|---|---|---|---|
1-2 | M10 x 1.5 | J 42385-215 | J 42385-211 | J 42385-212 | J 42385-213 | J 42385-214 | 28.0 (1.10) | 20.0 (0.787) |
3 | M8 x 1.25 | J 42385-210 | J 42385-206 | J 42385-207 | J 42385-208 | J 42385-209 | 21.0 (0.826) | 16.0 (0.629) |
4 | M14 x 1.25 | -- | -- | -- | -- | -- | -- | -- |
5 | M8 x 1.25 | J 42385-210 | J 42385-206 | J 42385-207 | J 42385-208 | J 42385-209 | 21.0 (0.826) | 16.0 (0.629) |
6 | M14 x 1.25 | -- | -- | -- | -- | -- | -- | -- |
7-8 | M8 x 1.25 | J 42385-210 | J 42385-206 | J 42385-207 | J 42385-208 | J 42385-209 | 21.0 (0.826) | 16.0 (0.629) |
9 | M14 x 1.25 | -- | -- | -- | -- | -- | -- | -- |
10 | M8 x 1.25 | J 42385-210 | J 42385-206 | J 42385-207 | J 42385-208 | J 42385-209 | 21.0 (0.826) | 16.0 (0.629) |
11 | M14 x 1.25 | -- | -- | -- | -- | -- | -- | -- |
12 | M8 x 1.25 | J 42385-210 | J 42385-206 | J 42385-207 | J 42385-208 | J 42385-209 | 21.0 (0.826) | 16.0 (0.629) |
13 | M12 x 1.5 | -- | -- | -- | -- | -- | -- | -- |
14-15 | M10 x 1.5 | J 42385-215 | J 42385-211 | J 42385-212 | J 42385-213 | J 42385-214 | 28.0 (1.10) | 20.0 (0.787) |
Hole | Thread Size | Insert | Drill | Counterbore Tool | Tap | Driver | Drill Depth (Maximum) mm (in) | Tap Depth (Maximum) mm (in) |
|---|---|---|---|---|---|---|---|---|
1-2 | M6 x 1.0 | J 42385-205 | J 42385-201 | J 42385-202 | J 42385-203 | J 42385-204 | Thru | Thru |
3-4 | M6 x 1.0 | J 42385-205 | J 42385-201 | J 42385-202 | J 42385-203 | J 42385-204 | 22.5 (0.885) | 15.0 (0.688) |
5-7 | M6 x 1.0 | J 42385-205 | J 42385-201 | J 42385-202 | J 42385-203 | J 42385-204 | Thru | Thru |