GM Service Manual Online
For 1990-2009 cars only

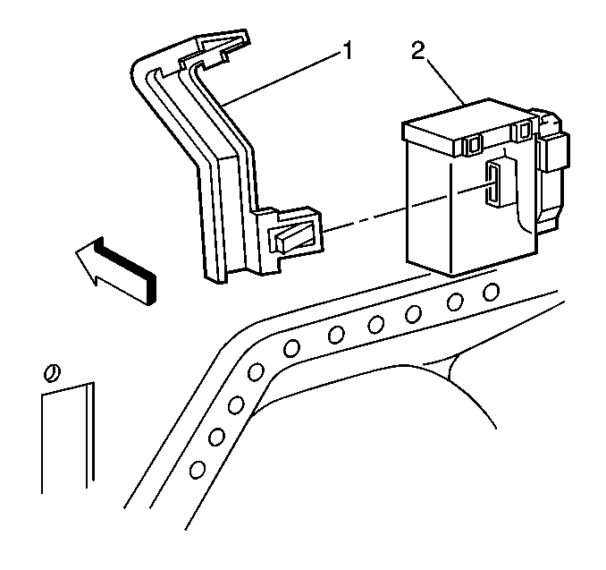
Removal Procedure


    Object Number: 465810  Size: SH
  1. Raise the vehicle. Refer to Lifting and Jacking the Vehicle in General Information.
  2. Detach the EVAP canister vent valve (2) from the EVAP canister vent valve bracket (1).

  3. Object Number: 228629  Size: SH
  4. Disconnect the EVAP canister vent valve electrical connector.
  5. Loosen the vent hose clamp and remove the vent hose from the EVAP vent valve.
  6. Remove the EVAP canister vent valve from the vehicle.

Installation Procedure


    Object Number: 228629  Size: SH
  1. Connect the vent hose to the EVAP canister vent valve and tighten the hose clamp.
  2. Connect the EVAP canister vent valve electrical connector.

  3. Object Number: 465810  Size: SH
  4. Install the EVAP canister vent valve (2) to the EVAP canister vent valve bracket (1).
  5. Lower the vehicle.