GM Service Manual Online
For 1990-2009 cars only

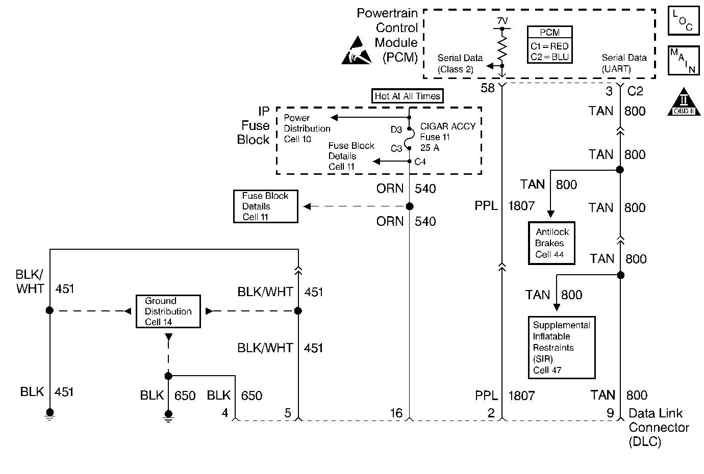
Object Number: 218492  Size: MF
Engine Controls Components
Data Link Connector (DLC)
OBD II Symbol Description Notice
Handling ESD Sensitive Parts Notice

Description

Important:  Do not perform this check if no driveability concern exists. A driveability condition includes all PCM controlled systems and components.

The Powertrain OBD System Check is an organized approach to identifying a condition created by an electronic engine control system malfunction. The Powertrain OBD System Check is the starting point for any driveability complaint diagnosis. The Powertrain OBD System Check directs the service technician to the next logical step in diagnosing a complaint. Understanding and using the table correctly will reduce the diagnostic time and prevent the replacement of good parts.

Important: For automatic transmission DTCs, refer to Diagnostic Trouble Code Identification in Automatic Transmission 4L60-E. The DTCs associated with the automatic transmission are:

   • DTCs P0502, P0503, and 560.
   • Any 700 and 1800 series DTCs (i.e. DTC P07XX and P18XX).

Important: For Domestic and Export DTC Types, refer to Diagnostic Trouble Code (DTC) List .

Important: This vehicle is equipped with a Powertrain Control Module (PCM) utilizing an Electrically Erasable Programmable Read Only Memory (EEPROM). Program the new PCM when diagnostics call for replacement of the PCM.

Refer to Powertrain Control Module Replacement/Programming .

Diagnostic Aids

Important: If an intermittent condition exists, inspect the PCM wiring harnesses for improper installation of electrical components. Inspect for aftermarket theft deterrent devices, lights, and cellular phones. Ensure that no aftermarket equipment is connected to the Class 2 circuit. A cellular phone signal communication may cause an intermittent condition.

If multiple DTCs are set, inspect the IGN mini relay for proper operation. This relay protects the battery from a parasitic draw. The following components are powered by the IGN mini relay:

    • Injectors/Ignition coils
    • A/C system
    • Transmission
    • EVAP solenoid and EVAP Vent Valve
    • MAF sensor
    • Heated Oxygen Sensors

Test Description

The numbers below refer to the step numbers on the diagnostic table.

  1. Use a properly functioning scan tool with the diagnostic tables in this section. DO NOT use the Clear Info function unless instructed by a diagnostic procedure.

  2. An Ignition 1 voltage that is too low may cause the following conditions:

  3. • A no start
    • Stalling
    • High idle
    • An inoperative scan tool
  4. This step determines if a DTC is set for the Vehicle Theft Deterrent (VTD) system. A VTD DTC set causes the engine from starting.

  5. If multiple DTCs are stored, diagnose in the following order of priority:

  6. 1. PCM failure DTCs (P0601, P0602, P0604)
    2. System Voltage DTCs
    3. Component level DTCs (Sensors, Solenoids, Relays etc.). Multiple DTCs within this category should be diagnosed in numerical order starting with the lowest numbered DTC.
    4. System level DTCs (Misfire, Fuel Trim, etc.)

For Automatic Transmission DTCs, refer to Diagnostic Trouble Code Identification in Automatic Transmission-4L60E.

It is beneficial to review the Freeze Frame Data and/or Fail Records. Use the odometer information and the fail counter in order to determine how frequently and how recently the DTC set. This information and the other operating conditions when the DTC set may help diagnose an intermittent condition. Capturing the stored info preserves data that the PCM will lose when instructed to Clear Info at the end of a diagnostic table, or if you disconnect the PCM or replace the PCM during a diagnostic procedure. The scan tool stores the data in the scan tool's memory. Review the captured info at the end of the diagnostic procedure in order to catch the next DTC in the event there are multiple DTCs stored. Follow the order of priority as listed above.

  1. Compare actual control system data with the values in the Engine Scan Tool Data List to determine if any parameter is not within limits. Keep in mind that a base engine condition (i.e. advanced cam timing) may substantially alter sensor values. If the actual data does not correspond with the values in the Engine Scan Tool Data List, refer to the appropriate system/component diagnostic aids or test descriptions.

Step

Action

Value(s)

Yes

No

1

Important: 

   • Search for applicable service bulletins before proceeding with diagnosis.
   • Do not turn the ignition OFF when performing this diagnostic table.
   • Ensure the battery is fully charged before proceeding with this diagnostic.

  1. Connect a scan tool to the Data Link Connector (DLC).
  2. Turn ON the ignition leaving the engine OFF.

Does the scan tool power-up?

--

Go to Step 2

Go to Data Link Connector Diagnosis

2

Important: Save or capture the Freeze Frame and/or Failure Records information if the PCM displays data.

Does the scan tool display PCM data?

--

Go to Step 3

Go to Data Link Connector Diagnosis

3

Important: If the starter does not engage, refer to Starting System Check in Engine Electrical.

Monitor the Ignition 1 voltage using a scan tool while cranking the engine or while the engine is operating?

Is the Ignition 1 voltage near the specified voltage?

B+

Go to Step 4

Go to DTC P0562 System Voltage Low

4

Does the engine start and continue to run?

--

Go to Step 6

Go to Step 5

5

Is DTC P1626 stored?

--

Go to DTC P1626 Theft Deterrent Fuel Enable Signal Lost

Go to Engine Cranks but Does Not Run

6

Monitor the DTC information using a scan tool.

Are any DTCs displayed?

--

Go to the applicable DTC table

Go to Step 7

7

Compare the scan tool data with the values shown in the Engine Scan Tool Data List .

Are the values normal or within typical ranges?

--

Go to Symptoms

Go to Diagnostic Aids and Test Descriptions