GM Service Manual Online
For 1990-2009 cars only

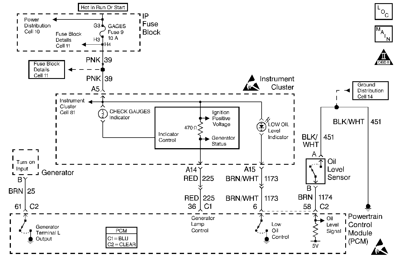
Object Number: 223198  Size: MF
Engine Controls Components
Gen Control, IAC, Check Gauges Lamp
OBD II Symbol Description Notice
Handling ESD Sensitive Parts Notice
Handling ESD Sensitive Parts Notice

Circuit Description

The PCM monitors system voltage on the PCM ignition feed circuit. If the system voltage is out of tolerance, DTC P0560 will be set. When the conditions that set DTC P0560 are present, operation of some vehicle systems and components may be affected.

Conditions for Setting the DTC

    • The engine is running.
    • System voltage monitored at the PCM ignition feed circuit is less than 10 volts or greater than 16 volts.
    • Above conditions must be present for longer than 25 seconds.

Action Taken When the DTC Sets

    • The PCM will not illuminate the Malfunction Indicator Lamp (MIL).
    • The PCM will store conditions which were present when the DTC set as Fail Records data only. This information will not be stored as Freeze Frame data.

Conditions for Clearing the MIL/DTC

    • A history DTC will clear after 40 consecutive warm-up cycles have occurred without a malfunction.
    • DTC can be cleared by using the scan tool Clear Information function or by disconnecting the PCM battery feed.

Diagnostic Aids

Check for the following conditions:

       Important:: Be sure to inspect PCM engine grounds for being secure and clean.

    • Poor connection at PCM - Inspect harness connectors for the following items:
       - Backed out terminals
       - Improper mating
       - Broken locks
       - Improperly formed or damaged terminals
       - Poor terminal to wire connections
    • Damaged harness - Inspect the wiring harness for damage.
    • If the harness appears to be OK, observe the Ignition 1 voltage display on the scan tool while moving connectors and wiring related to the PCM, dash harness, and engine harness. A change in the display will indicate the location of the fault.

Important: Charging with a battery charger while starting the engine can cause DTC P0560 to be set.

If DTC P0560 cannot be duplicated, review the Fail Records vehicle mileage since the diagnostic test last failed. This may help determine how often the condition that caused the DTC to be set occurs. For complete information and additional diagnostics for the vehicle charging system, refer to Charging System .

Test Description

The numbers below refer to the step numbers on the Diagnostic Table.

  1. This vehicle is equipped with a PCM which utilizes an electrically erasable programmable read only memory (EEPROM). When the PCM is being replaced, the new PCM must be programmed.

DTC P0560 - System Voltage

Step

Action

Values

Yes

No

1

Was the Powertrain On-Board Diagnostic System Check performed?

--

Go to Step 2

Go to the Powertrain On Board Diagnostic (OBD) System Check

2

Is DTC P1635 also set?

--

Go to DTC P1635 5 Volt Reference Circuit

Go to Step 3

3

  1. Start and run engine above 1000 RPM.
  2. Observe ignition 1 on the scan tool Eng. 2 data list.

Is ignition 1 voltage between the specified values?

10-16 V

Go to Step 4

Go to Step 5

4

  1. Review and record the scan tool Fail Records data.
  2. Clear the DTC P0560 and operate the vehicle to duplicate the Fail Records conditions.
  3. Using a scan tool, monitor Specific DTC info for DTC P0560 until the DTC P0560 test runs.

Note test result; Does the scan tool indicate DTC failed this ignition?

--

Go to Step 5

Go to Diagnostic Aids

5

  1. Install a J 39200 DMM between the battery terminals.
  2. Monitor the J 39200 DMM while running the engine above 1000 RPM.

Does DVM show battery voltage between the specified values?

10-16 V

Go to Step 6

Go to Step 7

6

  1. Load the electrical system by turning ON the headlamps and the HVAC high blower.
  2. Monitor the J 39200 DMM while running the engine above 2000 RPM.

Does the J 39200 DMM show battery voltage between the specified values?

10-16 V

Go to Step 8

Go to Step 7

7

  1. Turn OFF the ignition switch.
  2. Disconnect the generator electrical connector.
  3. Turn ON the ignition switch.
  4. Connect a J 39200 DMM to measure voltage between the generator control circuit at the generator harness connector and ground.
  5. Command the Gen. L Term. ON using the scan tool.

Does the J 39200 DMM display voltage greater than the specified value with the Gen. L Term. commanded ON?

4.7 V

Go to Step 12

Go to Step 10

8

Compare the ignition 1 voltage displayed on the scan tool with the actual battery voltage read with the J 39200 DMM.

Does the scan tool ignition 1 value closely match the actual value read with the J 39200 DMM?

--

Go to Diagnostic Aids

Go to Step 9

9

  1. Check the PCM ignition feed circuit for a poor connection between the ignition switch and the PCM. Refer to Wiring Repairs .
  2. If a problem is found, replace faulty terminals.

Was a problem found?

--

Go to Step 14

Go to Step 13

10

  1. Check the generator control circuit for an open or a short to ground between the PCM and the generator.
  2. If a problem is found, repair as necessary. Refer to Wiring Repairs .

Was a problem found?

--

Go to Step 14

Go to Step  11

11

  1. Check the generator control circuit for a poor terminal connection at the PCM.
  2. If a problem is found, repair as necessary. Refer to Wiring Repairs .

Was a problem found?

--

Go to Step 14

Go to Step 13

12

  1. Check the generator control circuit for a poor terminal connection at the generator.
  2. If a problem is found, repair as necessary. Refer to Wiring Repairs .

Was a problem found?

--

Go to Step 14

Go to Charging Systems Diagnosis

13

Important:: The replacement PCM must be programmed. Refer to Powertrain Control Module Replacement/Programming .

Replace the PCM.

Is the action complete?

--

Go to Step 14

--

14

  1. Start and run the engine above 1000 RPM.
  2. Observe ignition 1 on the scan tool Eng. 2 data list.

Is ignition 1 voltage between the specified values?

10-16 V

System OK

Go to Step 5