GM Service Manual Online
For 1990-2009 cars only

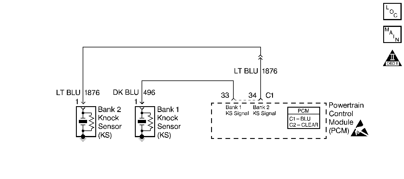
Object Number: 222073  Size: SF
Engine Controls Components
Ignition Control, Knock Sensors
OBD II Symbol Description Notice
Handling ESD Sensitive Parts Notice

Circuit Description

The PCM contains integrated Knock Sensor (KS) diagnostic circuitry. The PCM uses the circuitry to diagnose the KS sensors and related wiring. The PCM calculates an average voltage of each knock sensor's signals and takes instantaneous signal voltage readings. The PCM uses the instantaneous signal voltage readings to determine the state of the knock sensor circuitry. If the knock sensor system is operating normally, the PCM should monitor instantaneous KS signal voltage readings varying outside a voltage range above and below the calculated average voltage. If the PCM detects a Knock Sensor 1 signal voltage within the calculated average voltage range, DTC P0327 will set.

Conditions for Running the DTC

  1. No TP sensor, VSS, CKP sensor, CMP sensor, MAF sensor, or ECT sensor DTCs are set.
  2. Engine speed:
  3.  - Manual Transaxle - engine speed is between 1000 and 3000 RPM.
     - Automatic Transaxle - engine speed is between 1000 and 4000 RPM.
  4. Throttle angle:
  5.  - Manual Transaxle - Throttle angle is greater than 15%.
     - Automatic Transaxle - Throttle angle is greater than 3%.
  6. Engine load:
  7.  - Manual Transaxle - engine load is greater than 45%.
     - Automatic Transaxle - engine load is greater than 20%.
  8. Engine coolant temperature is greater than 75°C (167°F).
  9. Maximum spark retard is less than 15 degrees.
  10. System voltage is greater than 9 volts.

Conditions for Setting the DTC

    • The PCM detects a Knock Sensor 1 signal voltage within the calculated average voltage range.
    • The conditions are present for 300 3X reference periods (100 crankshaft revolutions).

Action Taken When the DTC Sets

    • The PCM will not illuminate the Malfunction Indicator Lamp (MIL).
    • The PCM will store conditions which were present when the DTC set as Fail Records data only. This information will not be stored as Freeze Frame data.
    • The PCM will use a calculated spark retard value to minimize knock during conditions when knock is likely to occur. The calculated value will vary based on engine speed and load.

Conditions for Clearing the MIL/DTC

    • A history DTC P0327 will clear after 40 consecutive warm-up cycles have occurred without a fault.
    • DTC P0327 can be cleared by using the scan tool Clear Info function or by disconnecting the PCM battery feed.

Diagnostic Aids

Check for the following conditions:

    • Poor connection at the PCM or Knock Sensor 1.
        Inspect knock sensor 1 and PCM connectors for backed out terminals, broken locks, and improperly formed or damaged terminals.
    • Misrouted harness.
        Inspect the knock sensor harness to ensure that it is not routed too close to high voltage wires such as spark plug leads.

Reviewing the Fail Records vehicle mileage since the diagnostic test last failed may help determine how often the condition that caused the DTC to be set occurs. This may assist in diagnosing the condition.

Test Description

Number(s) below refer to the step number(s) on the Diagnostic Table.

  1. Ensures that the malfunction is present.

  2. Checks for a false knock signal caused by a malfunctioning knock sensor.

  3. Ensures that the knock sensor is capable of producing a correct AC signal.

  4. This vehicle is equipped with a PCM which utilizes an Electrically Erasable Programmable Read Only Memory (EEPROM). When the PCM is being replaced, the new PCM must be programmed.

DTC P0327 - Knock Sensor 1 Circuit

Step

Action

Value(s)

Yes

No

1

Was the Powertrain On-Board Diagnostic (OBD) System Check performed?

--

Go to Step 2

Go to the Powertrain On Board Diagnostic (OBD) System Check

2

Important: If an engine knock can be heard, repair the engine mechanical problem before proceeding with this diagnostic. Refer to Engine Noise Diagnosis in Engine Mechanical.

  1. Operate the engine within conditions specified in Conditions for Setting the DTC.
  2. Using a scan tool, monitor Specific DTC info for DTC P0327 until the DTC P0327 test runs.

Does scan tool indicate DTC P0327 failed this ignition?

--

Go to Step 4

Go to Step 3

3

  1. Turn ON the ignition switch, engine not running.
  2. Review and record scan tool Fail Records data for DTC P0327.
  3. Operate vehicle within Fail Records conditions.
  4. Using a scan tool, monitor Specific DTC info for DTC P0327 until the DTC P0327 test runs.

Does the scan tool indicate DTC P0327 failed this ignition?

--

Go to Step 4

Go to Diagnostic Aids

4

  1. Turn ON the ignition switch, engine not running.
  2. Disconnect the bank 1 knock sensor electrical connector.
  3. Using a J 39200 DMM, measure voltage between the KS signal circuit at the bank 1 knock sensor and ground.

Does the J 39200 DMM indicate voltage at the specified value?

5V

Go to Step 5

Go to Step 8

5

  1. Connect the J 39200 DMM to measure voltage between the bank 1 knock sensor terminal and engine ground.
  2. Select 2 volts AC scale on the J 39200 DMM.
  3. Engine idling, observe the J 39200 DMM.

Is any signal indicated on the J 39200 DMM for the bank 1 knock sensor?

--

Go to Step 9

Go to Step 6

6

  1. Turn OFF the ignition switch.
  2. J 39200 DMM still connected to measure voltage between the the bank 1 knock sensor terminal and engine ground.
  3. Tap on the engine lift bracket while observing the J 39200 DMM.

Is any signal indicated on the J 39200 DMM while tapping on the engine lift bracket?

--

Go to Step 7

Go to Step 9

7

  1. Check the the bank 1 KS signal circuit for incorrect routing near secondary wires or for a poor terminal connection at the knock sensor.
  2. If a problem is found, repair as necessary.

Was a problem found?

--

Go to Step 12

Go to Step 10

8

  1. Turn OFF the ignition switch.
  2. Disconnect the PCM.
  3. Turn ON the ignition switch.
  4. Check the bank 1 KS signal circuit between the PCM and the knock sensor connectors for the following conditions:
  5. • An open.
    • A short to voltage.
    • A short to ground.
  6. If a problem is found, repair as necessary. Refer to Wiring Repairs .

Was a problem found?

--

Go to Step 12

Go to Step 10

9

Replace the bank 1 knock sensor. Refer to Knock Sensor Replacement .

Is action complete?

--

Go to Step 12

--

10

  1. Turn OFF the ignition switch.
  2. Disconnect the PCM.
  3. Check the Bank 1 KS signal circuit for a poor terminal connection at the PCM.
  4. If a problem is found, repair as necessary.

Was a problem found?

--

Go to Step 12

Go to Step 11

11

Important:: The replacement PCM must be programmed. Refer to Powertrain Control Module Replacement/Programming .

Replace the PCM.

Is action complete?

--

Go to Step 12

--

12

  1. Review and record Fail Records data
  2. Clear DTCs.
  3. Operate the vehicle within Fail Records conditions.
  4. Using a scan tool, monitor Specific DTC info for DTC P0327 until the DTC P0327 test runs.

Does the scan tool indicate DTC P0327 failed this ign?

--

Go to Step 2

System OK