GM Service Manual Online
For 1990-2009 cars only

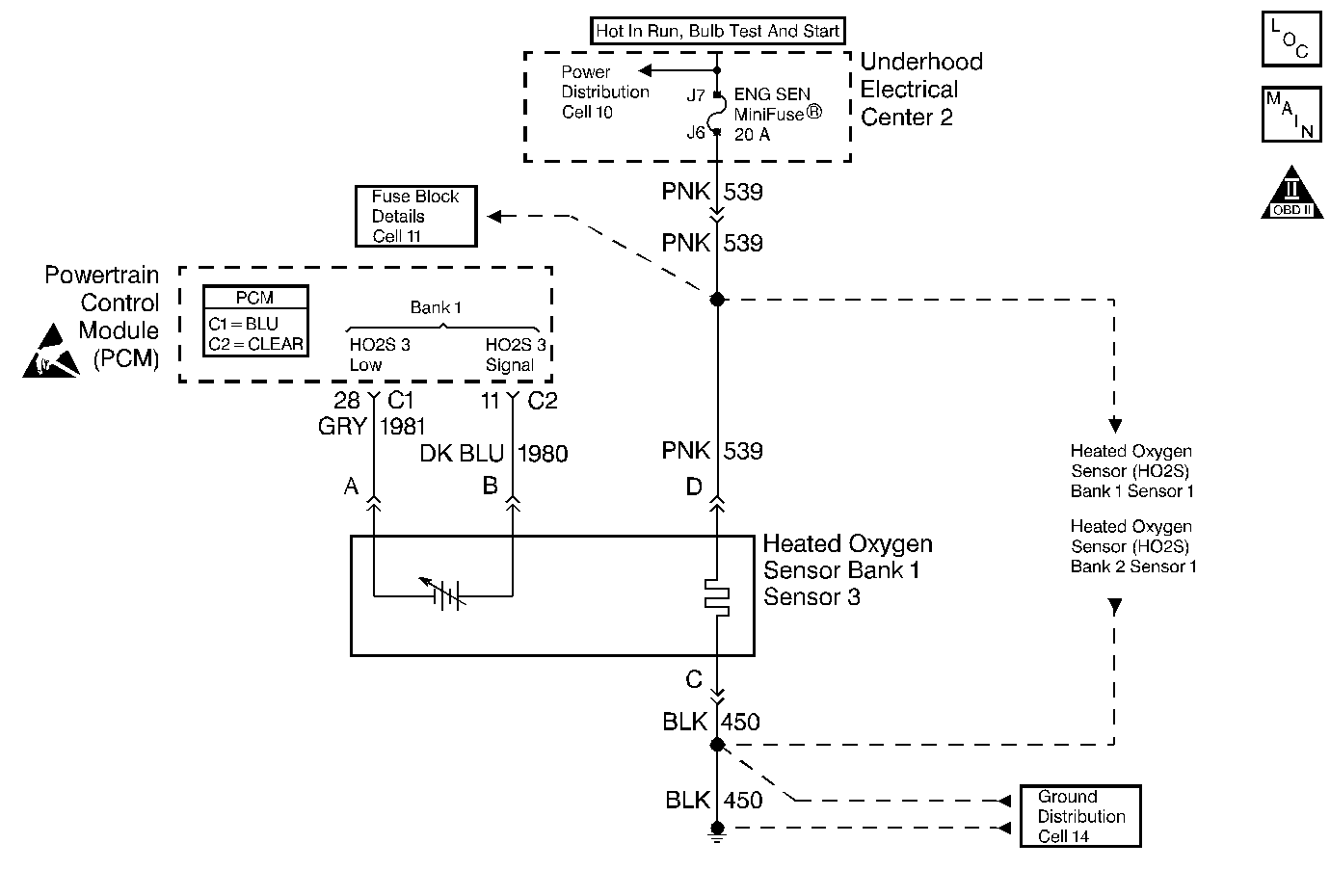
Object Number: 222057  Size: MF
Engine Controls Components
HO2S Sensors
OBD II Symbol Description Notice
Handling ESD Sensitive Parts Notice

Circuit Description

To control emissions of Hydrocarbons (HC), Carbon Monoxide (CO), and Oxides of Nitrogen (NOx), a three-way catalytic converter is used. The catalyst within the converter promotes a chemical reaction which oxidizes the HC and CO present in the exhaust gas, converting them into harmless water vapor and carbon dioxide. The catalyst also reduces NOx, converting it to nitrogen. The PCM has the ability to monitor this process using the Bank 1 HO2S 3 heated oxygen sensor. The Bank 1 HO2S 3 sensor produces an output signal which indicates the oxygen storage capacity of the catalyst; this in turn indicates the catalyst's ability to convert exhaust gases efficiently. If the Bank 1 HO2S 3 signal voltage remains excessively low for an extended period of time, DTC P0143 will be set.

Conditions for Setting the DTC

    • No TP sensor, EVAP system, EGR Pintle, misfire, IAT sensor, MAP sensor, fuel trim, fuel injector circuit, ECT sensor, CKP Sensor, or MAF sensor DTCs are present.
    • System voltage is greater than 9 volts.
    • Closed loop commanded air/fuel ratio is between 14.5 - 14.8.
    • Throttle angle is between 3% and 40%.
    • Bank 1 HO2S signal voltage remains below 10 mV during normal closed loop operation for longer than the specified time:
       -  Manual Transaxle - 3 minutes.
       -  Automatic Transaxle - 5 minutes.
       - OR
    • Bank 1 HO2S 3 signal voltage remains below 600 mV during power enrichment mode fuel control for longer than the specified time:
       -  Manual Transaxle - 90 seconds.
       -  Automatic Transaxle - 60 seconds.

Action Taken When the DTC Sets

    • The PCM will illuminate the MIL during the second consecutive trip in which the diagnostic test has been run and failed.
    • The PCM will store conditions which were present when the DTC set as Freeze Frame and Fail Records data.

Conditions for Clearing the MIL/DTC

    • The PCM will turn the MIL OFF during the third consecutive trip in which the diagnostic has been run and passed.
    • The history DTC will clear after 40 consecutive warm-up cycles have occurred without a malfunction.
    • The DTC can be cleared by using the scan tool Clear Info function or by disconnecting the PCM battery feed.

Diagnostic Aids

Check for the following conditions:

    • Damaged HO2S wiring - The sensor pigtail may be mispositioned and contacting the exhaust system.
    • Poor PCM to engine grounds
    • Fuel pressure low - A condition which causes a lean exhaust can cause DTC P0143 to set. The system will go lean if pressure is too low. The PCM can compensate for some decrease. However, if fuel pressure is too low, a DTC P0143 may be set. Refer to Fuel System Diagnosis .
    • Fuel injector(s) faulty - Refer to Fuel Injector Balance Test .
    • Vacuum leaks - Check for disconnected or damaged vacuum hoses and for vacuum leaks at the intake manifold, throttle body, EGR system, and crankcase ventilation system.
    • Exhaust leaks - An exhaust leak may cause outside air to be pulled into the exhaust gas stream past the HO2S, causing the DTC P0143 to set. Check for exhaust leaks near the HO2S Bank 1 Sensor 1 and HO2S Bank 2 Sensor 1.
    • MAF sensor faulty - Disconnect the MAF sensor and see if the condition is corrected. If so, replace MAF sensor.
    • Fuel contamination - Water, even in small amounts, can be delivered to the fuel injectors. The water can cause a lean exhaust to be indicated. Excessive alcohol in the fuel can also cause this condition. Refer to Fuel System Diagnosis for procedure to check for fuel contamination.

Test Description

Number(s) below refer to the step number(s) on the Diagnostic Table:

  1. DTC P0143 being set during power enrichment mode conditions may indicate a condition described in the Diagnostic Aids above. If the DTC P0143 test passes while the Fail Records conditions are being duplicated, an intermittent condition is indicated. Review the Fail Records vehicle mileage since the diagnostic test last failed. This may help determine how often the condition that caused the DTC to be set occurs.

  2. This vehicle is equipped with a PCM which utilizes an Electrically Erasable Programmable Read Only Memory (EEPROM). When the PCM is being replaced, the new PCM must be programmed.

DTC P0143 - HO2S Circuit Low Voltage Bank 1 Sensor 3

Step

Action

Value(s)

Yes

No

1

Was the Powertrain On-Board Diagnostic (OBD) System Check performed?

--

Go to Step 2

Go to the Powertrain On Board Diagnostic (OBD) System Check

2

  1. Install scan tool
  2. Engine at operating temperature
  3. Operate vehicle within parameters specified under DTC Will Set When criteria included in Diagnostic Support.
  4. Using a scan tool, monitor Bank 1 HO2S 3 voltage.

Does the Bank 1 HO2S 3 voltage remain below the specified value?

75 mV

Go to Step 4

Go to Step 3

3

  1. Turn ON the ignition switch.
  2. Review and record scan tool Fail Records data and note parameters.
  3. Operate vehicle within Fail Records conditions as noted.
  4. Using a scan tool, monitor Specific DTC info for DTC P0143 until the DTC P0143 test runs.

Does the scan tool indicate DTC P0143 failed this ignition?

--

Go to Step 4

Go to Diagnostic Aids

4

Disconnect Bank 1 HO2S 3 and jumper the Bank 1 HO2S 3 low circuit (PCM side) to ground.

Does scan tool indicate Bank 1 HO2S 3 voltage near the specified value?

450 mV

Go to Diagnostic Aids

Go to Step 5

5

  1. Turn OFF the ignition switch.
  2. Disconnect the PCM.
  3. Check the Bank 1 HO2S 3 signal circuit for a short to ground or a short to the sensor ground circuit.

Is the Bank 1 HO2S 3 signal circuit shorted?

--

Go to Step 6

Go to Step 7

6

Repair the Bank 1 HO2S 3 signal circuit. Refer to Wiring Repairs .

Is the action complete?

--

Go to Step 8

--

7

Replace the PCM.

Important: Replacement PCM must be programmed. Refer to Powertrain Control Module Replacement/Programming .

Is the action complete?

--

Go to Step 8

--

8

  1. Turn ON the ignition switch.
  2. Review and record scan tool Fail Records data.
  3. Clear DTCs
  4. Operate vehicle within Fail Records conditions as noted.
  5. Using a scan tool, monitor Specific DTC info for DTC P0143 until the DTC P0143 test runs.

Does the scan tool indicate DTC P0143 failed this ignition?

--

Go to Step 2

System OK