GM Service Manual Online
For 1990-2009 cars only

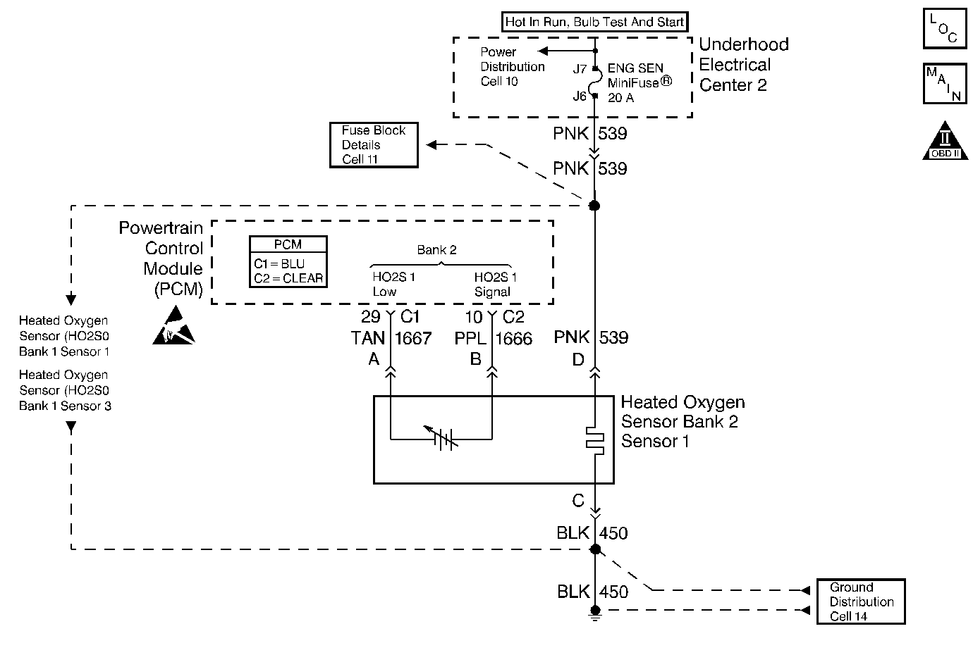
Object Number: 226749  Size: MF
Engine Controls Components
HO2S Sensors
OBD II Symbol Description Notice
Handling ESD Sensitive Parts Notice

Circuit Description

The PCM supplies a bias voltage of about 450 mV between the HO2S signal and low circuits. When measured with a 10 megohm digital voltmeter, this may display as low as 320 mV. The oxygen sensor varies the voltage within a range of about 1000 mV when the exhaust is rich, down through about 10 mV when exhaust is lean. The PCM constantly monitors the HO2S signal during closed loop operation and compensates for a rich or lean condition by decreasing or increasing injector pulse width as necessary. If the Bank 2 HO2S 1 voltage remains at or near the 450 mV bias for an extended period of time, DTC P0154 will be set, indicating an open sensor signal or sensor low circuit.

Conditions for Setting the DTC

    • No TP sensor, EVAP system, EGR Pintle, misfire, IAT sensor, MAP sensor, fuel trim, fuel injector circuit, ECT sensor, or MAF sensor DTCs are set.
    • System voltage is greater than 9 volts.
    •  The following engine run time requirements are met:
       -  Manual Transaxle - 4 minutes.
       -  Automatic Transaxle - 3 minutes.
       - Bank 2 HO2S 1 signal voltage remains between 400 mV and 500 mV for longer than 2.5 minutes.

Action Taken When the DTC Sets

    • The PCM will illuminate the MIL during the second consecutive trip in which the diagnostic test has been run and failed.
    • The PCM will store conditions which were present when the DTC set as Freeze Frame and Fail Records data.

Conditions for Clearing the MIL/DTC

    • The PCM will turn the MIL OFF during the third consecutive trip in which the diagnostic has been run and passed.
    • The history DTC will clear after 40 consecutive warm-up cycles have occurred without a malfunction.
    • The DTC can be cleared by using the scan tool Clear Information function or by disconnecting the PCM battery feed.

Diagnostic Aids

Check for the following conditions:

    • Poor connection at the PCM - Inspect harness connectors for the following conditions:
       - Backed out terminals.
       - Improper mating.
       - Broken locks.
       - Improperly formed or damaged terminals.
       - Poor terminal to wire connection.
    • Damaged harness - Inspect the wiring harness for damage.
    • Faulty HO2S heater or heater circuit - With the ignition ON the HO2S voltage displayed on a scan tool should gradually drop to below 300 mV or rise to above 600 mV. If not, disconnect the HO2S and connect a J 35616-200 test lamp between the HO2S ignition feed and heater ground circuits. If the J 35616-200 test lamp does not light, repair the open ignition feed or sensor ground circuit as necessary. Refer to Heated Oxygen Sensor Replacement . If the J 35616-200 test lamp lights and the HO2S signal and low circuits are OK, replace the HO2S. Refer to Heated Oxygen Sensor Replacement
    • Intermittent test - With the ignition ON, monitor the HO2S signal voltage while moving the wiring harness and related connectors. If the fault is induced, the HO2S signal voltage will change. This may help isolate the location of the malfunction.

Test Description

Number(s) below refer to the step number(s) on the Diagnostic Table:

  1. If the DTC P0154 test passes while the Fail Records conditions are being duplicated, an intermittent condition is indicated. Reviewing the Fail Records vehicle mileage since the diagnostic test last failed. This may help determine how often the condition that caused the DTC to be set occurs.

  2. This vehicle is equipped with a PCM which utilizes an Electrically Erasable Programmable Read Only Memory (EEPROM). When the PCM is being replaced, the new PCM must be programmed.

DTC P0154 - HO2S Insufficient Activity Bank 2 Sensor 1

Step

Action

Value(s)

Yes

No

1

Was the Powertrain On-Board Diagnostic (OBD) System Check performed?

--

Go to Step 2

Go to the Powertrain On Board Diagnostic (OBD) System Check

2

  1. Install scan tool
  2. Engine at operating temperature
  3. Operate engine above 1200 RPM for two minutes.

Does the scan tool indicate HO2S Bank 2 Sensor 1 voltage varying outside the specified values?

400-500 mV

Go to Step 3

Go to Step 4

3

  1. Turn ON the ignition switch.
  2. Review and record scan tool Fail Records data and note parameters.
  3. Operate vehicle within Fail Records conditions as noted.
  4. Using a scan tool, monitor Specific DTC info for DTC P0154 until the DTC P0154 test runs.
  5. Note test result.

Does the scan tool indicate DTC P0154 failed this ignition?

--

Go to Step 4

Go to Diagnostic Aids

4

  1. Turn ON the ignition switch.
  2. Disconnect HO2S Bank 2 Sensor 1.
  3. Jumper the HO2S Bank 2 Sensor 1 low and signal circuits (PCM side) to ground.
  4. Using a scan tool, monitor HO2S Bank 2 Sensor 1 voltage.

Is HO2S Bank 2 Sensor 1 voltage below the specified value?

150 mV

Go to Step 8

Go to Step 5

5

  1. Remove the jumper wire from the HO2S Bank 2 Sensor 1 (leave the HO2S Bank 2 Sensor 1 low circuit connected to ground).
  2. Using a J 39200 DMM, measure voltage between the HO2S Bank 2 Sensor 1 signal circuit (PCM side) and the heater ground circuit

Does HO2S Bank 2 Sensor 1 voltage measure near the specified value?

450 mV

Go to Step 6

Go to Step 7

6

  1. Turn OFF the ignition switch.
  2. Disconnect the PCM.
  3. Check continuity of the HO2S Bank 2 Sensor 1 low circuit.
  4. If the HO2S Bank 2 Sensor 1 low circuit measures over 5 ohms, repair open or poor connection as necessary. Refer to Wiring Repairs .

Was a HO2S Bank 2 Sensor 1 low circuit problem found and corrected?

--

Go to Step 13

Go to Step 9

7

  1. Turn OFF the ignition switch.
  2. Disconnect the PCM.
  3. Check continuity of the HO2S Bank 2 Sensor 1 signal circuit and the HO2S Bank 2 Sensor 1 low circuit.
  4. If the HO2S Bank 2 Sensor 1 signal or low circuit measures over 5 ohms, repair open or poor connection as necessary. Refer to Wiring Repairs .

Was a problem found?

--

Go to Step 13

Go to Step 10

8

  1. Check for a poor HO2S Bank 2 Sensor 1 signal or low circuit terminal connection at the HO2S Bank 2 Sensor 1 harness connector.
  2. If a problem is found, replace terminal(s) as necessary. Refer to Wiring Repairs .

Was a problem found?

--

Go to Step 13

Go to Step 11

9

  1. Check for poor HO2S Bank 2 Sensor 1 low circuit terminal connection at the PCM.
  2. and replace terminal if necessary. Refer to Heated Oxygen Sensor Replacement .

Was a problem found?

--

Go to Step 13

Go to Step 12

10

  1. Check for poor HO2S Bank 2 Sensor 1 signal circuit terminal connection at the PCM.
  2. If a problem is found, replace terminal(s) as necessary. Refer to Wiring Repairs .

Was a problem found?

--

Go to Step 13

Go to Step 12

11

Replace HO2S Bank 2 Sensor 1. Refer to Heated Oxygen Sensor Replacement .

Is the action complete?

--

Go to Step 13

--

12

Replace the PCM.

Important: Replacement PCM must be programmed. Refer to Powertrain Control Module Replacement/Programming .

Is the action complete?

--

Go to Step 13

--

13

  1. Turn ON the ignition switch.
  2. Review and record scan tool Fail Records data.
  3. Clear DTCs
  4. Operate vehicle within Fail Records conditions as noted.
  5. Using a scan tool, monitor Specific DTC info for DTC P0154 until the DTC P0154 test runs.

Does scan tool indicate DTC failed this ignition?

--

Go to Step 2

System OK