GM Service Manual Online
For 1990-2009 cars only

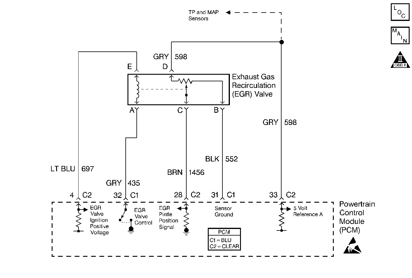
Object Number: 222140  Size: MF
Engine Controls Components
MAF Sensor, EVAP System, EGR Valve
OBD II Symbol Description Notice
Handling ESD Sensitive Parts Notice

Circuit Description

The PCM monitors the EGR valve pintle position input to ensure that the valve responds properly to commands from the PCM. The Linear EGR valve is controlled by using an ignition positive driver and ground circuit within the PCM. The driver has the ability to detect an electrical malfunction in the ignition positive or ground circuit. If an electrical malfunction occurs, the driver signals the PCM to set DTC P0403.

Conditions for Running the DTC

    • No TP, VSS, Misfire, IAT, MAP, Idle Speed, Fuel Injector, ECT, CKP, or MAF sensor DTCs are set.
    • System voltage is between 9 volts and 16 volts.

Conditions for Setting the DTC

    • The PCM detects an electrical malfunction in the control circuit for the EGR valve.
    • The above condition is present for longer than 20 seconds.

Action Taken When the DTC Sets

    • The PCM will illuminate the MIL during the second consecutive trip in which the diagnostic test has been run and failed.
    • The PCM will disable EGR for the ignition cycle.
    • The PCM will store conditions which were present when the DTC set as Freeze Frame and Fail Records data.

Conditions for Clearing the MIL/DTC

    • The PCM will turn the MIL OFF during the third consecutive trip in which the diagnostic has been run and passed.
    • The history DTC will clear after 40 consecutive warm-up cycles have occurred without a malfunction.
    • The DTC can be cleared by using the scan tool Clear Info function or by disconnecting the PCM battery feed.

Diagnostic Aids

    • Poor connection at PCM or EGR Valve.
        Inspect harness connectors for backed out terminals, improper mating, broken locks, improperly formed or damaged terminals, and poor terminal to wore connection.
    • Damaged harness.
        Inspect the wiring harness for damage. If the harness appears to be OK, connect J 39200 DMM and check circuit continuity while moving connectors and wiring harnesses related to the EGR valve. A change in the display will indicate the location of the malfunction.

Test Description

Number(s) below refer to the step number(s) on the Diagnostic Table:

  1. Verifies that the malfunction is present.

  2. If DTC P0403 will only set under certain conditions, the malfunction may be intermittent; refer to Diagnostic Aids. If an intermittent wiring problem is not present, check for a poor connection at the PCM or the EGR valve.

  3. This vehicle is equipped with a PCM which utilizes an Electrically Erasable Programmable Read Only Memory (EEPROM). When the PCM is being replaced, the new PCM must be programmed.

DTC P0403 - EGR Solenoid Control Circuit

Step

Action

Value(s)

Yes

No

1

Was the Powertrain On-Board Diagnostic (OBD) System Check performed?

--

Go to Step 2

Go to the Powertrain On Board Diagnostic (OBD) System Check

2

With the engine idling, observe Actual EGR Position on the scan tool.

Is Actual EGR Position at the specified value?

0%

Go to Step 3

Go to Step 9

3

  1. Turn ON the ignition switch, engine not running.
  2. Select the scan tool EGR valve output control function.
  3. Increment the EGR valve through all positions while comparing Desired EGR Position to Actual EGR Position.

Does Desired EGR Position remain close to Actual EGR Position at all commanded positions?

--

Go to Step 4

Go to Step 5

4

  1. Review and record scan tool Fail Records data.
  2. Operate the vehicle within Fail Records conditions.
  3. Using a scan tool, monitor Specific DTC info for DTC P0403 until the DTC P0403 test runs.

Does the scan tool indicate DTC P0403 failed this ignition?

--

Go to Step 5

Go to Diagnostic Aids

5

  1. Disconnect the EGR valve electrical connector.
  2. Connect a J 35616-200 test lamp between the EGR valve ground circuit and the EGR valve control circuit at the EGR valve harness connector.
  3. Command the EGR valve to the 100% position with the scan tool while observing the J 35616-200 test lamp.

Is the J 35616-200 test lamp ON with the commanded EGR valve position at 100%?

--

Go to Step 10

Go to Step 6

6

Probe the EGR valve ground circuit at the EGR valve harness connector with a J 35616-200 test lamp to B+.

Is the test lamp ON?

--

Go to Step 7

Go to Step 14

7

Probe the EGR valve control circuit at the EGR valve harness connector with a J 35616-200 test lamp to B+.

Is the test lamp ON?

--

Go to Step 13

Go to Step 8

8

  1. Turn OFF the ignition switch.
  2. Disconnect the PCM.
  3. Check the EGR valve control circuit for an open.
  4. If a problem is found, repair as necessary. Refer to Wiring Repairs .

Was a problem found?

--

Go to Step 21

Go to Step 19

9

  1. Turn OFF the ignition switch.
  2. Disconnect the PCM.
  3. Turn ON the ignition switch.
  4. Probe the EGR valve control circuit with a J 35616-200 test lamp to ground.

Is the test lamp ON?

--

Go to Step 12

Go to Step 20

10

  1. Check for poor terminal connections at the EGR valve.
  2. If a problem is found, repair as necessary. Refer to Wiring Repairs .

Was a problem found?

--

Go to Step 21

Go to Step 11

11

Replace the EGR valve. Refer to Exhaust Gas Recirculation Valve Replacement .

Is action complete?

--

Go to Step 21

--

12

Locate and repair the short to voltage in the EGR valve control circuit. Refer to Wiring Repairs .

Is action complete?

--

Go to Step 21

--

13

  1. Turn OFF the ignition switch.
  2. Disconnect the PCM.
  3. Probe the EGR valve control circuit at the EGR valve harness connector with a J 35616-200 test lamp to B+.

Is the test lamp ON?

--

Go to Step 18

Go to Step 17

14

  1. Turn OFF the ignition switch.
  2. Disconnect the PCM.
  3. Turn ON the ignition switch.
  4. Probe the EGR valve ground circuit at the EGR valve harness connector with a J 35616-200 test lamp to ground.

Is the test lamp ON?

--

Go to Step 16

Go to Step 15

15

  1. Check the EGR valve ground circuit for an open.
  2. If a problem is found, repair as necessary. Refer to Wiring Repairs .

Was a problem found?

--

Go to Step 21

Go to Step 20

16

Locate and repair the short to voltage in the EGR valve ground circuit. Refer to Wiring Repairs .

Is action complete?

--

Go to Step 21

--

17

Check for the following conditions:

  1. The EGR valve control circuit shorted to the EGR valve ground circuit.
  2. The EGR valve control circuit shorted to the EGR pintle position sensor ground circuit.
  3. If a problem is found, repair as necessary. Refer to Wiring Repairs .

Was a problem found?

--

Go to Step 21

Go to Step 20

18

Locate and repair the short to ground in the EGR valve control circuit. Refer to Wiring Repairs .

Is action complete?

--

Go to Step 21

--

19

  1. Check the circuits related to the EGR valve for poor terminal connections at the PCM.
  2. If a problem is found, repair as necessary. Refer to Wiring Repairs .

Was a problem found?

--

Go to Step 21

Go to Step 20

20

Important:: The replacement PCM must be programmed. Refer to Powertrain Control Module Replacement/Programming .

Replace the PCM.

Is action complete?

--

Go to Step 21

--

21

  1. Review and record scan tool Fail Records data.
  2. Clear DTCs.
  3. Operate the vehicle within Fail Records conditions.
  4. Using a scan tool, monitor Specific DTC info for DTC P0403 until the DTC P0403 test runs.

Does the scan tool indicate DTC P0403 failed this ignition?

--

Go to Step 2

System OK