GM Service Manual Online
For 1990-2009 cars only

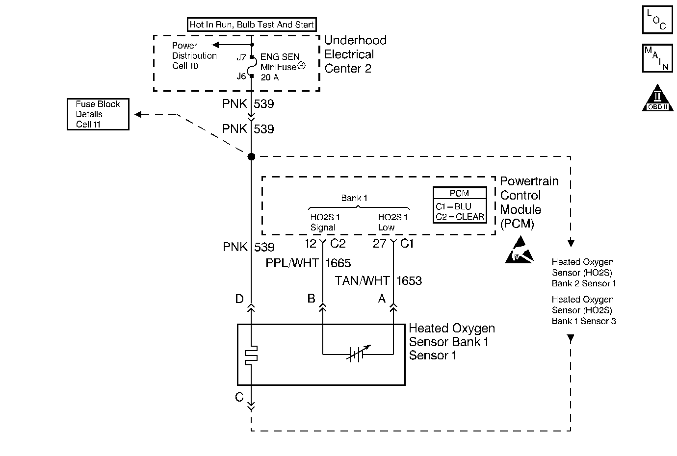
Object Number: 221847  Size: MF
Engine Controls Components
HO2S Sensors
OBD II Symbol Description Notice
Handling ESD Sensitive Parts Notice

Circuit Description

The PCM monitors the Heated Oxygen Sensor (HO2S) activity. The PCM counts the number of times that the HO2S signal voltage crosses the rich to lean and lean to rich thresholds during a 100 second test period. If the PCM determines that the HO2S did not switch enough times, DTC P1133 will be set. A lean to rich switch is determined when the HO2S voltage changes from less than 300 mV to greater than 600 mV. A rich to lean switch is determined when the HO2S voltage changes from more than 600 mV to less than 300 mV.

Conditions for Setting the DTC

    • No TP sensor, EVAP system, misfire, IAT sensor, MAP sensor, Fuel Trim, Fuel Injector, EGR Pintle, ECT sensor, CKP sensor, or MAF sensor DTCs are set.
    • The engine has been running at least 1 minute.
    • Engine speed is between 1000 RPM and 3000 RPM.
    • Mass Air Flow: is between 15 gm/s and 30 gm/s.
       - Manual Transaxle - MAF is between 10 and 30 g/s.
       - Automatic Transaxle - MAF is between 15 and 29 g/s.
    • Engine Temperature is greater than 50°C (122°F).
    • The conditions are present for a 100 second test period.
    • Bank 1 HO2S 1 Switches:
       - Manual Transaxle - The PCM monitors fewer than 40 lean to rich and rich to lean switches for Bank 1 HO2S 1.
       - Automatic Transaxle - The PCM monitors fewer than 45 lean to rich and 40 rich to lean switches for Bank 1 HO2S 1.

Action Taken When the DTC Sets

    • The PCM will illuminate the MIL during the second key cycle in which the DTC sets.
    • Open Loop fuel control will be in effect.
    • The PCM will store conditions which were present when the DTC set as Freeze Frame and Fail Records data.

Conditions for Clearing the MIL/DTC

    • The PCM will turn the MIL OFF on the third consecutive trip cycle during which the diagnostic has been run and the fault condition is no longer present.
    • A history DTC P1133 will clear after 40 consecutive warm-up cycles have occurred without a fault.
    • DTC P1133 can be cleared by using the scan tool Clear Information function or by disconnecting the PCM battery feed.

Diagnostic Aids

A malfunction in the HO2S heater ignition feed or ground circuit may cause a DTC P1133 to set. Check HO2S heater circuitry for intermittent faults or poor connections. If connections and wiring are OK and DTC P1133 continues to set, replace the Bank 1 HO2S 1. Review the Fail Records vehicle mileage since the diagnostic test last failed. This may help determine how often the condition that caused the DTC to be set occurs.

Test Description

Number(s) below refer to the step number(s) on the Diagnostic Table:

  1. A condition that affects other heated oxygen sensors indicates probable contamination. To avoid damaging replacement sensors, correct the condition which caused the contamination before replacing the affected sensors.

  2. This step checks for conditions which may cause the heated oxygen sensor to appear faulty. Correct any of the described conditions if present.

  3. To avoid damaging replacement sensors, correct the condition which caused the contamination before replacing the affected sensors.

DTC P1133 - HO2S Insufficient Switching Bank 1 Sensor 1

Step

Action

Value(s)

Yes

No

1

Was the Powertrain On-Board Diagnostic (OBD) System Check performed?

--

Go to Step 2

Go to the Powertrain On Board Diagnostic (OBD) System Check

2

Important: If any DTCs are set (except P1153, P1154, P1155, and/or P1156), refer to those DTCs before proceeding with this diagnostic chart.

  1. Engine idling at operating temperature.
  2. Operate vehicle within parameters specified under Conditions for Setting the DTC criteria included in Diagnostic Support.
  3. Using a scan tool, monitor Specific DTC info for DTC P1133 until the DTC P1133 test runs.

Does scan tool indicate DTC failed this ignition?

--

Go to Step 3

Go to Diagnostic Aids

3

Did scan tool also indicate P1153, P1154, P1155, and/or P1156 test failed?

--

Go to Step 8

Go to Step 4

4

  1. Perform the Exhaust System Leak Test. Refer to Exhaust Leakage . After Exhaust System Leak Test has been performed, return to this diagnostic.
  2. If an exhaust leak is found, repair as necessary.

Was an exhaust leak isolated?

--

Go to Step 2

Go to Step 5

5

Visually/physically inspect the following items:

    • Ensure that the Bank 1 HO2S 1 is securely installed.
    • Check for corrosion on terminals.
    • Check terminal tension (at Bank 1 HO2S 1 and at the PCM).
    • Check for damaged wiring.

Was a problem found in any of the above areas?

--

Go to Step 9

Go to Step 6

6

  1. Disconnect Bank 1 HO2S 1 and jumper HO2S low (PCM side) signal circuit to ground.
  2. Using a scan tool, monitor Bank 1 HO2S 1 voltage

Does the scan tool indicate voltage near the specified value?

450 mV

Go to Step 7

Go to Step 10

7

  1. Jumper Bank 1 HO2S 1 high and low (PCM side) signal circuits to ground.
  2. Using a scan tool, monitor Bank 1 HO2S 1 voltage.

Does scan tool indicate voltage below specified value?

300 mV

Go to Step 12

Go to Step 11

8

Replace affected Heated Oxygen Sensors. Refer to Heated Oxygen Sensor Replacement .

Important: Before you replace Heated Oxygen Sensors, the cause of the contamination must be determined and corrected.

    • Fuel contamination
    • Use of improper RTV sealant
    • Engine oil/coolant consumption

Is the action complete?

--

Go to Step 13

--

9

Repair condition as necessary.

Is the action complete?

--

Go to Step 13

--

10

Repair an open Bank 1 HO2S 1 low signal circuit or a grounded Bank 1 HO2S 1 high signal circuit. Refer to Heated Oxygen Sensor Replacement .

Is the action complete?

--

Go to Step 13

--

11

Repair an open Bank 1 HO2S 1 high signal circuit or faulty PCM connections. Refer to Heated Oxygen Sensor Replacement .

Is the action complete?

--

Go to Step 13

--

12

Replace Bank 1 HO2S 1. Refer to Heated Oxygen Sensor Replacement .

Is the action complete?

--

Go to Step 13

--

13

  1. Clear DTCs.
  2. Engine idling at operating temperature
  3. Operate vehicle within parameters specified under Conditions for Setting the DTC criteria included in Diagnostic Support.
  4. Using a scan tool, monitor Specific DTC info for DTC P1133 until the DTC P1133 test runs.

Does scan tool indicate DTC failed this ignition?

--

Go to Step 2

System OK