GM Service Manual Online
For 1990-2009 cars only

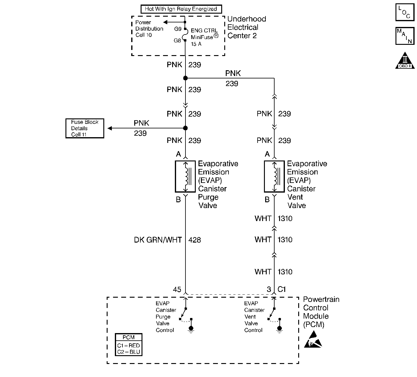
Object Number: 218692  Size: LF
Engine Controls Components
EVAP and EGR
OBD II Symbol Description Notice
Handling ESD Sensitive Parts Notice

Circuit Description

An ignition voltage is supplied directly to the EVAP solenoid relay coil. The PCM controls the solenoid by grounding the control circuit via an internal switch called a driver. The primary function of the driver is to supply the ground for the controlled component. Each driver has a fault line which the PCM monitors. The voltage of the control circuit should be low (near 0 volts) when the PCM commands a component ON. The voltage potential of the circuit should be high (near the battery voltage) when the PCM commands the control circuit to a component OFF. If the fault detection circuit senses a voltage other than what the PCM is expects, the fault line status changes causing the DTC to set.

Conditions for Running the DTC

    • The engine speed is greater than 600 RPM.
    • The ignition voltage is between 6.0 volts and 16.0 volts.

Conditions for Setting the DTC

    • The PCM detects that the commanded state of the driver and the actual state of the control circuit do not match.
    • The conditions are present for a minimum of 10.0 seconds.

Action Taken When the DTC Sets

    • The PCM illuminates the malfunction indicator lamp (MIL) on the second consecutive ignition cycle that the diagnostic runs and fails.
    • The PCM records the operating conditions at the time the diagnostic fails. The first time the diagnostic fails, the PCM stores this information in the Failure Records. If the diagnostic reports a failure on the second consecutive ignition cycle, the PCM records the operating conditions at the time of the failure. The PCM writes the conditions to the Freeze Frame and updates the Failure Records.

Conditions for Clearing the MIL/DTC

    • The PCM turns OFF the malfunction indicator lamp (MIL) after 3 consecutive ignition cycles that the diagnostic runs and does not fail.
    • A last test failed, or current DTC, clears when the diagnostic runs and does not fail.
    • A history DTC clears after 40 consecutive warm-up cycles, if no failures are reported by this or any other emission related diagnostic.
    • Use a scan tool in order to clear the MIL and the DTC.

Diagnostic Aids

Using Freeze Frame and/or Failure Records data may aid in locating an intermittent condition. If you cannot duplicate the DTC, the information included in the Freeze Frame and/or Failure Records data can aid in determining how many miles since the DTC set. The Fail Counter and Pass Counter can also aid determining how many ignition cycles the diagnostic reported a pass and/or a fail. Operate the vehicle within the same freeze frame conditions (RPM, load, vehicle speed, temperature etc.) that you observed. This will isolate when the DTC failed.

For an intermittent, refer to Symptoms .

Test Description

The numbers below refer to the step numbers on the diagnostic table.

  1. Important: The ignition must be in the on position in order to command the EVAP Purge Solenoid Valve to a desired percentage.

    Listen for audible clicks when the solenoid operates. Repeat the command as necessary.

  2. This test can detect a partially shorted coil which would cause excessive current flow. Leaving the circuit energized for 2 minutes allows the coil to warm up. When warm the coil may open (Amps drop to 0), or short (goes above 0.75 Amp).

  3. Listen for an audible click as the solenoid operates. Repeat the procedure as necessary.

  4. If no trouble is found in the control circuit or the connection at the PCM, the PCM may be faulty, however, this is an extremely unlikely failure.

Step

Action

Value(s)

Yes

No

1

Did you perform the Powertrain On-Board Diagnostic (OBD) System Check?

--

Go to Step 2

Go to Powertrain On Board Diagnostic (OBD) System Check

2

  1. Idle the engine at the normal operating temperature.
  2. Command the solenoid to 50 percent using the scan tool.

Does the solenoid operate when commanded?

--

Go to Step 3

Go to Step 5

3

  1. Turn OFF the ignition.
  2. Disconnect the PCM connector C1 located on the opposite side of the manufacturers logo. Refer to Powertrain Control Module Replacement/Programming .
  3. Turn ON the ignition leaving the engine OFF.
  4. Important: If the DMM goes to 0 Amps replace the solenoid.

  5. Measure the current from the solenoid control circuit in the PCM harness connector to ground for 2 minutes using the DMM J 39200 on the 40 Amp scale.

Does the current draw measure less than the specified value shown but not 0?

0.75 A

Go to Diagnostic Aids

Go to Step 4

4

  1. Turn OFF the ignition.
  2. Disconnect the solenoid.
  3. Measure the resistance from the solenoid control circuit in the PCM harness connector to ground using the DMM J 39200 .

Does the DMM display infinite resistance?

--

Go to Step 12

Go to Step 10

5

  1. Turn OFF the ignition.
  2. Disconnect the solenoid.
  3. Connect the test lamp J 35616-200 between the terminals in the solenoid harness connector.
  4. Idle the engine at the normal operating temperature.
  5. Command the solenoid to 10 percent using the scan tool.

Does the test lamp flash ON and OFF?

--

Go to Step 8

Go to Step 6

6

With the test lamp connected to ground, probe the ignition feed circuit in the solenoid harness connector.

Is the test lamp illuminated?

--

Go to Step 7

Go to Step 11

7

  1. Turn OFF the ignition.
  2. Reconnect the solenoid.
  3. Disconnect the PCM connector C1 located on the opposite side of the manufacturers logo. Refer to Powertrain Control Module Replacement/Programming .
  4. Turn ON the ignition leaving the engine OFF.
  5. With a fused jumper wire connected to ground, probe the solenoid control circuit in the PCM harness connector. Refer to Using Fused Jumper Wires in Wiring Systems.

Does the solenoid turn ON when the circuit is grounded and OFF when the circuit is opened?

--

Go to Step 9

Go to Step 10

8

  1. Inspect for a poor connection at the solenoid. Refer to Intermittents and Poor Connections Diagnosis in Wiring Systems.
  2. If you find a poor connection, repair as necessary. Refer to Repairing Connector Terminals in Wiring Systems.

Did you find and correct the condition?

--

Go to Step 14

Go to Step 12

9

  1. Inspect for a poor connection at the PCM. Refer to Intermittents and Poor Connections Diagnosis in Wiring Systems.
  2. If you find a poor connection, repair as necessary. Refer to Repairing Connector Terminals in Wiring Systems.

Did you find and correct the condition?

--

Go to Step 14

Go to Step 13

10

Repair the faulty solenoid control circuit. Refer to Wiring Repairs in Wiring Systems.

Is the action complete?

--

Go to Step 14

--

11

Repair the faulty solenoid ignition feed circuit. Refer to Wiring Repairs in Wiring Systems.

Is the action complete?

--

Go to Step 14

--

12

Replace the solenoid. Refer to Evaporative Emission Canister Purge Solenoid Valve Replacement .

Is the action complete?

--

Go to Step 14

--

13

Important:: Program the replacement PCM. Refer to Powertrain Control Module Replacement/Programming .

Replace the PCM.

Is the action complete?

--

Go to Step 14

--

14

  1. Select the Diagnostic Trouble Code (DTC) option and the Clear DTC Information option using the scan tool.
  2. Idle the engine at the normal operating temperature.
  3. Select the Diagnostic Trouble Code (DTC) option and the Specific DTC option, then enter the DTC number using the scan tool.
  4. Operate the vehicle within the Conditions for Running the DTC as specified in the supporting text, if applicable.

Does the scan tool indicate that this test ran and passed?

--

Go to Step 15

Go to Step 2

15

Select the Capture Info option and the Review Info option using the scan tool.

Does the scan tool display any DTCs that you have not diagnosed?

--

Go to the applicable DTC table

System OK