GM Service Manual Online
For 1990-2009 cars only

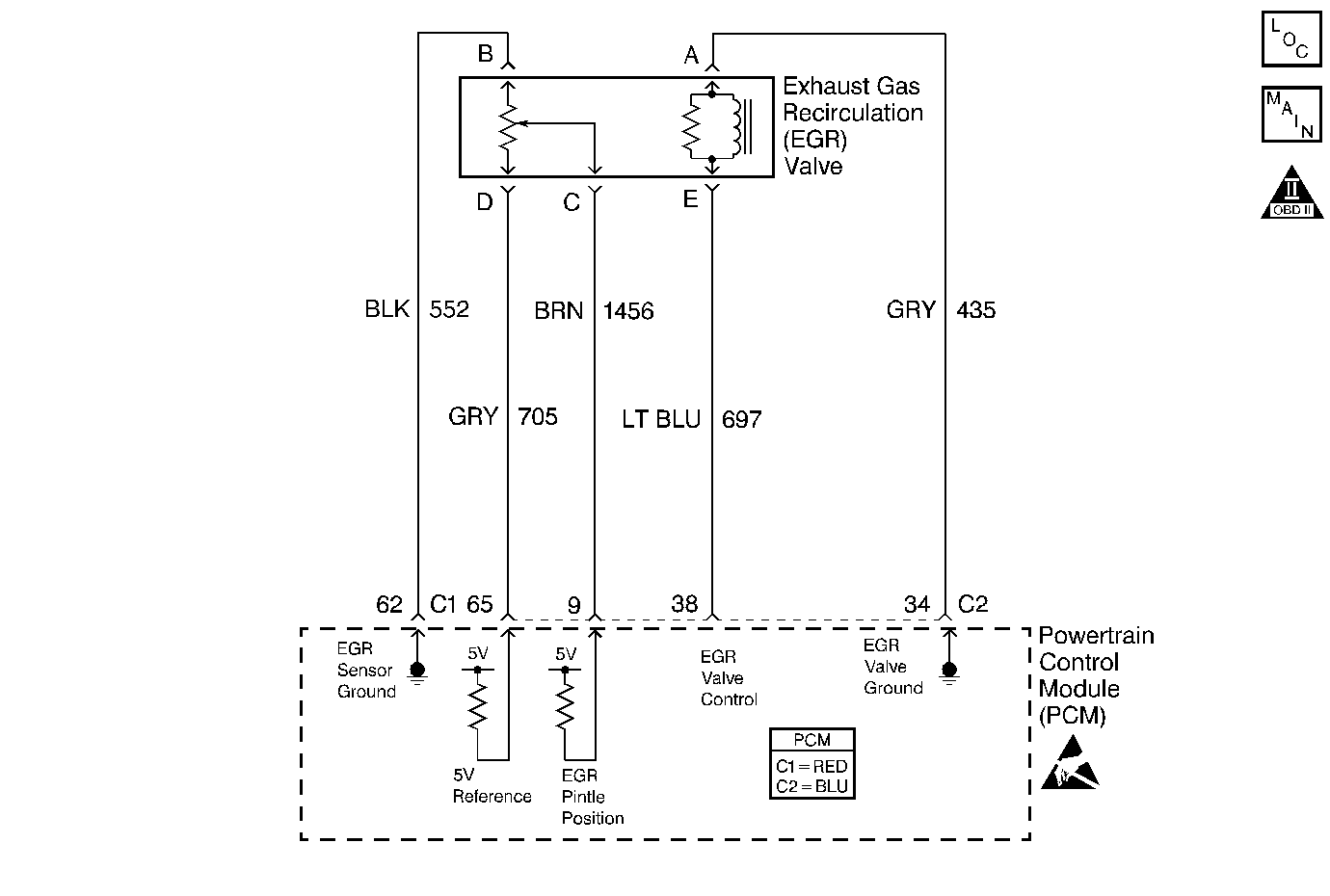
Object Number: 218695  Size: MF
Engine Controls Components
EVAP and EGR
OBD II Symbol Description Notice
Handling ESD Sensitive Parts Notice

Circuit Description

The ability of the PCM to control the EGR valve is verified with this test. The PCM calculates an error based on the difference between the actual EGR position and the desired EGR position. The PCM sets this DTC if the error is too great.

Conditions for Running the DTC

    • The ignition voltage is greater than 11.7 volts.
    • The desired EGR position is greater than 0%.

Conditions for Setting the DTC

    • The difference between the desired EGR position and the actual EGR position is greater than 20%.
    • The failure counter is greater than a predetermined value.

Action Taken When the DTC Sets

    • The PCM disables the EGR for the ignition cycle.
    • The PCM illuminates the Malfunction Indicator Lamp on the second consecutive ignition cycle that the diagnostic runs and fails.
    • The PCM records the operating conditions at the time the diagnostic fails. The first time the diagnostic fails, the PCM stores this information in the Failure Records. If the diagnostic reports a failure on the second consecutive ignition cycle, the PCM records the operating conditions at the time of the failure. The PCM writes the conditions to the Freeze Frame and updates the Failure records.

Conditions for Clearing the MIL/DTC

    • The PCM turns OFF the malfunction indicator lamp (MIL) after 3 consecutive ignition cycles that the diagnostic runs and does not fail.
    • A last test failed, or current DTC, clears when the diagnostic runs and does not fail.
    • A history DTC clears after 40 consecutive warm-up cycles, if no failures are reported by this or any other emission related diagnostic.
    • Use a scan tool in order to clear the MIL and the DTC.

Test Description

The numbers below refer to the step numbers on the Diagnostic Table.

  1. This step determines if the EGR valve can be commanded open.

  2. Excessive resistance in the EGR control circuit or the EGR ground circuit will result in the EGR not responding correctly to the commanded EGR position.

  3. Inspect the PCM connector for poor connections.

  4. Inspect the PCM connector for poor connections.

  5. Excessive resistance in the control circuit or the ground circuit will cause this DTC to set. With the EGR commanded to 100% the test lamp should light with full intensity. Connect the test lamp across the battery terminals and compare the test lamp intensity to the EGR control circuit intensity.

Step

Action

Value(s)

Yes

No

1

Did you perform the Powertrain On-Board Diagnostic (OBD) System Check?

--

Go to Step 2

Go to Powertrain On Board Diagnostic (OBD) System Check

2

  1. Idle the engine.
  2. Command the EGR valve to 50% using the scan tool.

Does the engine run rough or stall?

--

Go to Step 3

Go to Step 6

3

  1. Idle the engine.
  2. Command the EGR valve to 50% using the scan tool.
  3. Monitor the Actual EGR position on the scan tool.

Is the Actual EGR Position within the specified range?

48-52%

Go to Diagnostic Aids

Go to Step 4

4

  1. Turn OFF the ignition.
  2. Disconnect the PCM connector C2. Refer to Powertrain Control Module Replacement/Programming .
  3. Disconnect the EGR valve electrical connector.
  4. Test the continuity of the EGR valve control circuit using the DMM J 39200 . Refer to Testing for Continuity in Wiring Systems.

Is the resistance within the specified range?

0-2ohms

Go to Step 5

Go to Step 14

5

Test the continuity of the EGR valve ground circuit using the DMM J 39200 . Refer to Testing for Continuity in Wiring Systems.

Is the resistance within the specified range?

0-2ohms

Go to Step 16

Go to Step 15

6

  1. Turn OFF the ignition.
  2. Disconnect the EGR valve electrical connector.
  3. Probe the EGR control circuit using the test lamp J 35616-200 connected to ground. Refer to Probing Electrical Connectors in Wiring Systems.
  4. Turn ON the ignition.
  5. Command the EGR to the specified value using the scan tool.

Is the test lamp illuminated?

100%

Go to Step 7

Go to Step 8

7

Probe the EGR ground circuit using the test lamp J 35616-200 connected to B+. Refer to Probing Electrical Connectors in Wiring Systems.

Is the test lamp illuminated?

--

Go to Step 16

Go to Step 11

8

  1. Turn OFF the ignition.
  2. Disconnect the PCM connector C2. Refer to Powertrain Control Module Replacement/Programming .
  3. Test the continuity of the EGR valve control circuit using the DMM J 39200 . Refer to Testing for Continuity in Wiring Systems.

Does the DMM display continuity?

--

Go to Step 9

Go to Step 12

9

Test the continuity of the EGR valve control circuit using the DMM J 39200 connected to ground. Refer to Testing for Continuity in Wiring Systems.

Does the DMM display continuity?

--

Go to Step 12

Go to Step 10

10

Test for continuity from the EGR control circuit to all other circuits in the PCM harness connector. Refer to Testing for Continuity in Wiring Systems.

Does the DMM display continuity to any other circuit in the PCM harness connector?

--

Go to Step 12

Go to Step 18

11

  1. Turn OFF the ignition.
  2. Disconnect the PCM connector C2. Refer to Powertrain Control Module Replacement/Programming .
  3. Test the continuity of the EGR valve ground circuit using the DMM J 39200 . Refer to Testing for Continuity in Wiring Systems.

Does the DMM display continuity?

--

Go to Step 18

Go to Step 13

12

Repair the open or short to ground in the EGR valve control circuit. Refer to Wiring Repairs in Wiring Systems.

Is the action complete?

--

Go to Step 20

--

13

Repair the open in the EGR valve ground circuit. Refer to Wiring Repairs in Wiring Systems.

Is the action complete?

--

Go to Step 20

--

14

Repair the high resistance in the EGR valve control circuit. Refer to Wiring Repairs in Wiring Systems.

Is the action complete?

--

Go to Step 20

--

15

Repair the high resistance in the EGR valve ground circuit. Refer to Wiring Repairs in Wiring Systems.

Is the action complete?

--

Go to Step 20

--

16

  1. Inspect for poor connections at the EGR valve electrical connector. Refer to Intermittents and Poor Connections Diagnosis in Wiring Systems.
  2. If you find a poor connection repair the terminal as necessary. Refer to Repairing Connector Terminals in Wiring Systems.

Did you find and correct the condition?

--

Go to Step 20

Go to Step 17

17

Replace the EGR valve. Refer to Exhaust Gas Recirculation Valve Replacement .

Is the replacement complete?

--

Go to Step 20

--

18

  1. Inspect for a poor connection at the PCM. Refer to Intermittents and Poor Connections Diagnosis in Wiring Systems.
  2. If you find a poor connection repair the terminal as necessary. Refer to Repairing Connector Terminals in Wiring Systems.

Did find and correct the condition?

--

Go to Step 20

Go to Step 19

19

Important:: Program the replacement PCM. Refer to Powertrain Control Module Replacement/Programming .

Replace the PCM.

Is the action complete?

--

Go to Step 20

--

20

  1. Select the Diagnostic Trouble Code (DTC) option and the Clear DTC option using the scan tool.
  2. Idle the engine at the normal operating temperature.
  3. Select the Diagnostic Trouble Code (DTC) option and the Specific DTC option, then enter the DTC number using the scan tool.
  4. Operate vehicle within the Conditions for Running this DTC as specified in the supporting text, if applicable.

Does the scan tool indicate that this test passed?

--

Go to Step 21

Go to Step 2

21

Select the Capture Info option and the Review Info option using the scan tool.

Does the scan tool display any DTCs that you have not diagnosed?

--

Go to applicable DTC

System OK