GM Service Manual Online
For 1990-2009 cars only

DTC P0753 1-2 Shift Solenoid Circuit Electrical 5.7L

Table 1: Shift Solenoid Valve State and Gear Ratio 4L60-E
Table 2: DTC P0753 1-2 Shift Solenoid Circuit-- Electrical (5.7L, VIN G)

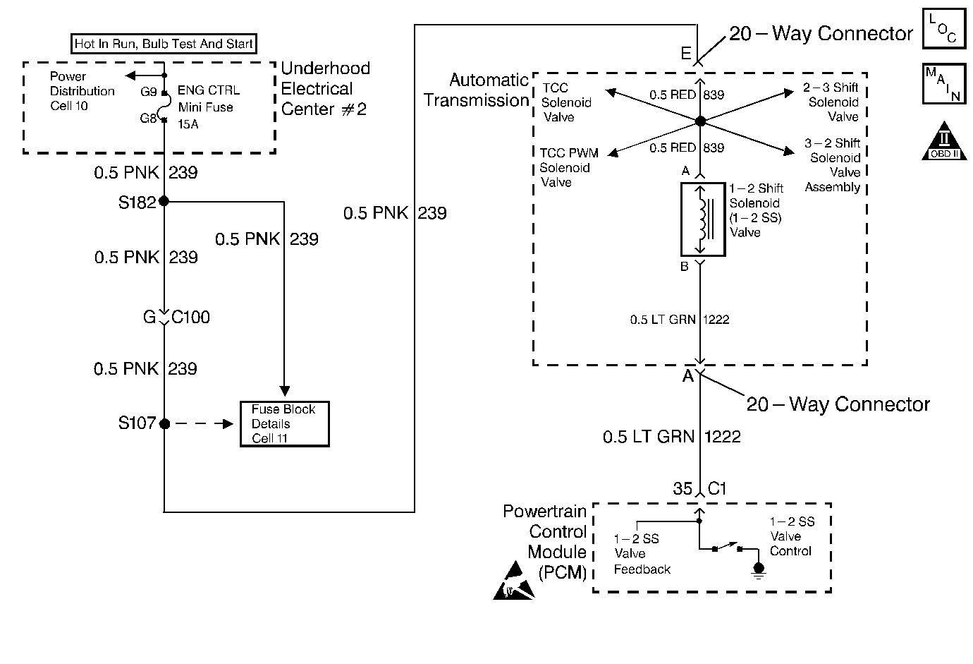
Object Number: 168442  Size: MF
Automatic Transmission Components VIN G
Automatic Transmission Controls Schematics
OBD II Symbol Description Notice
Handling ESD Sensitive Parts Notice

Circuit Description

The 1-2 Shift Solenoid Valve (1-2 SS Valve) controls the fluid flow acting on the 1-2 and 3-4 shift valves. The 1-2 SS Valve is a normally-open exhaust valve that is used with the 2-3 Shift Solenoid Valve in order to allow four different shifting combinations. The solenoid attaches to the control valve body within the transmission. The 1-2 SS Valve receives ignition voltage through circuit 239. The Powertrain Control Module (PCM) controls the solenoid by providing the ground path on circuit 1222.

When the PCM detects a continuous open or short to ground in the 1-2 SS Valve circuit or the 1-2 SS Valve, then DTC P0753 sets. DTC P0753 is a type A DTC.

Conditions for Setting the DTC

    • The system voltage is 8-16 volts.
    • The engine speed is greater than 450 RPM for 5 seconds.
    • Not in fuel cutoff.
    • All of the above conditions are met for 5 seconds and either of the following fail conditions occurs for 5 seconds:
       - The PCM commands the solenoid ON and the voltage input remains high (B+).
       - The PCM commands the solenoid OFF and the voltage input remains low (0 volts).

Action Taken When the DTC Sets

    • The PCM illuminates the Malfunction Indicator Lamp (MIL).
    • The PCM commands D2 line pressure.
    • The PCM inhibits 3-2 downshifts if the vehicle speed is greater than 48 km/h (30 mph).
    • The PCM freezes shifts adapts from being updated.
    • DTC P0753 stores in the PCM history.

Conditions for Clearing the MIL/DTC

    • The PCM turns OFF the MIL after three consecutive trips without a failure reported.
    • A scan tool can clear the DTC from the PCM history. The PCM clears the DTC from the PCM history if the vehicle completes 40 warm-up cycles without a failure reported.
    • The PCM cancels the DTC default actions when the fault no longer exists and the ignition is OFF long enough in order to power down the PCM.

Diagnostic Aids

    • Inspect the wiring at the PCM, the transmission connector and all other circuit connecting points for the following conditions:
       - A bent terminal
       - A backed out terminal
       - A damaged terminal
       - Poor terminal tension
       - A chafed wire
       - A broken wire inside the insulation
       - Moisture intrusion
       - Corrosion
    • When diagnosing for an intermittent short or open condition, massage the wiring harness while watching the test equipment for a change.
    • An open ignition feed circuit can cause multiple DTCs to set.

Shift Solenoid Valve State and Gear Ratio 4L60-E

Gear

1-2 Shift Solenoid

2-3 Shift Solenoid

Gear Ratio

1

ON

ON

3.059:1

2

OFF

ON

1.625:1

3

OFF

OFF

1.000:1

4

ON

OFF

0.696:1

Test Description

The numbers below refer to the step numbers on the diagnostic table.

  1. This step tests the function of the 1-2 SS Valve and the Automatic Transmission Wiring Harness Assembly (A/T Wiring Harness Assembly).

  2. This step tests for power to the 1-2 SS Valve from the ignition through the fuse.

  3. This step tests the ability of the PCM and the wiring to control the ground circuit.

  4. This step measures the resistance of the A/T Wiring Harness Assembly and the 1-2 SS Valve.

DTC P0753 1-2 Shift Solenoid Circuit-- Electrical (5.7L, VIN G)

Step

Action

Value(s)

Yes

No

1

Was the Powertrain On-Board Diagnostic (OBD) System Check performed?

--

Go to Step 2

Go to Powertrain On Board Diagnostic (OBD) System Check in Engine Controls

2

  1. Install the Scan Tool .
  2. With the engine OFF, turn the ignition switch to the RUN position.
  3. Important: Before clearing the DTCs, use the scan tool in order to record the Freeze Frame and Failure Records for reference. Using the Clear Info function will erase the stored Freeze Frame and Failure Records from the PCM.

  4. Record the DTC Freeze Frame and Failure Records, then clear the DTC(s).

Are DTCs P0740, P0758, P0785 and P1860 also set?

--

Go to Step 3

Go to Step 4

3

  1. Inspect the ENG CTRL fuse.
  2. If the fuse is open, inspect circuit 239 (PNK), the solenoids, and the A/T Wiring Harness Assembly for short to ground condition. Repair the circuit, the solenoids, and the harness if necessary.

Refer to General Electrical Diagnosis in Wiring Systems.

Did you find a short to ground condition?

--

Go to Step 19

Go to Step 5

4

Using the transmission output control function on the scan tool, command the 1-2 SS Valve ON and OFF three times while listening to the bottom of the transmission pan (a stethoscope may be necessary).

Does the solenoid click when commanded?

--

Go to Diagnostic Aids

Go to Step 5

5

  1. Turn the ignition OFF.
  2. Disconnect the transmission 20-way connector (additional DTCs will set).
  3. Install the J 39775 Jumper Harness on the engine side of the 20-way connector.
  4. With the engine OFF, turn the ignition switch to the RUN position.
  5. Connect a test lamp from J 39775 Jumper Harness cavity E to ground.

Is the test lamp ON?

--

Go to Step 6

Go to Step 7

6

  1. Install a test lamp from J 39775 Jumper Harness cavity E to cavity A.
  2. Using the transmission output control function on the scan tool, command the 1-2 SS Valve ON, and OFF three times.

Is the test lamp ON when the 1-2 SS Valve is commanded ON, and OFF when commanded OFF?

--

Go to Step 13

Go to Step 8

7

Repair the open or short to ground in ignition feed circuit 239 (PNK) to the 1-2 SS Valve.

Refer to Wiring Repairs in Wiring Systems.

Did you find and correct an open or short to ground condition?

--

Go to Step 19

--

8

Monitor the test lamp status.

Was the test lamp OFF at all times?

--

Go to Step 9

Go to Step 10

9

  1. Inspect circuit 1222 (LT GRN) of the engine wiring harness for an open or short to power condition.
  2. Refer to General Electrical Diagnosis in Wiring Systems.

  3. Repair the circuit if necessary.
  4. Refer to Wiring Repairs in Wiring Systems.

Did you find an open or short to power condition?

--

Go to Step 19

Go to Step 12

10

Was the test lamp ON at all times?

--

Go to Step 11

--

11

  1. Inspect circuit 1222 (LT GRN) of the engine wiring harness for a short to ground condition.
  2. Refer to General Electrical Diagnosis in Wiring Systems.

  3. Repair the circuit if necessary.
  4. Refer to Wiring Repairs in Wiring Systems.

Did you find a short to ground condition?

--

Go to Step 19

Go to Step 12

12

Replace the PCM.

Refer to Powertrain Control Module Replacement/Programming in Engine Controls.

Is the replacement complete?

--

Go to Step 19

--

13

  1. Turn the ignition OFF.
  2. Install the J 39775 Jumper Harness on the transmission side of the 20-way connector.
  3. With the J 39200 Digital Multimeter (DMM) and the J 35616-A Connector Test Adapter Kit, measure the resistance between terminals A and E.

Is the resistance within the range indicated?

19-31 ohms

Go to Step 15

Go to Step 14

14

  1. Disconnect the A/T Wiring Harness Assembly from the 1-2 SS Valve.
  2. Measure the resistance of the 1-2 SS Valve.

Is the resistance within the range indicated?

19-31 ohms

Go to Step 17

Go to Step 18

15

Using the J 39200 DMM, measure the resistance between terminals A and E and ground.

Are both readings greater than the specified value?

250 K ohms

Go to Diagnostic Aids

Go to Step 16

16

  1. Disconnect the A/T Wiring Harness Assembly from the 1-2 SS Valve.
  2. Using the J 39200 DMM, measure the resistance from the component's terminals to ground.

Are both readings greater than the specified value?

250 K ohms

Go to Step 17

Go to Step 18

17

Replace the A/T Wiring Harness Assembly.

Refer to Torque Converter Clutch Pulse Width Modulation Solenoid, Torque Converter Clutch Solenoid, and Wiring Harness Replacement.

Is the replacement complete?

--

Go to Step 19

--

18

Replace the 1-2 SS Valve.

Refer to Control and Shift Solenoids Replacement .

Is the replacement complete?

--

Go to Step 19

--

19

In order to verify your repair, perform the following procedure:

  1. Select DTC.
  2. Select Clear Info.
  3. Drive the vehicle in D4 and ensure the following conditions are met:
  4. • The PCM commands the 1-2 SS Valve ON and the voltage input drops to zero.
    • The PCM commands the 1-2 SS Valve OFF and the voltage input increases to B+.
    • All conditions are met for 5 seconds.
  5. Select Specific DTC. Enter DTC P0753.

Has the test run and passed?

--

System OK

Go to Step 1

DTC P0753 1-2 Shift Solenoid Circuit Electrical 3.8L

Table 1: Shift Solenoid Valve State and Gear Ratio 4L60-E
Table 2: DTC P0753 1-2 Shift Solenoid Circuit -- Electrical (3.8L, VIN K)

Object Number: 193811  Size: MF
Automatic Transmission Components VIN K
Automatic Transmission Controls Schematics
OBD II Symbol Description Notice
Handling ESD Sensitive Parts Notice

Circuit Description

The 1-2 Shift Solenoid Valve (1-2 SS Valve) controls the fluid flow acting on the 1-2 and 3-4 shift valves. The 1-2 SS Valve is a normally-open exhaust valve that is used with the 2-3 Shift Solenoid Valve in order to allow four different shifting combinations. The solenoid attaches to the control valve body within the transmission. The 1-2 SS Valve receives ignition voltage through circuit 239. The Powertrain Control Module (PCM) controls the solenoid by providing the ground path on circuit 1222.

When the PCM detects a continuous open or short to ground in the 1-2 SS Valve circuit or the 1-2 SS Valve, then DTC P0753 sets. DTC P0753 is a type A DTC.

Conditions for Setting the DTC

    • The system voltage is 8-16 volts.
    • The engine speed is greater than 450 RPM for 5 seconds.
    • Not in fuel cutoff.
    • All of the above conditions are met for 5 seconds and either of the following fail conditions occurs for 5 seconds:
       - The PCM commands the solenoid ON and the voltage input remains high (B+).
       - The PCM commands the solenoid OFF and the voltage input remains low (0 volts).

Action Taken When the DTC Sets

    • The PCM illuminates the Malfunction Indicator Lamp (MIL).
    • The PCM commands D2 line pressure.
    • The PCM inhibits 3-2 downshifts if the vehicle speed is greater than 48 km/h (30 mph).
    • The PCM freezes shifts adapts from being updated.
    • DTC P0753 stores in PCM history.

Conditions for Clearing the MIL/DTC

    • The PCM turns OFF the MIL after three consecutive trips without a failure reported.
    • A scan tool can clear the DTC from the PCM history. The PCM clears the DTC from the PCM history if the vehicle completes 40 warm-up cycles without a failure reported.
    • The PCM cancels the DTC default actions when the fault no longer exists and the ignition is OFF long enough in order to power down the PCM.

Diagnostic Aids

    • Inspect the wiring at the PCM, the transmission connector and all other circuit connecting points for the following conditions:
       - A bent terminal
       - A backed out terminal
       - A damaged terminal
       - Poor terminal tension
       - A chafed wire
       - A broken wire inside the insulation
       - Moisture intrusion
       - Corrosion
    • When diagnosing for an intermittent short or open condition, massage the wiring harness while watching the test equipment for a change.
    • An open ignition feed circuit can cause multiple DTCs to set.

Shift Solenoid Valve State and Gear Ratio 4L60-E

Gear

1-2 Shift Solenoid

2-3 Shift Solenoid

Gear Ratio

1

ON

ON

3.059:1

2

OFF

ON

1.625:1

3

OFF

OFF

1.000:1

4

ON

OFF

0.696:1

Test Description

The numbers below refer to the step numbers on the diagnostic table.

  1. This step tests the function of the 1-2 SS Valve and the Automatic Transmission Wiring Harness Assembly (A/T Wiring Harness Assembly).

  2. This step tests for power to the 1-2 SS Valve from the ignition through the fuse.

  3. This step tests the ability of the PCM and the wiring to control the ground circuit.

  4. This step measures the resistance of the A/T Wiring Harness Assembly and the 1-2 SS Valve.

DTC P0753 1-2 Shift Solenoid Circuit -- Electrical (3.8L, VIN K)

Step

Action

Value(s)

Yes

No

1

Was the Powertrain On-Board Diagnostic (OBD) System Check performed?

--

Go to Step 2

Go to Powertrain On Board Diagnostic (OBD) System Check in Engine Controls

2

  1. Install the Scan Tool .
  2. With the engine OFF, turn the ignition switch to the RUN position.
  3. Important: Before clearing the DTC(s), use the scan tool in order to record the Freeze Frame and Failure Records for reference. Using the Clear Info function will erase the stored Freeze Frame and Failure Records from the PCM.

  4. Record the DTC Freeze Frame and Failure Records, then clear the DTC(s).

Are DTCs P0740, P0758, P0785, and P1860 also set?

--

Go to Step 3

Go to Step 4

3

  1. Inspect the ENG CTRL fuse.
  2. If the fuse is open, inspect circuit 239 (PNK), the solenoids, and the A/T Wiring Harness Assembly for short to ground. Repair the circuit, the solenoids, and the harness if necessary.

Refer to General Electrical Diagnosis in Wiring Systems.

Did you find a short to ground condition?

--

Go to Step 19

Go to Step 5

4

Using the transmission output control function on the scan tool, command the 1-2 SS Valve ON and OFF three times while listening to the bottom of the transmission pan (a stethoscope may be necessary).

Does the solenoid click when commanded?

--

Go to Diagnostic Aids

Go to Step 5

5

  1. Turn the ignition OFF.
  2. Disconnect the transmission 20-way connector (additional DTCs will set).
  3. Install the J 39775 Jumper Harness on the engine side of the 20-way connector.
  4. With the engine OFF, turn the ignition switch to the RUN position.
  5. Connect a test lamp from J 39775 Jumper Harness cavity E to ground.

Is the test lamp ON?

--

Go to Step 6

Go to Step 7

6

  1. Install a test lamp from J 39775 Jumper Harness cavity E to cavity A.
  2. Using the transmission output control function on the scan tool, command the 1-2 SS Valve ON, and OFF three times.

Is the test lamp ON when the 1-2 SS Valve is commanded ON, and OFF when commanded OFF?

--

Go to Step 13

Go to Step 8

7

Repair the open or short to ground in ignition feed circuit 239 (PNK) to the 1-2 SS Valve.

Refer to Wiring Repairs in Wiring Systems.

Did you find and correct an open or short to ground condition?

--

Go to Step 19

--

8

Monitor the test lamp status.

Was the test lamp OFF at all times?

--

Go to Step 9

Go to Step 10

9

  1. Inspect circuit 1222 (LT GRN) of the engine wiring harness for an open or short to power condition.
  2. Refer to General Electrical Diagnosis in Wiring Systems.

  3. Repair the circuit if necessary.
  4. Refer to Wiring Repairs in Wiring Systems.

Did you find an open or short to power condition?

--

Go to Step 19

Go to Step 12

10

Was the test lamp ON at all times?

--

Go to Step 11

--

11

  1. Inspect circuit 1222 (LT GRN) of the engine wiring harness for a short to ground condition.
  2. Refer to General Electrical Diagnosis in Wiring Systems.

  3. Repair the circuit if necessary.
  4. Refer to Wiring Repairs in Wiring Systems.

Did you find a short to ground condition?

--

Go to Step 19

Go to Step 12

12

Replace the PCM.

Refer to Powertrain Control Module Replacement/Programming in Engine Controls.

Is the replacement complete?

--

Go to Step 19

--

13

  1. Turn the ignition OFF.
  2. Install the J 39775 Jumper Harness on the transmission side of the 20-way connector.
  3. With the J 39200 Digital Multimeter (DMM) and J 35616-A Connector Test Adapter Kit, measure the resistance between terminals A and E.

Is the resistance within the range indicated?

19-31 ohms

Go to Step 15

Go to Step 14

14

  1. Disconnect the A/T Wiring Harness Assembly from the 1-2 SS Valve.
  2. Measure the resistance of the 1-2 SS Valve.

Is the resistance within the range indicated?

19-31 ohms

Go to Step 17

Go to Step 18

15

Using J 39200 DMM, measure the resistance between terminals A and E and ground.

Are both readings greater than the specified value?

250 K ohms

Go to Diagnostic Aids

Go to Step 16

16

  1. Disconnect the A/T Wiring Harness Assembly from the 1-2 SS Valve.
  2. Using the J 39200 DMM, measure the resistance from the component's terminals to ground.

Are both readings greater than the specified value?

250 K ohms

Go to Step 17

Go to Step 18

17

Replace the A/T Wiring Harness Assembly.

Refer to Torque Converter Clutch Pulse Width Modulation Solenoid, Torque Converter Clutch Solenoid, and Wiring Harness Replacement.

Is the replacement complete?

--

Go to Step 19

--

18

Replace the 1-2 SS Valve.

Refer to Control and Shift Solenoids Replacement .

Is the replacement complete?

--

Go to Step 19

--

19

In order to verify your repair, perform the following procedure:

  1. Select DTC.
  2. Select Clear Info.
  3. Drive the vehicle in D4 range and ensure that the following conditions are met:
  4. • The PCM commands the 1-2 SS Valve ON and the voltage input drops to zero.
    • The PCM commands the 1-2 SS Valve OFF and the voltage input increases to B+.
    • All conditions are met for 5 seconds.
  5. Select Specific DTC. Enter DTC P0753.

Has the test run and passed?

--

System OK

Go to Step 1