GM Service Manual Online
For 1990-2009 cars only

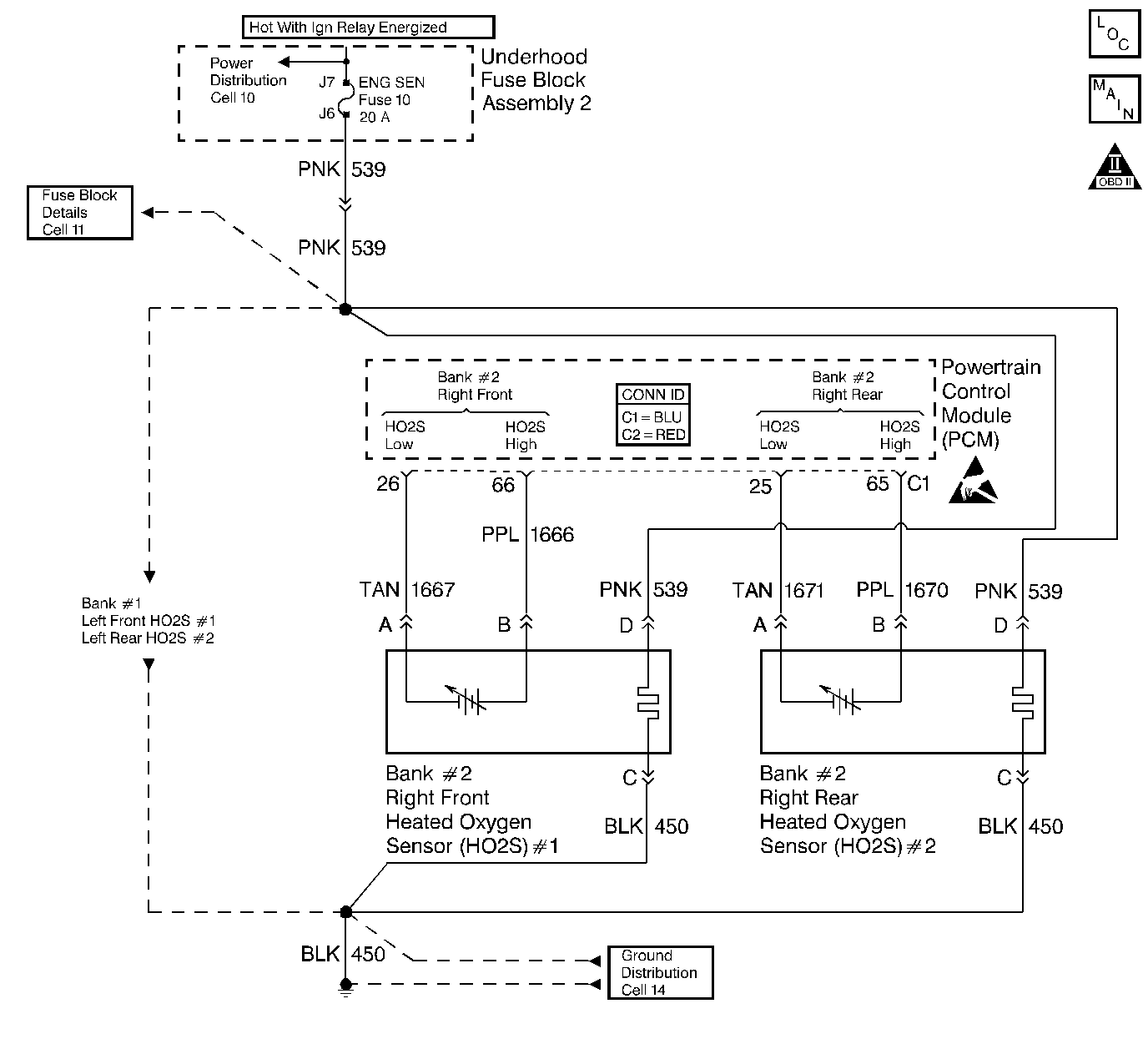
Object Number: 372918  Size: LF
Engine Controls Component Views
Heated Oxygen Sensors
OBD II Symbol Description Notice
Handling ESD Sensitive Parts Notice

Circuit Description

The PCM supplies a voltage of about 450 mV between the HO2S high and low signal circuits. The oxygen sensor varies the voltage over a range from about 1,000 mV when the exhaust is rich, down through about 10 mV when the exhaust is lean.

The PCM monitors and stores the heated oxygen sensor (HO2S) voltage information. The PCM evaluates the HO2S voltage samples in order to determine the amount of time the HO2S voltage was out of range. The PCM compares the stored HO2S voltage samples taken within each sample period and determines if majority of the samples are out of the operating range.

The PCM monitors the HO2S voltage and detects if the voltage goes out of the bias range. If the PCM does not detect the voltage went out of the bias range, this DTC sets.

Conditions for Running the DTC

    • DTCs P0101, P0102, P0103, P0112, P0113, P0117, P0118, P0121, P0122, P0123, P0125, P0200, P0335, P0336, P0351-P0358, P1258, not set.
    • The engine run time is greater than 70 seconds.
    • The fuel system is operating in Closed Loop.
    • System voltage is greater than 9.0 volts.
    • The AIR, EGR, and the Catalyst diagnostics are not active.

Conditions for Setting the DTC

    • The HO2S signal voltage is steady between 409 mV and 489 mV.
    • All conditions present for 2 minutes and 30 seconds.

Action Taken When the DTC Sets

    • The PCM illuminates the malfunction indicator lamp (MIL) on the second consecutive ignition cycle that the diagnostic runs and fails.
    • The PCM records the operating conditions at the time the diagnostic fails. The first time the diagnostic fails, the PCM stores this information in the Failure Records. If the diagnostic reports a failure on the second consecutive ignition cycle, the PCM records the operating conditions at the time of the failure. The PCM writes the conditions to the Freeze Frame and updates the Failure Records.

Conditions for Clearing the MIL/DTC

    • The PCM turns OFF the malfunction indicator lamp (MIL) after 3 consecutive ignition cycles that the diagnostic runs and does not fail.
    • A last test failed, or current DTC, clears when the diagnostic runs and does not fail.
    • A history DTC clears after 40 consecutive warm-up cycles, if no failures are reported by this or any other emission related diagnostic.
    • Use a scan tool in order to clear the MIL and the DTC.

Diagnostic Aids

Important: 

   • Remove any debris from the PCM connector surfaces before servicing the PCM. Inspect the PCM connector gaskets when diagnosing/replacing the PCM. Ensure that the gaskets are installed correctly. The gaskets prevent contaminant intrusion into the PCM.
   • For any test that requires probing the PCM or component harness connectors, use the Connector Test Adapter Kit J 35616 . Using this kit prevents any damage to the harness connector terminals. Refer to Using Connector Test Adapters in Wiring Systems for procedures.

    • An oxygen supply inside the HO2S is necessary for proper operation. This supply of oxygen is provided through the HO2S wires. All HO2S wires and connections should be inspected for breaks or contamination. Refer to Heated Oxygen Sensor Wiring Repairs in Wiring Systems.
    • Using the Freeze Frame and/or Failure Records data may aid in locating an intermittent condition. If you cannot duplicate the DTC, the information included in the Freeze Frame and/or Failure Records data can help determine how many miles since the DTC set. The Fail Counter and Pass Counter can also help determine how many ignition cycles the diagnostic reported a pass and/or a fail. Operate the vehicle within the same freeze frame conditions (RPM, load, vehicle speed, temperature etc.) that you observed. This will isolate when the DTC failed.
    • For an intermittent condition, refer to Symptoms .

Test Description

The numbers below refer to the step numbers on the diagnostic table.

  1. The engine must be at the normal operating temperature before performing this test.

  2. Using the Freeze Frame and/or Failure Records data may aid in locating an intermittent condition. If you can not duplicate the DTC, the information included in the Freeze Frame and/or Failure Records data can help determine how many miles since the DTC set. The Fail Counter and Pass Counter can also be used to determine how many ignition cycles the diagnostic reported a pass and/or a fail. Operate the vehicle within the same freeze frame conditions (RPM, load, vehicle speed, temperature etc.) that the PCM recorded. This isolates when the DTC failed.

  3. If the scan tool indicates the HO2S voltage goes below 200 mV, this indicates the HO2S circuits and PCM are OK.

  4. This step verifies whether the signal circuit from the PCM is OK.

  5. This step verifies whether the low signal circuit from the PCM is OK. A voltage indicates the PCM and wiring are OK.

  6. Disconnecting the PCM allows using a DMM in order to test the continuity of the circuits. This aids in locating an open or shorted circuit.

Step

Action

Value(s)

Yes

No

1

Did you perform the Powertrain On-Board Diagnostic (OBD) System Check?

--

Go to Step 2

Go to Powertrain On Board Diagnostic (OBD) System Check

2

Important: Inspect the HO2S for being secure before proceeding with this DTC. A sensor that is loose could cause this DTC to set.

  1. Install a scan tool.
  2. Idle the engine at the normal operating temperature.
  3. Operate the engine above 1200 RPM for two minutes.
  4. Monitor the HO2S voltage display on the Engine 1 Data List using the scan tool.

Does the scan tool indicate the HO2S voltage varying outside the specified range?

350-550 mV

Go to Step 3

Go to Step 4

3

  1. Turn ON the ignition leaving the engine OFF.
  2. Review the Freeze Frame and/or Failure Records data for this DTC and observe the parameters.
  3. Turn OFF the ignition for 15 seconds.
  4. Idle the engine.
  5. Operate the vehicle within the conditions required for this diagnostic to run, and as close to the conditions recorded in Freeze Frame/Failure Records as possible. Special operating conditions that need to be met before the PCM will run this diagnostic, where applicable, are listed in Conditions for Running the DTC.
  6. Select the Diagnostic Trouble Code (DTC) option and the Specific DTC option, then enter the DTC number using the scan tool.

Does the scan tool indicate that this diagnostic failed this ignition?

--

Go to Step 4

Go to Diagnostic Aids

4

  1. Turn ON the ignition leaving the engine OFF.
  2. Disconnect the HO2S.
  3. Jumper the HO2S high and low (PCM side) signal circuits to a battery ground.
  4. Monitor the HO2S voltage using the scan tool.

Is the HO2S voltage below the specified value?

200 mV

Go to Step 8

Go to Step 5

5

  1. Remove the jumper wire from the HO2S low circuit.
  2. Measure the voltage from the HO2S low signal circuit to a battery ground using the DMM J 39200 .

Does the DMM indicate near the specified value?

5 Volts

Go to Step 6

Go to Step 7

6

  1. Turn OFF the ignition.
  2. Disconnect the PCM connector C1 located on the same side as the manufacturer's logo. Refer to Powertrain Control Module Replacement/Programming .
  3. Test the continuity of the HO2S high circuit using the DMM J 39200 . Refer to Testing for Continuity in Wiring Systems.
  4. Repair the open circuit if no continuity is indicated on the DMM. Refer to Wiring Repairs in Wiring Systems.

Did you find and correct the HO2S high circuit condition?

--

Go to Step 12

Go to Step 10

7

  1. Turn OFF the ignition.
  2. Disconnect the PCM connector C1 located on the same side as the manufacturer's logo. Refer to Powertrain Control Module Replacement/Programming .
  3. Test the continuity of the HO2S low circuit using the DMM J 39200 . Refer to Testing for Continuity in Wiring Systems .
  4. Repair the open or the poor connection if no continuity is indicated on the DMM. Refer to Wiring Repairs in Wiring Systems.

Did you find and repair the condition?

--

Go to Step 12

Go to Step 10

8

  1. Inspect for a poor connection at the HO2S. Refer to Intermittents and Poor Connections Diagnosis in Wiring Systems.
  2. If you find a poor connection repair as necessary. Refer to Repairing Connector Terminals in Wiring Systems.

Did you find and repair the condition?

--

Go to Step 12

Go to Step 9

9

Replace the HO2S. Refer to Heated Oxygen Sensor Replacement - Bank 2 .

Is the action complete?

--

Go to Step 12

--

10

  1. Inspect for a poor connection at the PCM. Refer to Intermittents and Poor Connections Diagnosis in Wiring Systems.
  2. If you find a poor connection repair as necessary. Refer to Repairing Connector Terminals in Wiring Systems.

Did you find and repair the condition?

--

Go to Step 12

Go to Step 11

11

Important:: Program the replacement PCM. Refer to Powertrain Control Module Replacement/Programming .

Replace the PCM.

Is the action complete?

--

Go to Step 12

--

12

  1. Select the Diagnostic Trouble Code (DTC) option and the Clear DTC Information option using the scan tool.
  2. Idle the engine at the normal operating temperature.
  3. Select the Diagnostic Trouble Code (DTC) option and the Specific DTC option, then enter the DTC number using the scan tool.
  4. Operate the vehicle within the Conditions for Running the DTC as specified in the supporting text, if applicable.

Does the scan tool indicate that this test ran and passed?

--

Go to Step 13

Go to Step 2

13

Select the Capture Info option and the Review Info option using the scan tool.

Does the scan tool display any DTCs that you have not diagnosed?

--

Go to the applicable DTC table

System OK