GM Service Manual Online
For 1990-2009 cars only

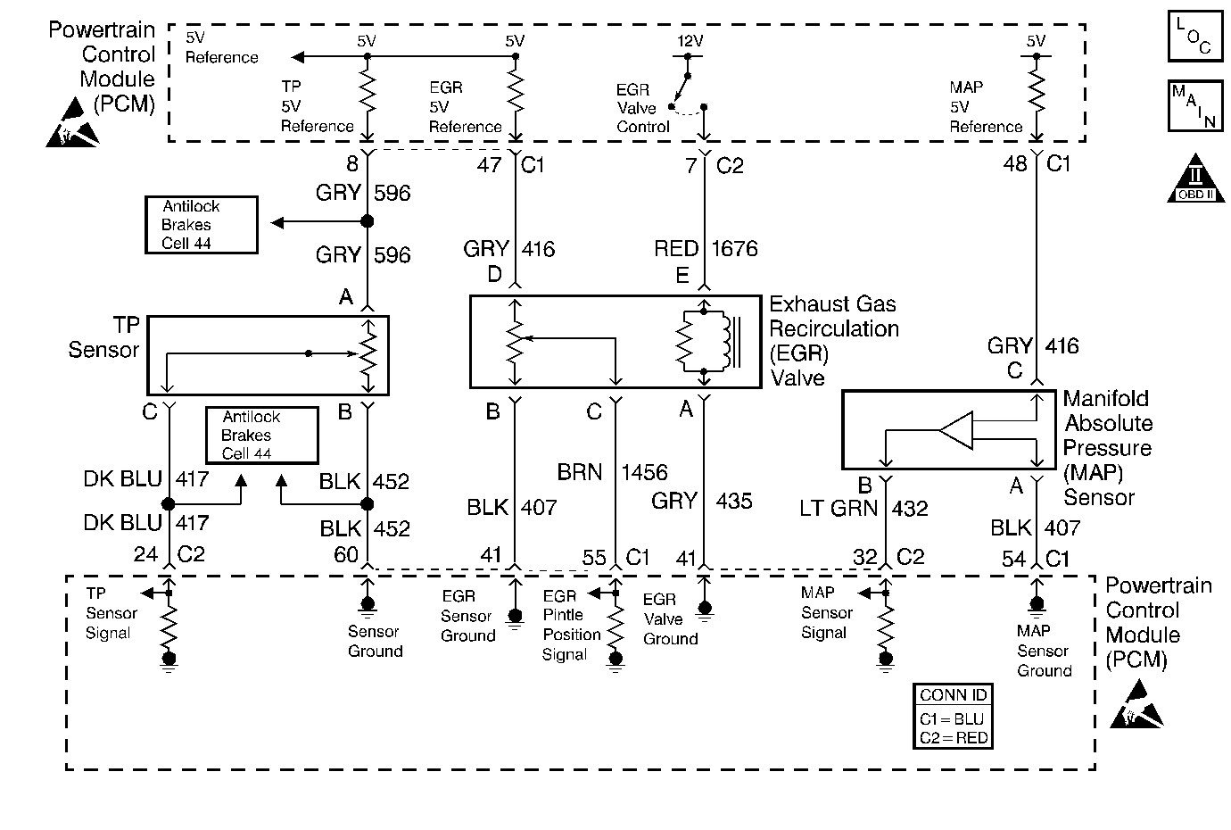
Object Number: 373035  Size: MF
Engine Controls Component Views
Information Sensors
OBD II Symbol Description Notice
Handling ESD Sensitive Parts Notice
Handling ESD Sensitive Parts Notice

Circuit Description

The Throttle Position (TP) sensor is a potentiometer. The TP sensor is mounted to the left side of the throttle body. The TP sensor provides a voltage signal that changes relative to throttle blade angle. This signal voltage is one of the most important inputs used by the PCM. The TP sensor has a 5.0 volt reference, a ground and a signal circuit.

The TP sensor Signal voltage should be near 0.6 volt at idle. The TP sensor voltage should increase to above 4.0 volts at wide open throttle (WOT).

This diagnostic compares actual throttle position from the TP sensor to a predicted throttle position value. The predicted throttle position is calculated from engine speed and other inputs. If the PCM detects the predicted throttle position is below the actual TP sensor value, this DTC sets.

Conditions for Running the DTC

    • No MAP sensor or TP sensor DTCs set.
    • The engine run time is greater than 10 seconds.
    • The engine coolant temperature is greater than 0°C (32°F).
    • The IAC is between 0 and 255 counts.
    • The MAP is less than 55 kPa.
        OR
    • The MAP is greater than 65 kPa.
    • MAP steady.

Conditions for Setting the DTC

    • The predicted throttle angle does not match the actual throttle angle.
    • All conditions present for 20 seconds.

Action Taken When the DTC Sets

    • The PCM illuminates the malfunction indicator lamp (MIL) on the second consecutive ignition cycle that the diagnostic runs and fails.
    • The PCM records the operating conditions at the time the diagnostic fails. The first time the diagnostic fails, the PCM stores this information in the Failure Records. If the diagnostic reports a failure on the second consecutive ignition cycle, the PCM records the operating conditions at the time of the failure. The PCM writes the conditions to the Freeze Frame and updates the Failure Records.

Conditions for Clearing the MIL/DTC

    • The PCM turns OFF the malfunction indicator lamp (MIL) after 3 consecutive ignition cycles that the diagnostic runs and does not fail.
    • A last test failed, or current DTC, clears when the diagnostic runs and does not fail.
    • A history DTC clears after 40 consecutive warm-up cycles, if no failures are reported by this or any other emission related diagnostic.
    • Use a scan tool in order to clear the MIL and the DTC.

Diagnostic Aids

Important: 

   • Remove any debris from the PCM connector surfaces before servicing the PCM. Inspect the PCM connector gaskets when diagnosing/replacing the PCM. Ensure that the gaskets are installed correctly. The gaskets prevent contaminant intrusion into the PCM.
   • For any test that requires probing the PCM or component harness connectors, use the Connector Test Adapter Kit J 35616 . Using this kit prevents any damage to the harness connector terminals. Refer to Using Connector Test Adapters in Wiring Systems.

    • The following may cause an intermittent:
       - Mis-routed harness
       - Rubbed through wire insulation
       - Broken wire inside the insulation
    • The PCM 5.0 volt reference circuits are internally connected within the PCM. If all the TP sensor circuits are OK, inspect the MAP sensor and EGR valve for malfunctions.
    • If it is determined that the DTC occurs intermittently, performing the DTC P1121 diagnostic table may isolate the cause of the fault.
    • Using the Freeze Frame and/or Failure Records data may aid in locating an intermittent condition. If you cannot duplicate the DTC, the information included in the Freeze Frame and/or Failure Records data can help determine how many miles since the DTC set. The Fail Counter and Pass Counter can also help determine how many ignition cycles the diagnostic reported a pass and/or a fail. Operate the vehicle within the same freeze frame conditions (RPM, load, vehicle speed, temperature etc.) that you observed. This isolates when the DTC failed.
    • For an intermittent, refer to Symptoms .

Test Description

The numbers below refer to the step numbers on the diagnostic table.

  1. If DTC P1635 sets at the same time, this indicates that the 5 volt reference circuit is either shorted to a ground or shorted to a voltage. The 5 volt reference circuit is internally connected within the PCM.

  2. The MAP value should change with the engine speed. If a MAP sensor voltage changes, there is no malfunction with the MAP sensor.

  3. This step tests for an intermittent connection at the sensor.

  4. The MAP sensor is difficult to remove. Twist the MAP sensor forward and pull up. This forward motion clears the retaining clip.

  5. If the TP sensor voltage changes, there is no malfunction with the TP sensor wiring or the PCM.

  6. Using Freeze Frame and/or Failure Records data may aid in locating an intermittent condition. If you cannot duplicated the DTC, the information included in the Freeze Frame and/or Failure Records data can help determine how many miles since the DTC set. The Fail Counter and Pass Counter can also help determine how many ignition cycles the diagnostic reported a pass and/or a fail. Operate vehicle within the same freeze frame conditions (RPM, load, vehicle speed, temperature etc.) that you observed. This isolates when the DTC failed.

  7. This tests the 5 volt reference circuit, signal circuit, and the PCM. If the scan tool displayed 5 volts, the TP sensor circuits are OK.

Step

Action

Value(s)

Yes

No

1

Did you perform the Powertrain On-Board Diagnostic (OBD) System Check?

--

Go to Step 2

Go to Powertrain On Board Diagnostic (OBD) System Check

2

  1. Install the scan tool.
  2. Idle the engine.
  3. Monitor the DTC Information option using the scan tool.

Did P1404 or P1635 or any MAP sensor DTCs also set?

--

Go to Applicable DTC Table

Go to Step 3

3

  1. Start the engine.
  2. Monitor the MAP sensor voltage.
  3. Increase the engine speed to the specified value.

Does the MAP sensor voltage change when the engine speed changed?

2000 RPM

Go to Step 8

Go to Step 4

4

  1. Turn ON the ignition leaving the engine OFF.
  2. Move the MAP sensor electrical connector, the harness and the PCM connectors (by hand only) while observing the scan tool display.

Is the MAP value affected by moving the harness or connectors?

--

Go to Step 16

Go to Step 5

5

  1. Remove the MAP sensor from the intake manifold but leave the electrical harness connected. Refer to Manifold Absolute Pressure Sensor Replacement .
  2. Connect a hand operated vacuum pump to the MAP sensor.
  3. Observe and/or record the MAP display while slowly applying vacuum up to 20 inches Hg as indicated on the pump gauge. Each 1 inch of vacuum applied should result in a 3 to 4 kPa drop in the MAP sensor value on the scan tool and the value should change smoothly with each increase in vacuum.

Did the MAP value change smoothly through the entire range of the test without any erratic readings?

--

Go to Step 6

Go to Step 17

6

Apply 20 inches Hg vacuum to the MAP sensor.

Is the MAP sensor reading the same or less than the specified value?

34  kPa

Go to Step 7

Go to Step 17

7

Disconnect the vacuum source from the MAP sensor.

Does the MAP sensor reading return to the original value that you observed in step 5?

--

Go to Step 8

Go to Step 17

8

  1. Turn ON the ignition leaving the engine OFF.
  2. Monitor the TP sensor voltage while moving the accelerator pedal from a closed throttle to a wide open throttle.

Does the TP sensor voltage go from below the specified value to above the specified value?

Below 1.0V to above 4.0V

Go to Step 9

Go to Step 10

9

  1. Turn ON the ignition leaving the engine OFF.
  2. Review the Freeze Frame and/or Failure Records data for this DTC and record the parameters.
  3. Turn OFF the ignition for 15 seconds.
  4. Re-install the MAP sensor and any other disconnected components.
  5. Start the engine.
  6. Operate the vehicle within the conditions required for this diagnostic to run, and as close to the conditions recorded in Freeze Frame/Failure Records as possible. Special operating conditions that you need to meet before the PCM will run this diagnostic, where applicable, are listed in Conditions for Running the DTC.
  7. Select the Diagnostic Trouble Code (DTC) option, the Specific DTC option, then enter the DTC number which was set using the scan tool.

Does the scan tool indicate that this diagnostic failed this ignition?

--

Go to Step 10

Go to Diagnostic Aids

10

  1. Disconnect the TP sensor.
  2. Observe the TP sensor display on the scan tool.

Is the TP sensor voltage near the specified value?

0.0V

Go to Step 11

Go to Step 13

11

Jumper the TP sensor 5 volt reference circuit to the TP sensor signal circuit using a fused jumper wire. Refer to Using Fused Jumper Wires in Wiring Systems.

Is the TP sensor voltage near the specified value?

5V

Go to Step 12

Go to Step 14

12

Replace the TP sensor. Refer to Throttle Position Sensor Replacement .

Is the action complete?

--

Go to Step 18

--

13

  1. Test for the following conditions:
  2. • TP signal circuit for a short to voltage.
    • TP sensor ground circuit for high resistance between the PCM and the TP sensor.
    • TP sensor ground circuit for a poor connection.
  3. If you find a condition repair as necessary. Refer to Wiring Repairs in Wiring Systems.

Did you find and correct the condition?

--

Go to Step 18

Go to Step 15

14

    • Test for the following conditions:
      • TP signal circuit or 5 volt reference circuit for a poor connection. Refer to Intermittents and Poor Connections Diagnosis in Wiring Systems.
      • TP signal circuit or 5 volt reference circuit for high resistance between the PCM and the TP sensor.
    • If you find a condition, repair as necessary. Refer to Wiring Repairs in Wiring Systems.

Did you find and correct the condition?

--

Go to Step 18

Go to Step 15

15

Important: Program the replacement PCM. Refer to Powertrain Control Module Replacement/Programming .

Replace the PCM.

Is the action complete?

--

Go to Step 18

--

16

Locate and repair the affected circuits.

Is the action complete?

--

Go to Step 18

--

17

Replace the MAP Sensor. Refer to Manifold Absolute Pressure Sensor Replacement .

Is the action complete?

--

Go to Step 18

--

18

  1. Select the Diagnostic Trouble Code (DTC) option and the Clear DTC Information option using the scan tool.
  2. Idle the engine at the normal operating temperature.
  3. Select the Diagnostic Trouble Code (DTC) option and the Specific DTC option, then enter the DTC number using the scan tool.
  4. Operate the vehicle within the Conditions for Running the DTC as specified in the supporting text, if applicable.

Does the scan tool indicate that this test ran and passed?

--

Go to Step 19

Go to Step 2

19

Select the Capture Info option and the Review Info using the scan tool.

Does the scan tool display any DTCs that you have not diagnosed?

--

Go to the applicable DTC table

System OK