GM Service Manual Online
For 1990-2009 cars only

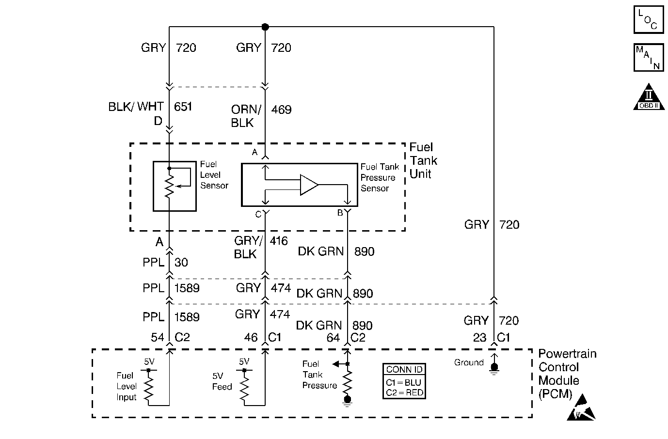
Object Number: 373004  Size: MF
Engine Controls Component Views
Fuel System
OBD II Symbol Description Notice
Handling ESD Sensitive Parts Notice

Circuit Description

The Fuel Level Sensor changes resistance based on fuel level. The Fuel Level Sensor has a signal circuit and a ground circuit. The PCM applies a voltage (about 5.0 volts) on the signal circuit to the sensor. The PCM monitors changes in this voltage caused by changes in the resistance of the sensor to determine fuel level.

When the fuel tank is full, the sensor resistance is high, therefore, the PCM will sense a high signal voltage (fuel tank full). When the fuel tank is empty, the sensor resistance is low, and the PCM senses a low signal voltage (fuel tank empty).

The PCM uses inputs from the Fuel Level Sensor to calculate the total fuel remaining in the fuel tank. This information is then sent to the fuel gauge via the class 2 circuit. The Fuel Level information is also used for misfire and EVAP diagnostics.

This DTC sets when the PCM senses a signal voltage higher than the normal operating range of the sensor.

Conditions for Running the DTC

The ignition switch is in the RUN position.

Conditions for Setting the DTC

    • The Fuel Level Sensor voltage is above 2.9 volts.
    • The condition present for 6.0 minutes.

Action Taken When the DTC Sets

    • The powertrain control module (PCM) stores the DTC information into memory when the diagnostic runs and fails.
    • The malfunction indicator lamp (MIL) will not illuminate.
    • The PCM records the operating conditions at the time the diagnostic fails. The PCM stores this information in the Failure Records.

Conditions for Clearing the DTC

    • A last test failed, or current DTC, clears when the diagnostic runs and does not fail.
    • A history DTC will clear after 40 consecutive warm-up cycles, if no failures are reported by this or any other non-emission related diagnostic.
    • Use a scan tool in order to clear the DTC.

Diagnostic Aids

Important: 

   • Remove any debris from the PCM connector surfaces before servicing the PCM. Inspect the PCM connector gaskets when diagnosing/replacing the PCM. Ensure that the gaskets are installed correctly. The gaskets prevent water intrusion into the PCM.
   • For any test that requires probing the PCM or a component harness connector, use the Connector Test Adapter Kit J 35616 . Using this kit prevents damage to the harness/component terminals. Refer to Using Connector Test Adapters in Wiring Systems.

    • The vehicle fuel gauge displays empty with this DTC set.
    • Using Freeze Frame and/or Failure Records data may aid in locating an intermittent condition. If you cannot duplicate the DTC, the information included in the Freeze Frame and/or Failure Records data can aid in determining how many miles since the DTC set. The Fail Counter and Pass Counter can also aid determining how many ignition cycles the diagnostic reported a pass and/or a fail. Operate the vehicle within the same freeze frame conditions (RPM, load, vehicle speed, temperature etc.) that you observed. This will isolate when the DTC failed.
    • For an intermittent, refer to Symptoms .

Test Description

The numbers below refer to the step numbers on the Diagnostic Table.

  1. This step determines if the fault is present.

  2. Using the Freeze Frame and/or Failure Records data may aid in locating an intermittent condition. If you cannot duplicate the DTC, the information included in the Freeze Frame and/or Failure Records data can help determine how many miles since the DTC set. The Fail Counter and Pass Counter can also help determine how many ignition cycles the diagnostic reported a pass and/or a fail. Operate the vehicle within the same freeze frame conditions (RPM, load, vehicle speed, temperature etc.) that you observed. This will isolate when the DTC failed.

  3. Inspect the Fuel level signal circuit for short to the Fuel Pump ignition feed circuit.

Step

Action

Value(s)

Yes

No

1

Did you perform the Powertrain On-Board Diagnostic (OBD) System Check ?

--

Go to Step 2

Go to Powertrain On Board Diagnostic (OBD) System Check

2

  1. Install the scan tool.
  2. Idle the engine at the normal operating temperature.

Did DTC P1635 and P1639 Fail This Ignition cycle?

--

Go to DTC P1635 5 Volt Reference 1 Circuit

Go to Step 3

3

  1. Install the scan tool.
  2. Turn ON the ignition leaving the engine OFF.
  3. Monitor the Fuel Level sensor display on the scan tool.

Is the Fuel Level Sensor voltage above the specified value?

2.9 V

Go to Step 5

Go to Step 4

4

  1. Turn ON the ignition leaving the engine OFF.
  2. Review the Freeze Frame and/or Failure Records data for this DTC and observe the parameters.
  3. Turn OFF the ignition for 15 seconds.
  4. Start the engine.
  5. Operate the vehicle within the conditions required for this diagnostic to run, and as close to the conditions recorded in Freeze Frame and/or Failure Records as possible. Special operating conditions that you need to meet before the PCM will run this diagnostic, where applicable, are listed in Conditions for Running the DTC.
  6. Select the Diagnostic Trouble Code (DTC) option and the Specific DTC option, then enter the DTC number using the scan tool.

Does the scan tool indicate that this diagnostic failed this ignition?

--

Go to Step 5

Go to Diagnostic Aids

5

  1. Turn OFF the ignition.
  2. Raise the vehicle. Refer to Lifting and Jacking the Vehicle in General Information.
  3. Disconnect the Fuel tank jumper harness at the body pass through connector. Refer to

    Outside Left of Rear Floor Pan, Forward of Rear Axle


    Object Number: 383738  Size: MF
    (1)C405B
    (2)I/P wiring harness
    (3)C405C
    (4)Rear wheel speed sensor harness
    in Wiring Systems.
  4. Turn ON the ignition leaving the engine OFF.
  5. Measure the voltage from the Fuel Level signal circuit using the DMM J 39200 .

Is the Fuel Level sensor voltage above the specified value?

5 V

Go to Step 14

Go to Step 6

6

  1. Jumper the Fuel Level sensor terminals together at the body pass through connector (PCM side).
  2. Observe the Fuel Level sensor parameter on the scan tool.

Is the Fuel Level sensor voltage near the specified value?

0 V

Go to Step 11

Go to Step 7

7

Jumper the Fuel Level sensor signal circuit (PCM side) to a known good ground.

Is the Fuel Level sensor voltage near the specified value?

0 V

Go to Step 10

Go to Step 8

8

  1. Turn OFF the ignition.
  2. Disconnect the PCM connector C2 located on the opposite side of the manufacturer's logo. Refer to Powertrain Control Module Replacement/Programming .
  3. Test the Fuel Level sensor signal circuit for an open.

Is the Fuel Level sensor signal circuit open?

--

Go to Step 9

Go to Step 16

9

Repair the Fuel Level sensor signal circuit. Refer to Wiring Repairs in Wiring Systems.

Is the action complete?

--

Go to Step 18

--

10

  1. Turn OFF the ignition.
  2. Disconnect the PCM connector C1 located on the same side as the manufacturer's logo. Refer to Powertrain Control Module Replacement/Programming .
  3. Test the Fuel Level sensor ground circuit for an open.

Is the Fuel Level sensor ground circuit open?

--

Go to Step 15

Go to Step 16

11

  1. Inspect the fuel tank jumper harness for poor connections at the body pass through connector. Refer to Intermittents and Poor Connections Diagnosis in Wiring Systems.
  2. If you find a poor connection repair the terminal as necessary. Refer to Connector Repairs in Wiring Systems.

Did you find and correct the condition?

--

Go to Step 18

Go to Step 12

12

  1. Lower the fuel tank. Refer to Fuel Tank Replacement .
  2. Inspect the fuel tank jumper harness for the following conditions:
    • Damage to the fuel tank jumper harness.
    • Poor connections at the fuel level sender assembly. Refer to Intermittents and Poor Connections Diagnosis in Wiring Systems.
    • Broken or rubbed through wires.

Did you find and correct the condition?

--

Go to Step 18

Go to Step 13

13

Replace the Fuel Level sensor. Refer to Fuel Level Sensor Replacement .

Is the action complete?

--

Go to Step 18

--

14

Repair the Fuel Level sensor signal circuit for a short to voltage. Refer to Wiring Repairs in Wiring Systems.

Did you find and correct the condition?

--

Go to Step 18

Go to Step 17

15

Repair the Fuel Level sensor ground circuit. Refer to Wiring Repairs in Wiring Systems.

Is the action complete?

--

Go to Step 18

--

16

  1. Inspect for poor connections at the PCM. Refer to Intermittents and Poor Connections Diagnosis in Wiring Systems.
  2. If you find a poor connection, repair the terminal as necessary. Refer to Connector Repairs in Wiring Systems.

Did you find and correct the condition?

--

Go to Step 18

Go to Step 17

17

Important:: Program the replacement PCM. Refer to Powertrain Control Module Replacement/Programming .

Replace the PCM.

Is the action complete?

--

Go to Step 18

--

18

  1. Select the Diagnostic Trouble Code (DTC) option and the Clear DTC Information option using the scan tool.
  2. Idle the engine at the normal operating temperature.
  3. Select the Diagnostic Trouble Code (DTC) option and the Specific DTC option, then enter the DTC number using the scan tool.
  4. Operate the vehicle within the Conditions for Running the DTC as specified in the supporting text, if applicable.

Does the scan tool indicate that this test ran and passed?

--

Go to Step 19

Go to Step 2

19

Select the Capture Info option and the Review Info option using the scan tool.

Does the scan tool display any DTCs that you have not diagnosed?

--

Go to the applicable DTC

System OK