GM Service Manual Online
For 1990-2009 cars only

Object Number: 361775  Size: MF
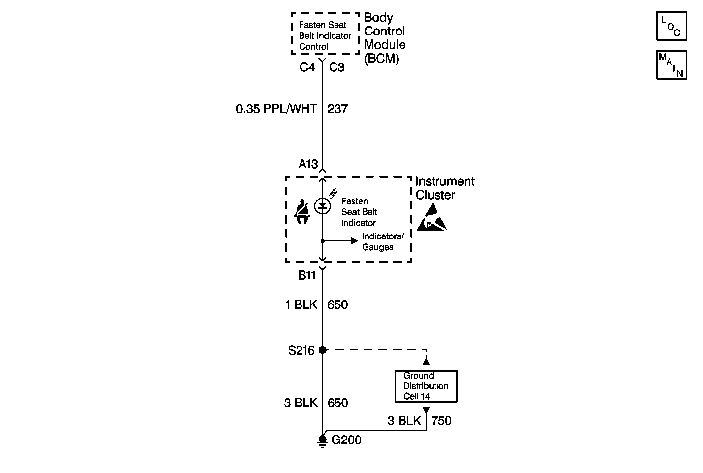
Body Control Module Components
Door Lock Switches, Instrument Cluster, Seat Belt Switch
Class 2 Indicators
G200 Door Locks, Mirrors, Windows
Handling ESD Sensitive Parts Notice

Circuit Description

The body control module (BCM) provides a 12 volt output to the FASTEN SEATBELT indicator lamp on the instrument cluster while the driver's seatbelt is unfastened.

Conditions for Setting the DTC

The FASTEN SEATBELT output has been detected by the BCM to be shorted to the ground, or shorted to B+ for greater than 50 milliseconds.

Action Taken When the DTC Sets

The FASTEN SEATBELT indicator lamp does not illuminate when the following conditions exist:

    • The ignition is in the ON position.
    • The driver side seatbelt is not fastened.

Conditions for Clearing the DTC

The fault is corrected and the DTC memory clearing procedure is completed.

Diagnostic Aids

If the only DTC that flashes is a HISTORY code (DTC 34), the problem may be intermittent. Perform the test shown while "wiggling" the wiring and connectors. This can often cause the fault to appear. Test for a poor connections at the BCM connector, which could cause an open or an intermittent fault. Refer to Intermittent/History DTCs in Diagnostic Trouble Code (DTC) Displaying Displaying DTCs .

Test Description

The number(s) below refer to the step number(s) on the diagnostic table.

  1. This step tests the FASTEN SEATBELT indicator for operation with the body control module (BCM) disconnected, which would reveal a short to B+ in circuit 237.

  2. This step determines if there is a short to the ground in the instrument cluster.

  3. If the instrument cluster is OK, this step determines if circuit 237 is shorted to the ground or if the BCM is defective.

  4. If there is a short to B+, this step determines if the short is in the instrument cluster or in circuit 237.

Step

Action

Value(s)

Yes

No

1

  1. Disconnect the body control module (BCM) connector C3.
  2. Turn the ignition switch to the RUN position.

Is the FASTEN SEATBELT indicator ON?

--

Go to Step 7

Go to Step 2

2

  1. Turn the ignition switch to the OFF position.
  2. Connect BCM connector C3.
  3. Remove the instrument cluster.
  4. Connect a test lamp from the instrument cluster connector terminal A13 to terminal B11.
  5. Unlatch the driver side seatbelt.
  6. Turn the ignition switch to the RUN position.

Does the test lamp light?

--

Go to Step 3

Go to Step 4

3

Replace the instrument cluster. Refer to Instrument Cluster Replacement .

Is the repair complete?

--

System OK

--

4

  1. Turn the ignition switch to the OFF position.
  2. Disconnect BCM connector C3.
  3. Connect a test lamp from BCM connector C3 terminal C4 to B+.

Does the test lamp light?

--

Go to Step 5

Go to Step 6

5

Repair the short to ground in circuit 237.

Is the repair complete?

--

System OK

--

6

Replace the BCM. Refer to Body Control Module Replacement .

Is the repair complete?

--

System OK

--

7

  1. Remove the instrument cluster.
  2. Connect a test lamp from BCM connector C3 terminal C4 to ground.

Does the test lamp light?

--

Go to Step 8

Go to Step 9

8

Repair a short to B+ in circuit 237.

Is the repair complete?

--

System OK

--

9

Replace the instrument cluster. Refer to Instrument Cluster Replacement .

Is the repair complete?

--

System OK

--