GM Service Manual Online
For 1990-2009 cars only

The Secondary Air Injection (AIR) system helps reduce Hydrocarbon (HC), Carbon Monoxide (CO), and Oxides of Nitrogen (NOx) exhaust emissions. It also heats up the 3-way catalytic converters quickly on engine start-up so conversion of exhaust gases can occur sooner.

The system includes the following:

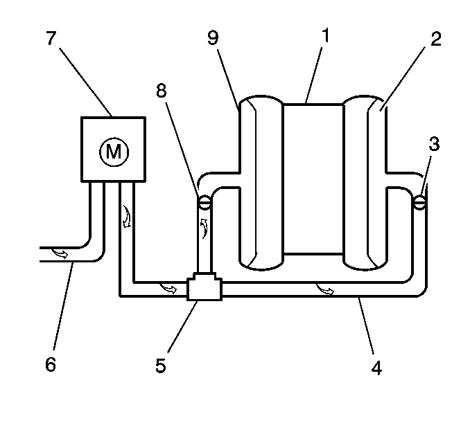
    • AIR pump - The AIR pump is mounted to the lower left front of the engine Compartment and supplies the air to the AIR system. The electric air pump pressurizes fresh air and pumps it to the AIR Shut Off Valve. The AIR pump is controlled by the PCM. Battery voltage to the AIR pump is controlled by the AIR pump relay. When the PCM provides a ground circuit for the secondary AIR pump relay, battery voltage is allowed to power up the AIR pump.
    • AIR Solenoid Valve - The AIR Solenoid Valve is located at the left rear of the intake manifold. The AIR Solenoid Valve is controlled by the PCM. The AIR Solenoid Valve controls the engine vacuum to the AIR Shut Off Valve. The PCM provides a ground circuit for the AIR Solenoid Valve, which allows engine vacuum to be applied to the AIR Shut Off Valve.
    • AIR Shut Off Valve - The AIR Shut Off Valve is mounted to the rear of the left cylinder head. The AIR Shut Off Valve controls the air flow from the AIR pump to the check valves. The PCM enables the AIR Solenoid Valve, which applies engine vacuum to the AIR Shut Off Valve. The applied engine vacuum opens the AIR Shut Off Valve and allows air supplied by the AIR Pump to flow to the check valves.
    • Check valves - The check valves prevent back flow of exhaust gases into the AIR system in the event of an exhaust backfire.
    • Necessary plumbing.
       - Hoses
       - Pipes
       - Clamps

AIR System (Typical)


Object Number: 605865  Size: SH
(1)

The AIR pump (7) is controlled by the PCM. The PCM will turn ON the AIR pump by providing the ground to complete the circuit which energizes the AIR pump relay. When air to the exhaust ports is desired, the PCM will turn ON the AIR Solenoid valve and then the AIR pump.

The PCM turns ON the AIR pump during startup any time engine coolant temperature is above -10°C (14°F). The AIR pump operates for a maximum of 240 seconds, or until the system enters Closed Loop operation. At the same time the PCM turns the AIR pump OFF, it also de-energizes the AIR Solenoid Valve so no vacuum is applied to the AIR Shut Off Valve (5).

The AIR system will be disabled under the following conditions:

    • When the PCM recognizes a condition and sets a diagnostic trouble code.
    • When the fuel system is operating in Closed Loop.
    • The AIR pump has been ON for 240 seconds.
    •  Engine Speed is greater than 2825 RPM.
    • MAP is greater than 96 kPa with VSS over 60 mph.
    • MAP is less than 20 kPa.
    • ECT less than -10°C (14°F).
    • 3-way catalytic converters over temperature detected.
    • Short and long term fuel trim are not in the normal range.
    • Power enrichment is detected.

Results of Incorrect Operation

If no air (oxygen) flow enters the exhaust stream at the exhaust ports, HC and CO emission levels will be too high.

Air flowing to the exhaust ports at all times could increase temperature of the 3-way catalytic converter.

Diagnostic Trouble Codes P0410, P0412, P1415, and P1416 will set if there is a malfunction in the following components:

    • The AIR pump.
    • The AIR pump relay.
    • The AIR shut off valve.
    • Hoses or pipes that are leaking.
    • The Check valves that are leaking.
    • Circuits going to the AIR pump and the AIR pump relay.
    • The AIR Solenoid Valve.
    • Circuits going to the AIR solenoid Valve.

AIR Pump

The AIR pump is a regenerative turbine type which is permanently lubricated and requires no periodic maintenance.

The engine should be at normal operating temperature in neutral at idle. Using the scan tool enable the AIR pump system. Select HO2S voltages for both Bank 1 and Bank 2 HO2S. The HO2S voltages for both sensors should remain under 350 mV because air is being directed to the exhaust ports. If the HO2S voltages remain low during the Output Test, the AIR pump and integral stop valve are operating satisfactorily. If the HO2S voltage does not remain low when the AIR pump is enabled, inspect for the following:

    • For voltage at the Air Pump when it is energized.
    • For a seized AIR pump.
    • Hoses, pipes and all connections for leaks and proper routing.
    • For air flow going to the exhaust ports.
    • AIR pump for proper mounting.
    • Hoses and Pipes for deterioration or holes.