GM Service Manual Online
For 1990-2009 cars only

Removal Procedure


    Object Number: 208554  Size: SH
  1. Drain the engine oil.
  2. Drain the engine coolant. Refer to Cooling System Draining and Filling in Engine Cooling.
  3. Disconnect the intake air temperature (IAT) sensor electrical connector.

  4. Object Number: 554755  Size: SH
  5. Remove the air intake duct.
  6. Loosen the coolant pump pulley bolts.
  7. Remove the drive belt tensioner. Refer to Drive Belt Tensioner Replacement .
  8. Remove the power steering pump. Refer to Power Steering Pump Replacement in Power Steering System.
  9. Raise and suitably support the vehicle. Refer to Lifting and Jacking the Vehicle in General Information.
  10. Remove the crankshaft balancer. Refer to Crankshaft Balancer Replacement .

  11. Object Number: 440841  Size: SH
  12. Disconnect the crankshaft position sensor electrical connector.
  13. Remove the crankshaft position sensor shield.

  14. Object Number: 554767  Size: SH
  15. Remove the crankshaft position sensor studs.
  16. Remove the crankshaft position sensor.
  17. Remove the oil pan to front cover bolts.
  18. Loosen the oil pan bolts, to drop the oil pan slightly in order to add clearance for the front cover installation.
  19. Lower the vehicle.

  20. Object Number: 221711  Size: SH
  21. Remove the coolant pump pulley bolts.
  22. Remove the coolant pump pulley.

  23. Object Number: 221689  Size: SH
  24. Remove the radiator outlet hose from the front cover.

  25. Object Number: 50504  Size: SH
  26. Remove the engine front cover studs and bolts (1).
  27. Remove the engine front cover (2).

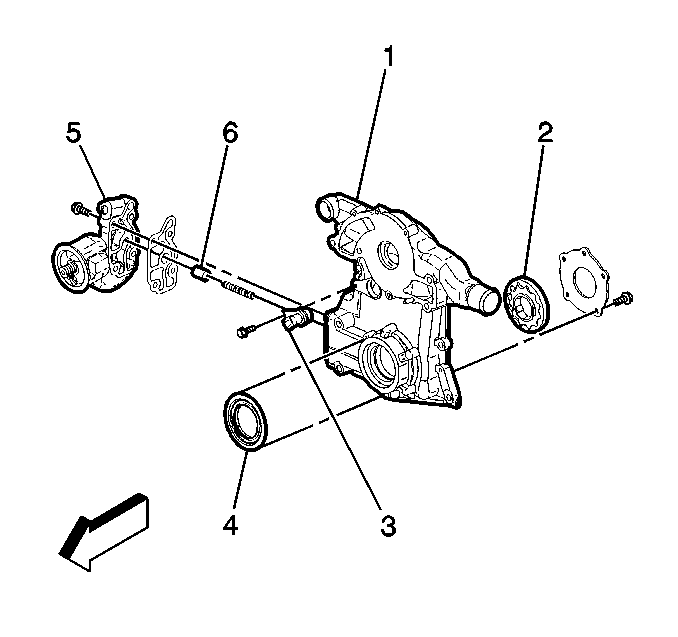
  28. Object Number: 440843  Size: SH
  29. Remove the engine front cover gasket from the engine block.

  30. Object Number: 11687  Size: SH
  31. Remove the coolant pump bolts (1).
  32. Remove the coolant pump (2).
  33. Remove the coolant pump gasket (3) from the front cover (4).

  34. Object Number: 445496  Size: SH
  35. If replacing the front cover (1), disassemble the following components:
  36. • Oil pump gear set (2)
    • Camshaft sensor (3)
    • Oil filter adapter (5) and gasket
    • Oil pressure relief valve (6) and spring
  37. Remove the crankshaft front oil seal (4).
  38. Clean the engine front cover and engine block surfaces.

Installation Procedure

Tools Required

    • J 36660-A Torque Angle Meter
    • J 35354 Seal Installer

    Object Number: 445496  Size: SH
  1. If replacing the front cover (1), assemble the following parts:
  2. • Oil pump gear set (2)
    • Camshaft sensor (3)
    • Oil filter adapter (5) and a new gasket
    • Oil pressure relief valve (6) and spring
  3. Install a new crankshaft front oil seal (4)

  4. Object Number: 11687  Size: SH
  5. Install the coolant pump gasket (3) to the front cover (4).
  6. Install the coolant pump (2).
  7. Install the coolant pump bolts (1).
  8. Tighten
    Tighten the coolant pump bolts (1) to 15 N·m (11 lb ft). Use the J 36660-A to torque the coolant pump bolts (1) an additional 80 degrees.


    Object Number: 440843  Size: SH
  9. Install a new engine front cover gasket to the engine block.

  10. Object Number: 50504  Size: SH
  11. Install the engine front cover (2).

  12. Object Number: 445603  Size: SH
  13. Apply sealant GM P/N 12346004 or equivalent to the engine front cover bolts (1) and stud (2).
  14. Install the engine front cover bolts (1) and stud (2).
  15. Tighten
    Tighten the front cover bolts (1) and stud (2) to 20 N·m (15 lb ft). Use the J 36660-A to torque the front cover bolts (1) and stud (2) an additional 40 degrees.


    Object Number: 221689  Size: SH
  16. Install the radiator outlet hose to the front cover.

  17. Object Number: 221711  Size: SH
  18. Install the coolant pump pulley.
  19. Install the coolant pump pulley bolts.
  20. Tighten
    Tighten the coolant pump pulley bolts to 13 N·m (115 lb in).

  21. Raise and suitably support the vehicle. Refer to Lifting and Jacking the Vehicle in General Information.
  22. Install the oil pan to front cover bolts.
  23. Tighten
    Tighten the oil pan bolts to 14 N·m (10 lb ft).


    Object Number: 554767  Size: SH
  24. Install the crankshaft position sensor.
  25. Apply sealant GM P/N 12346004 or equivalent to the crankshaft position sensor studs.
  26. Install the crankshaft position sensor studs.
  27. Tighten
    Tighten the crankshaft position sensor studs to 20 N·m (15 lb ft). Use the J 36660-A to torque the crankshaft position sensor studs an additional 40 degrees.


    Object Number: 440841  Size: SH
  28. Install the crankshaft position sensor shield.
  29. Connect the crankshaft position sensor electrical connector.
  30. Install the crankshaft balancer. Refer to Crankshaft Balancer Replacement .
  31. Lower the vehicle.
  32. Install the power steering pump. Refer to Power Steering Pump Replacement in Power Steering System.
  33. Install the drive belt tensioner. Refer to Drive Belt Tensioner Replacement .

  34. Object Number: 554755  Size: SH
  35. Install the air intake duct.

  36. Object Number: 208554  Size: SH
  37. Connect the intake air temperature (IAT) sensor electrical connector.
  38. Refill the engine oil.
  39. Refill the engine coolant. Refer to Cooling System Draining and Filling in Engine Cooling.