GM Service Manual Online
For 1990-2009 cars only
Makes
🢒
Pontiac
🢒
2000
🢒
Firebird
🢒
Body and Accessories
🢒
Lighting Systems
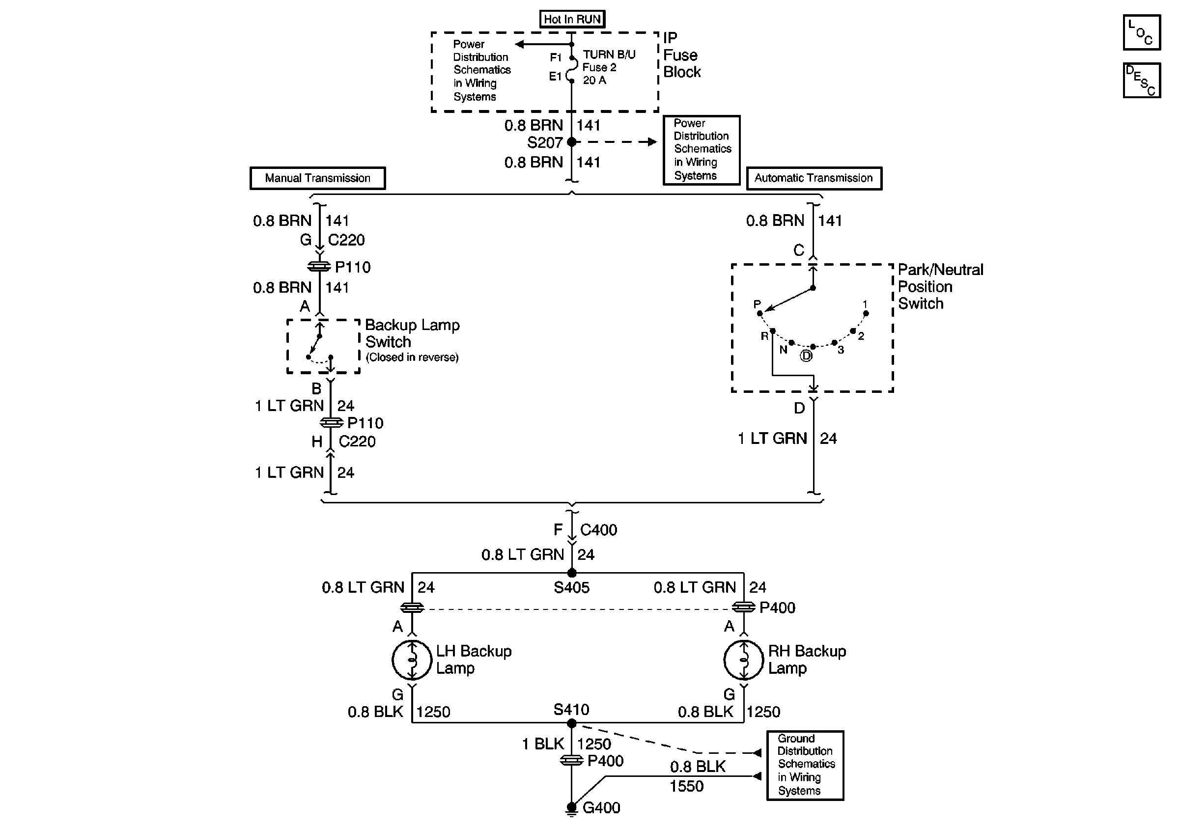
🢒 Backup Lamp Schematics
Backup Lamp Schematics Pont and Chev: Domest and Gulf States
Park Neutral Position Switch, Backup Lamp Switch, Backup Lamps
Lighting Systems Components
Backup Lamp Circuit Description
G400 Chevrolet
HVAC and TURN B/U Fuses
HVAC and TURN B/U Fuses