GM Service Manual Online
For 1990-2009 cars only
Table 1: Antenna System Resistance Values

Antenna System Test


Object Number: 565505  Size: MF
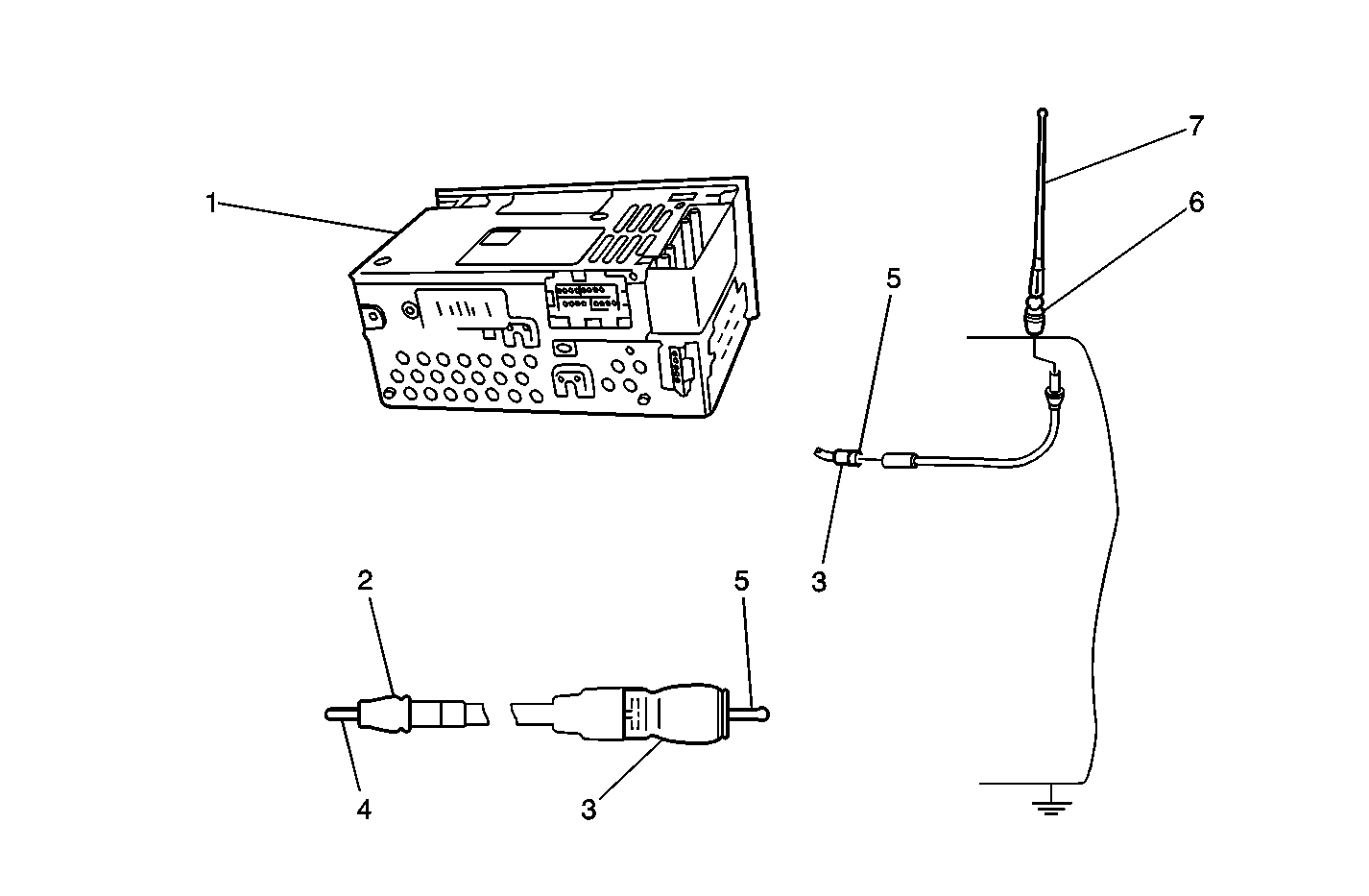
(1)Radio Receiver
(2)Metal Case (Radio Tip)
(3)Metal Case (Antenna Tip)
(4)Tip for Radio
(5)Tip for Antenna
(6)Antenna Base
(7)Antenna Mast

Antenna System Resistance Values

Digital Multimeter Probe Points

Resistance Measured in ohms

Important: Remove the negative lead of the battery and zero the meter before measuring the resistance of the antenna. When checking resistance, cautiously wiggle the antenna mast, lead-in tip and cable. The readings listed below must be obtained. If the readings are other than those listed, some portion of the lead-in is intermittent and the lead-in should be replaced.

1 and 2

less than 0.15

1 and 6

less than 0.15

2 and 3

less than 0.15

2 and 6

less than 0.15

1 and 4

Infinite

2 and 4

Infinite

2 and 5

Infinite

2 and 7

Infinite

1 and 5

Infinite

1 and 7

Infinite

1 and 3

less than 0.15

4 and 7 (RG-62 and RG-62M)

less than 3.5

4 and 7 (RG-58 and RG-59)

less than 0.2

4 and 2

Infinite

4 and 6

Infinite

4 and 3

Infinite

5 and 3

Infinite

4 and 5 (RG-62 and RG-62M)

less than 3.5

4 and 5 (RG-58 and RG-59)

less than 0.2

Step

Action

Value(s)

Yes

No

1

  1. Disconnect the antenna lead-in connector at the radio receiver.
  2. Measure the resistance between the coax (outer conductor) connector and the negative battery cable with a DMM. Refer to Circuit Testing in Wiring Systems.

Is the resistance value greater than 0.15 ?

> 0.15 ohms

Go to Step 2

Go to Step 5

2

Inspect the base of the antenna.

Is the connection good to the body ground?

--

Go to Step 3

Go to Step 6

3

Inspect the coaxial cable interconnects for a poor connection or corrosion. Refer to Testing for Intermittent Conditions and Poor Connections in Wiring Systems.

Is either symptom present?

--

Go to Step 4

Go to Step 6

4

Inspect the ground connection from the battery negative cable to the body. Refer to Testing for Intermittent Conditions and Poor Connections in Wiring Systems.

Is the connection good?

--

Go to Step 5

Go to Step 6

5

  1. Grasp the antenna mast.
  2. Wiggle the antenna while observing the DMM.

Does the meter indicate intermittent continuity?

--

Go to Step 2

Go to Step 7

6

Repair the antenna ground circuit. Refer to Antenna Mast Cleaning .

Is the repair complete?

--

System OK

--

7

Measure the resistance between the radio coax lead-in connector (center conductor) and the antenna mast with a DMM. Refer to Circuit Testing in Wiring Systems.

Is the measured resistance less than the specified values?

RG-58/RG-59: 0.2 ohms

RG-62/RG-62M: 3.5 ohms

Go to Step 8

Go to Step 3

8

Wiggle the antenna coax while observing the DMM.

Does the meter indicate intermittent continuity?

--

Go to Step 9

System OK

9

Inspect the coaxial cable interconnects for a poor connection or corrosion. Refer to Testing for Intermittent Conditions and Poor Connections in Wiring Systems.

Is either symptom present?

--

Go to Step 10

System OK

10

Repair/replace the antenna coaxial circuit. Refer to Power Antenna Motor Replacement

.

Is the repair complete?

--

System OK

--