GM Service Manual Online
For 1990-2009 cars only

Ignition Coil Replacement 3.8 L

Removal Procedure


    Object Number: 211652  Size: SH
  1. Disconnect the electrical connector from the control module.
  2. Disconnect the spark plug wires from the coil being serviced.

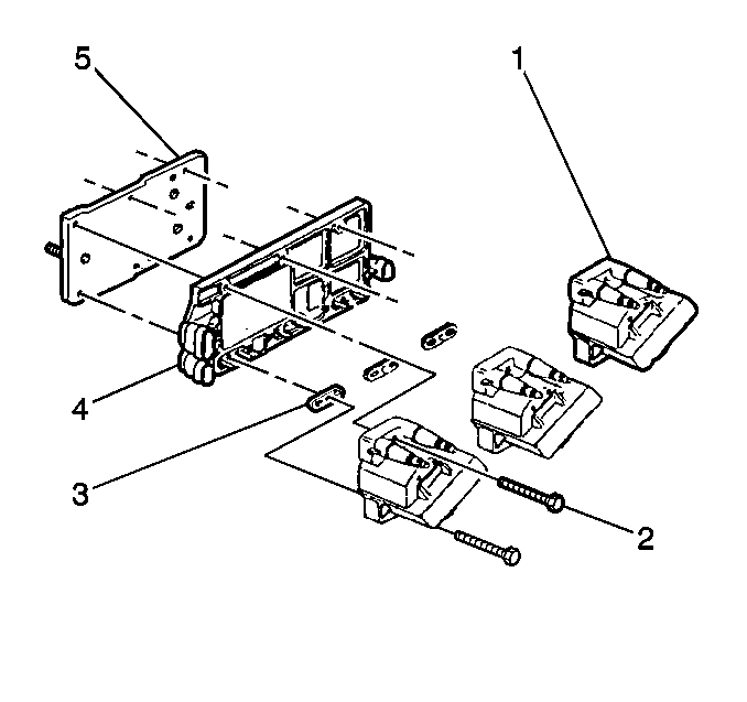
  3. Object Number: 379371  Size: SH
  4. Remove the ignition coil bolts (2).
  5. Remove the ignition coil (1) from the module (4).
  6. Remove the ignition coil seal (3), if required.

Installation Procedure


    Object Number: 379371  Size: SH
  1. Install the ignition coil seal (3), if removed.
  2. Install the ignition coil (1) to the module (4).
  3. Install the ignition coil bolts (2).
  4. Tighten
    Tighten the ignition coil bolts (2) to 4 N·m (35 lb in).


    Object Number: 211652  Size: SH
  5. Connect the spark plug wires to the coil.
  6. Connect the electrical connector from the control module.
  7. Tighten
    Tighten the ignition control module bolt to 2.5 N·m (22 lb in).

Ignition Coil Replacement 5.7 L

Removal Procedure


    Object Number: 211648  Size: SH
  1. Disconnect the main electrical connector feeding the ignition coils.
  2. Disconnect the ignition coil harness connectors.
  3. Disconnect the spark plug wire at the ignition coil.

  4. Object Number: 309850  Size: SH
  5. Remove the ignition coil mounting bolts.
  6. Remove the ignition coil.

Installation Procedure


    Object Number: 309850  Size: SH
  1. Install the ignition coil.
  2. Install the ignition coil mounting bolts.
  3. Tighten
    Tighten the ignition coil mounting bolts to 12 N·m (106 lb in).


    Object Number: 211648  Size: SH
  4. Connect the spark plug wire at the ignition coil.
  5. Connect the ignition coil harness connector.
  6. Connect the main electrical connector feeding the ignition coils.