GM Service Manual Online
For 1990-2009 cars only
Makes
🢒
Pontiac
🢒
2000
🢒
Firebird
🢒
Body and Accessories
🢒
Frame and Underbody
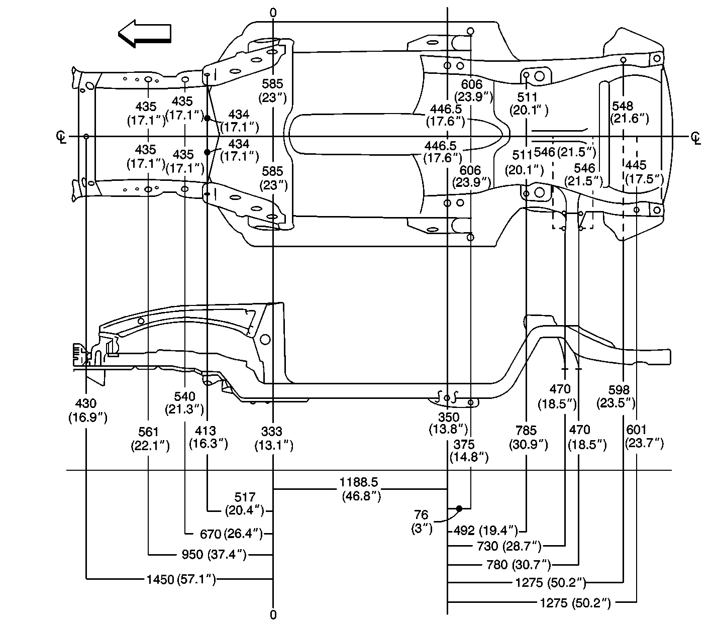
🢒 Dimensions - Frame
Figure
1:
Frame Dimensions-Front
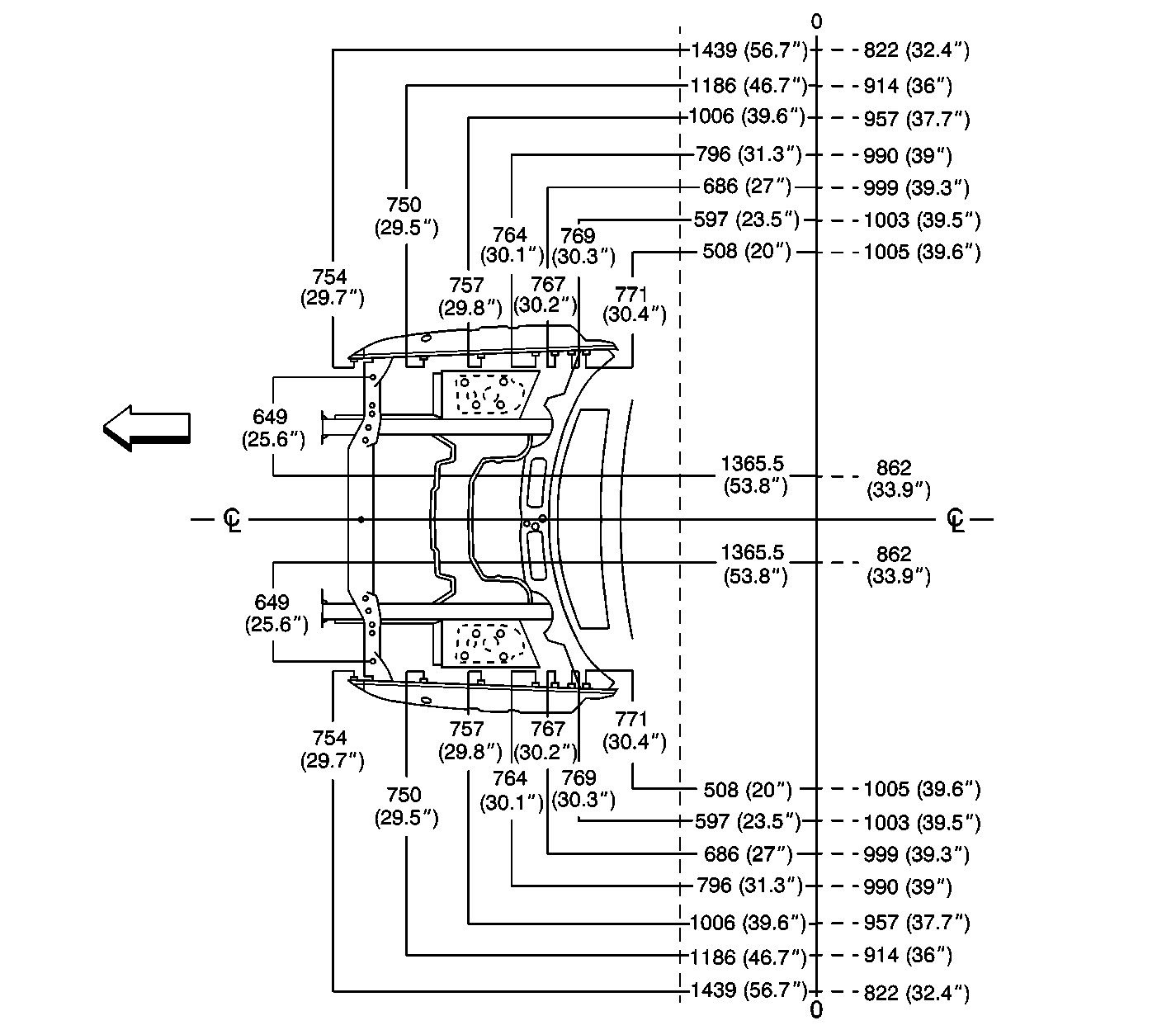
Figure
2:
Frame Dimensions-Front/Top
Figure
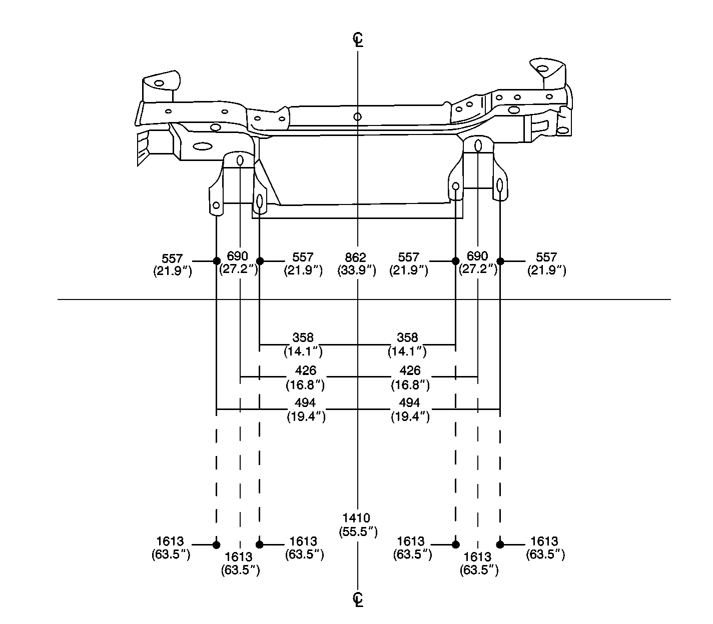
3:
Frame Dimensions-Underbody