Below are the body front end fit requirements for Chevrolet and Pontiac, all specifications apply to both vehicles unless otherwise specified.
Specification
Gap specification is 10.7 mm (+/- 3.0 mm), 0.42 in
(+/- 0.12 in).
Specification
Gap specification is 5.0 mm (+/- 1.5 mm), 0.197 in
(+/- 0.06 in).
Specification
Gap specification is 7.0 mm (+/- 5.0 mm), 0.276 in
(+/- 0.197 in).
Specification
Gap specification is 5.0 mm (+/- 1.5 mm), 0.197 in
(+/- 0.06 in).
Specification
Gap specification is 2.5 mm (+/- 2.5 mm), 0.098 in
(+/- 0.098 in).
Specification
Gap specification is 4.0 mm (+/- 1.5 mm), 0.158 in
(+/- 0.06 in).
Specification
Gap cross-car side to side specification within 1.5 mm (0.06 in).
Specification
Gap specification is 4.6 mm (+/- 1.5 mm), 0.18 in
(+/- 0.06 in).
Specification
Gap specification is 4.0 mm (+/- 1.5 mm), 0.158 in
(+/- 0.06 in).
Specification
Gap specification is 0.00 mm (+ 0.50 / - 0.00 in).
Specification
Gap cross-car side to side specification within 2.0 mm (0.079 in).
Specification
Gap specification is 5.0 mm (+/- 2.0 mm), 0.197 in
(+/- 0.79 in).
Specification
Gap specification is 4.0 mm (+/- 1.5 mm), 0.158 in
(+/- 0.06 in).
Specification
Gap specification is 4.0 mm (+/- 1.5 mm, 0.158 in
(+/- 0.06 in).
Below are the body rear end fit requirements for Chevrolet and Pontiac, all specifications apply to both vehicles unless otherwise specified.
Specification
Gap specification is 5.0 mm (+/- 1.5 mm), 0.197 in
(+/- 0.06 in).
Specification
Gap specification is 8.0 mm (+/- 2.0 mm), 0.315 in
(+/- 0.79 in).
Specification
Gap specification is 8.0 mm (+/- 2.0 mm), 0.315 in
(+/- 0.79 in).
Specification
Gap specification is 4.0 mm (+/- 1.5 mm), 0.158 in
(+/- 0.06 in).
Specification
| • | Gap specification between the lift window panel (1) and the lens (2) is 10.5 mm (+/- 3.0 mm), 0.413 in (+/- 0.118 in). |
| • | Gap specification between the lens (2) and the finish panel (3) is 2.0 mm (+/- 2.0 mm), 0.79 in (+/- 0.79 in). |
Specification
| • | Gap specification between the lift window panel (1) and the lens (2) is 5.0 mm (+/- 3.0 mm), 0.197 in (+/- 0.118 in). |
| • | Gap specification between the lens (2) and the finish panel (3) is 4.0 mm (+/- 2.0 mm), 0.158 in (+/- 0.79 in). |
Specification
Gap specification is 3.0 mm (+/- 1.0 mm), 0.118 in
(+/- 0.349 in).
Specification
Gap specification is 2.0 mm (+/- 2.0 mm), 0.79 in
(+/- 0.79 in).
Specification
Gap specification is 4.0 mm (+/- 2.0 mm), 0.158 in
(+/- 0.79 in).
Specification
Gap specification is 0.00 mm (+ 0.50 / -0.00 mm).
Specification
Gap specification is 2.0 mm (+/- 1.5 mm), 0.079 in
(+/- 0.06 in).
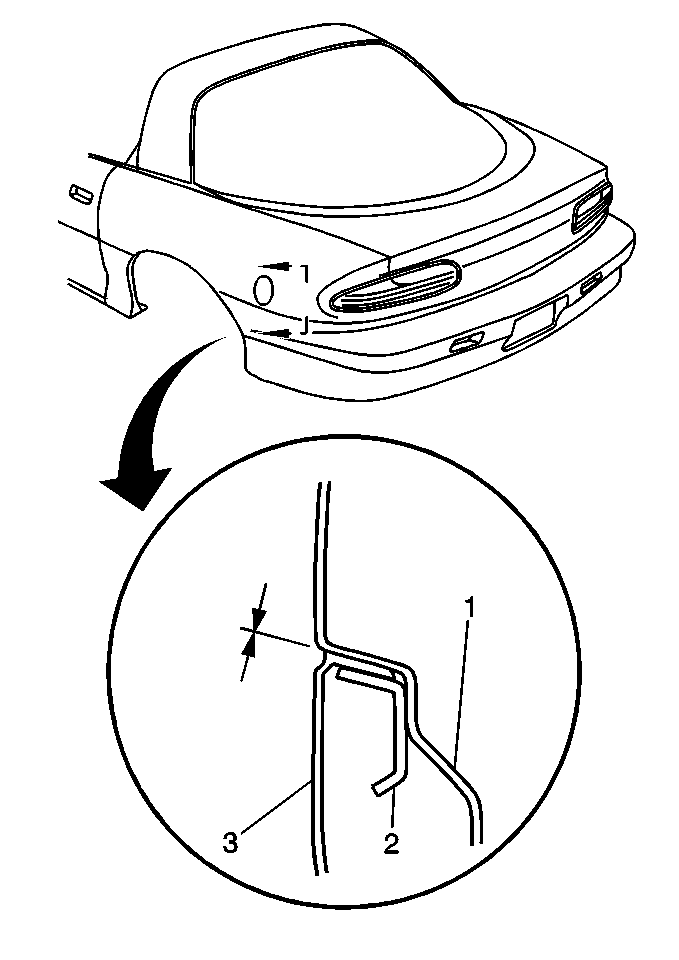
Specification
| • | Gap specification between the deck lid (1) and the finish panel (2) is 8.5 mm (+/- 3.0 mm), 0.335 in (+/- 0.118 in). |
| • | Gap specification between the finish panel (2) and the rear bumper fascia (3) is 6.0 mm (+/- 2.0 mm), 0.236 in (+/- 0.79 in). |
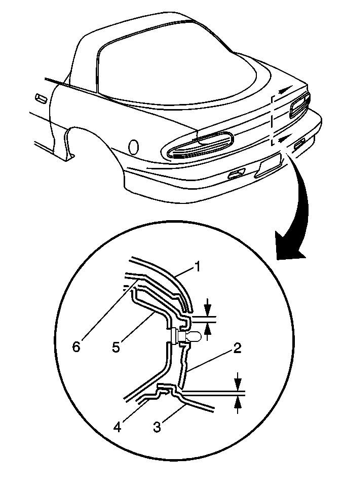
Specification
| • | Gap specification between the deck lid spoiler (1) and the rear end filler (3) is 5.0 mm (+/- 3.0 mm), 0.197 in (+/- 0.118 in). |
| • | Gap specification between the rear end filler (3) and the rear bumper fascia (5) is 4.0 mm (+/- 2.0 mm), 0.158 in (+/- 0.079 in). |
Specification
Gap specification is 5.0 mm (+/- 1.5 mm), 0.197 in
(+/- 0.06 in).
Specification
Gap specification is 2.0 mm (+/- 1.0 mm), 0.079 in
(+/- 0.0394 in).
Specification
Gap specification is 1.0 mm (+/- 0.5 mm), 0.0394 in
(+/- 0.0197 in).
Specification
horizontal and vertical gap specification is 1.0 mm (+/- 1.0 mm),
0.0394 in (+/- 0.0394 in).
Specification
| • | Top horizontal gap specification is 0.5 mm (+/- 0.5 mm), 0.0197 in (+/- 0.0197 in). |
| • | Vertical gap specification is 1.5 mm (+/- 1.0 mm), 0.059 in (+/- 0.0394 in). |
| • | Bottom horizontal gap specification is 1.5 mm (+/- 1.0 mm), 0.059 in (+/- 0.0394 in). |
Specification
| • | horizontal gap specification is 1.0 mm (+/- 1.0 mm), 0.0394 in (+/- 0.0394 in). |
| • | Vertical gap specification is 1.5 mm (+/- 1.0 mm), 0.059 in (+/- 0.0394 in). |
Below are the roof and upper body fit requirements for Chevrolet and Pontiac, all specifications apply to both vehicles unless otherwise specified.
Specification
Gap specification is 2.0 mm (+/- 1.0 mm), 0.079 in
(+/- 0.0394 in).
Specification
Gap specification is 2.0 mm (+/- 1.0 mm), 0.079 in
(+/- 0.0394 in).
Specification
Gap specification is 5.0 mm (+/- 2.0 mm), 0.197 in
(+/- 0.079 in).
Specification
Gap specification is 15.0 mm (+/- 3.0 mm), 0.591 in
(+/- 0.119 in).
Specification
Gap specification is 15.0 mm (+/- 3.0 mm), 0.591 in
(+/- 0.119 in).
Specification
Gap specification is 8.0 mm (+/- 2.0 mm), 0.315 in
(+/- 0.079 in).
Specification
Gap specification is 6.0 mm (+/- 3.0 mm), 0.24 in
(+/- 0.119 in).
Specification
Gap specification is 7.5 mm (+/- 3.0 mm), 0.295 in
(+/- 0.119 in).
Specification
Gap specification is 0.0 mm (+3.0 in/ -0.0 in).
Specification
Gap specification is 5.0 mm (+/- 3.0 mm), 0.197 in
(+/- 0.119 in).
Specification
Gap specification is 3.0 mm (+/- 2.0 mm), 0.119 mm
(+/- 0.079 in).
Specification
Gap specification is 0.0 mm (+3.0 in/ -0.0 in).