GM Service Manual Online
For 1990-2009 cars only
Makes
🢒
Pontiac
🢒
2000
🢒
Firebird
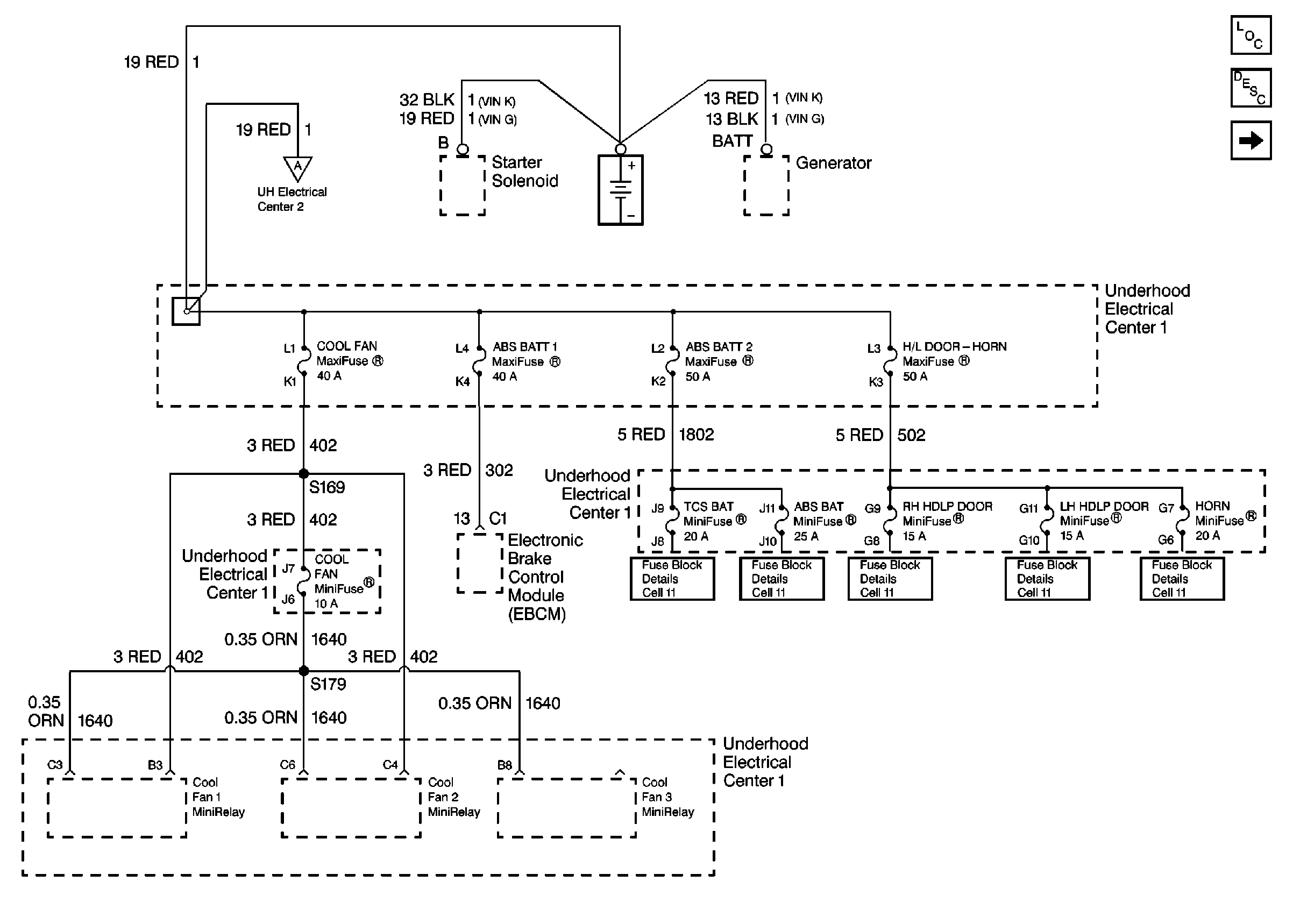
🢒 Battery and Underhood Electrical Center 1
Battery and Underhood Electrical Center 1
Battery and Underhood Electrical Center 1
Power and Grounding Components
Fusible Links, IP Fuse Block, and Underhood Electrical Centers
U/H Center 1: Cool Fan, TCS BAT, ABS BAT SOL, RH HDLP Door, LH HDLP Door and Horn Fuses
U/H Center 1: Cool Fan, TCS BAT, ABS BAT SOL, RH HDLP Door, LH HDLP Door and Horn Fuses
U/H Center 1: Cool Fan, TCS BAT, ABS BAT SOL, RH HDLP Door, LH HDLP Door and Horn Fuses
U/H Center 1: Cool Fan, TCS BAT, ABS BAT SOL, RH HDLP Door, LH HDLP Door and Horn Fuses
U/H Center 1: Cool Fan, TCS BAT, ABS BAT SOL, RH HDLP Door, LH HDLP Door and Horn Fuses
Fusible Links, IP Fuse Block, and Underhood Electrical Centers