GM Service Manual Online
For 1990-2009 cars only
Makes
🢒
Pontiac
🢒
2000
🢒
Firebird
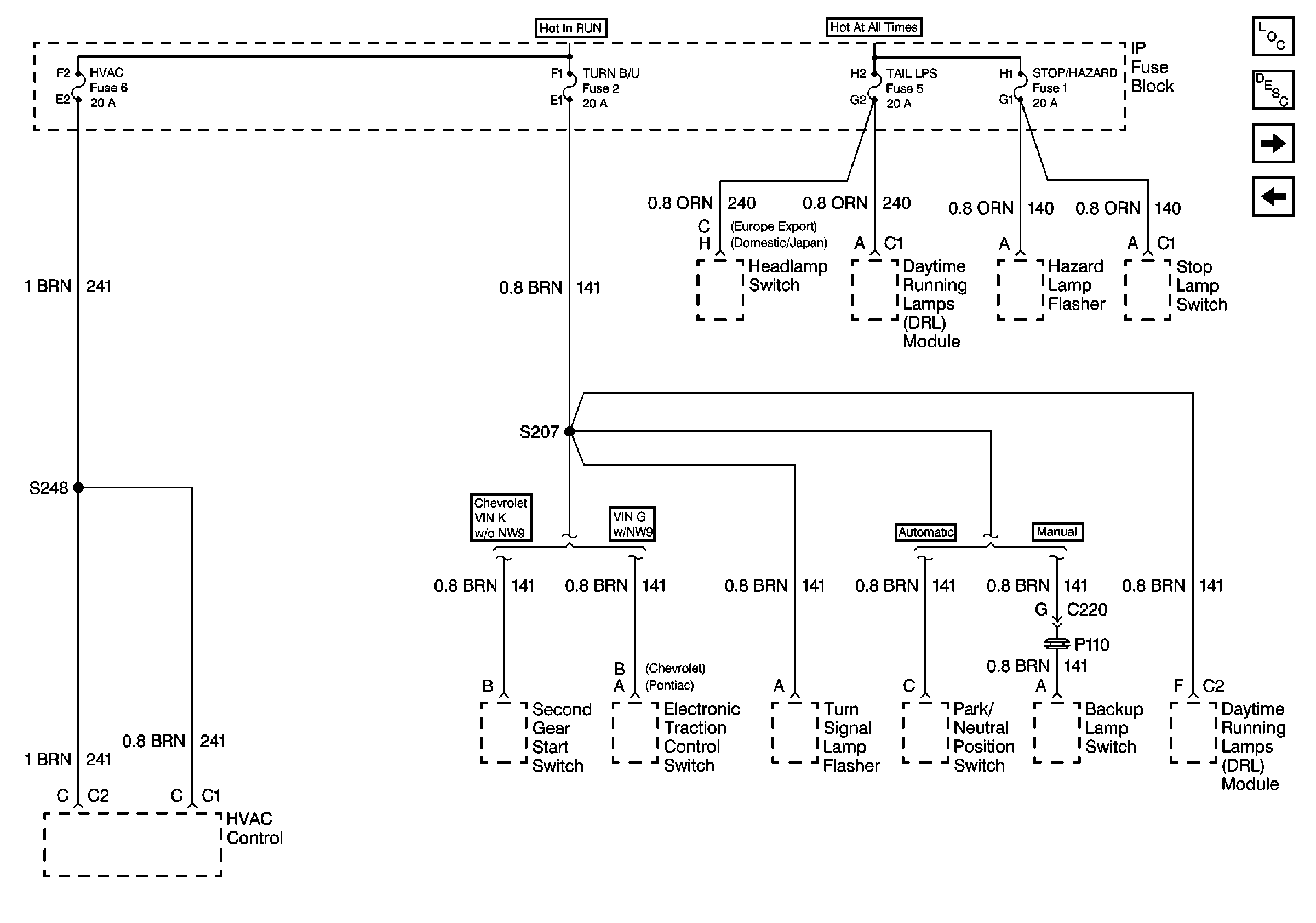
🢒 I/P Fuses 1, 2, 5 and 6
I/P Fuses 1, 2, 5 and 6
I/P Fuses 1, 2, 5 and 6
Power and Grounding Components
I/P Fuses 3, 14, 17 and Circuit Breaker 15
U/H Center 2: ENG SEN Fuse