GM Service Manual Online
For 1990-2009 cars only
Makes
🢒
Pontiac
🢒
2000
🢒
Firebird
🢒 V6 VIN K
V6 VIN K
V6 VIN K
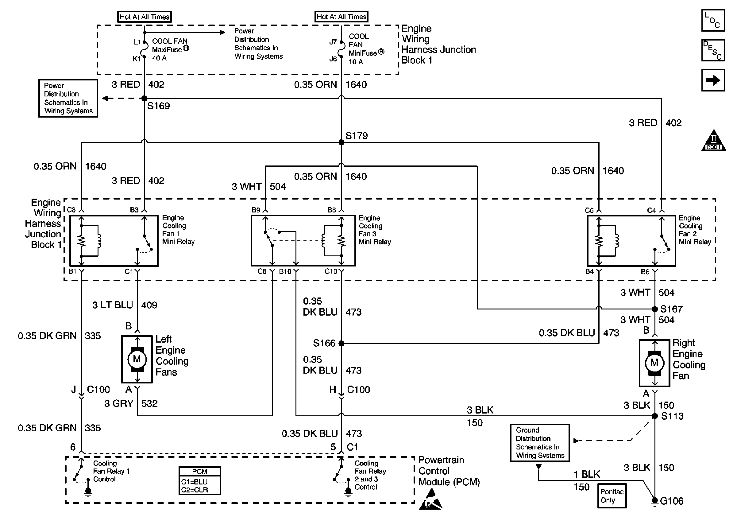
Cooling System Components
Engine Cooling Fan Description - Electric
V8 VIN G
OBD II Symbol Description Notice
Handling ESD Sensitive Parts Notice
Battery, ABS BAT-1 and COOL FAN Fuses
Battery, ABS BAT-1 and COOL FAN Fuses
Powertrain Control Module Connector End Views
G106