GM Service Manual Online
For 1990-2009 cars only
Makes
🢒
Pontiac
🢒
2000
🢒
Firebird
🢒 Heated Oxygen Sensors
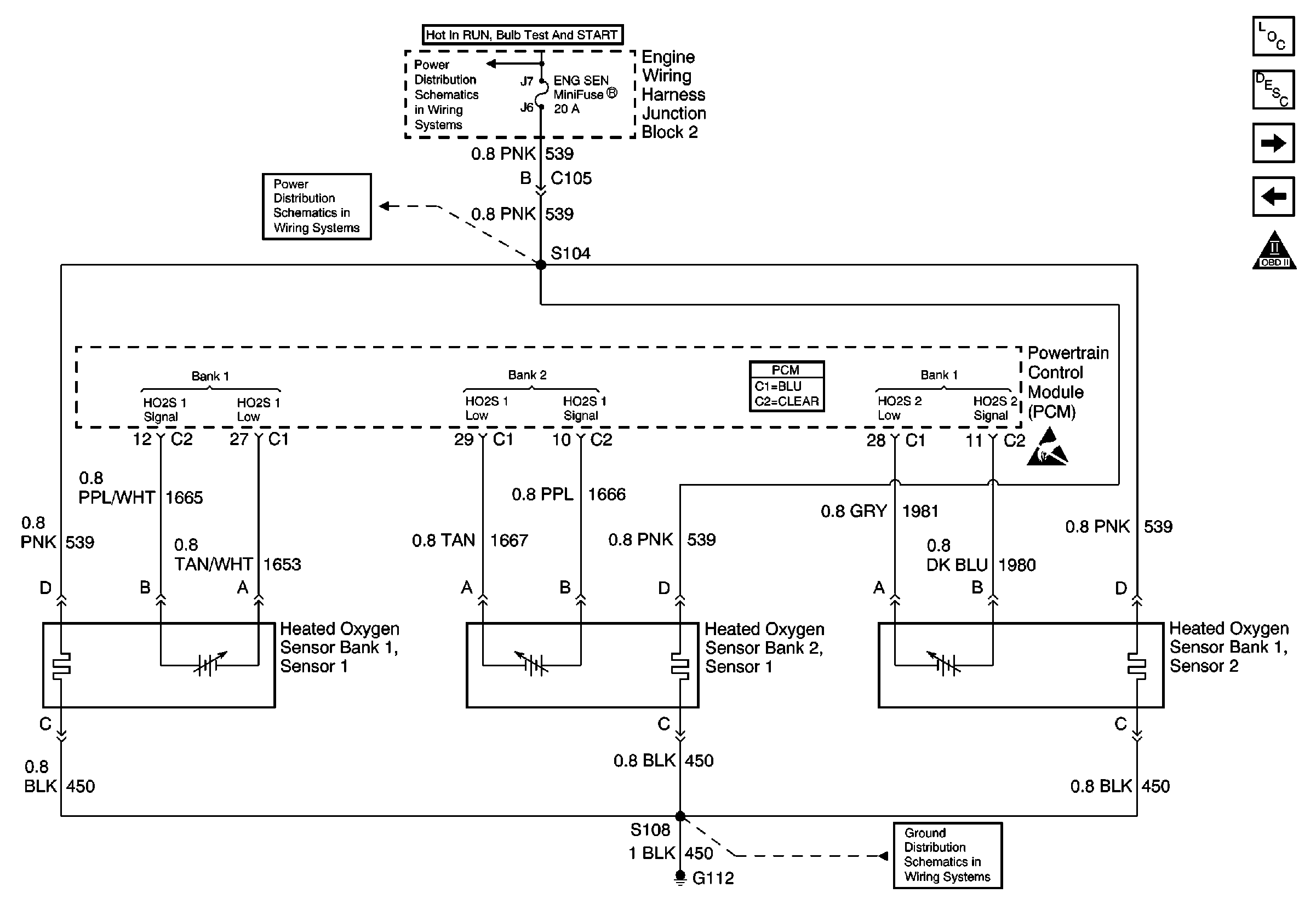
Heated Oxygen Sensors
Heated Oxygen Sensors
Engine Controls Components
MAF Sensor, EVAP System, EGR Valve
MAP, ECT, IAT Sensors
OBD II Symbol Description Notice
Handling ESD Sensitive Parts Notice
G112 V6 VIN K
Powertrain Control Module Connector End Views
ENG SEN Fuse
ENG SEN Fuse
Information Sensors/Switches Description