GM Service Manual Online
For 1990-2009 cars only
Makes
🢒
Pontiac
🢒
2000
🢒
Firebird
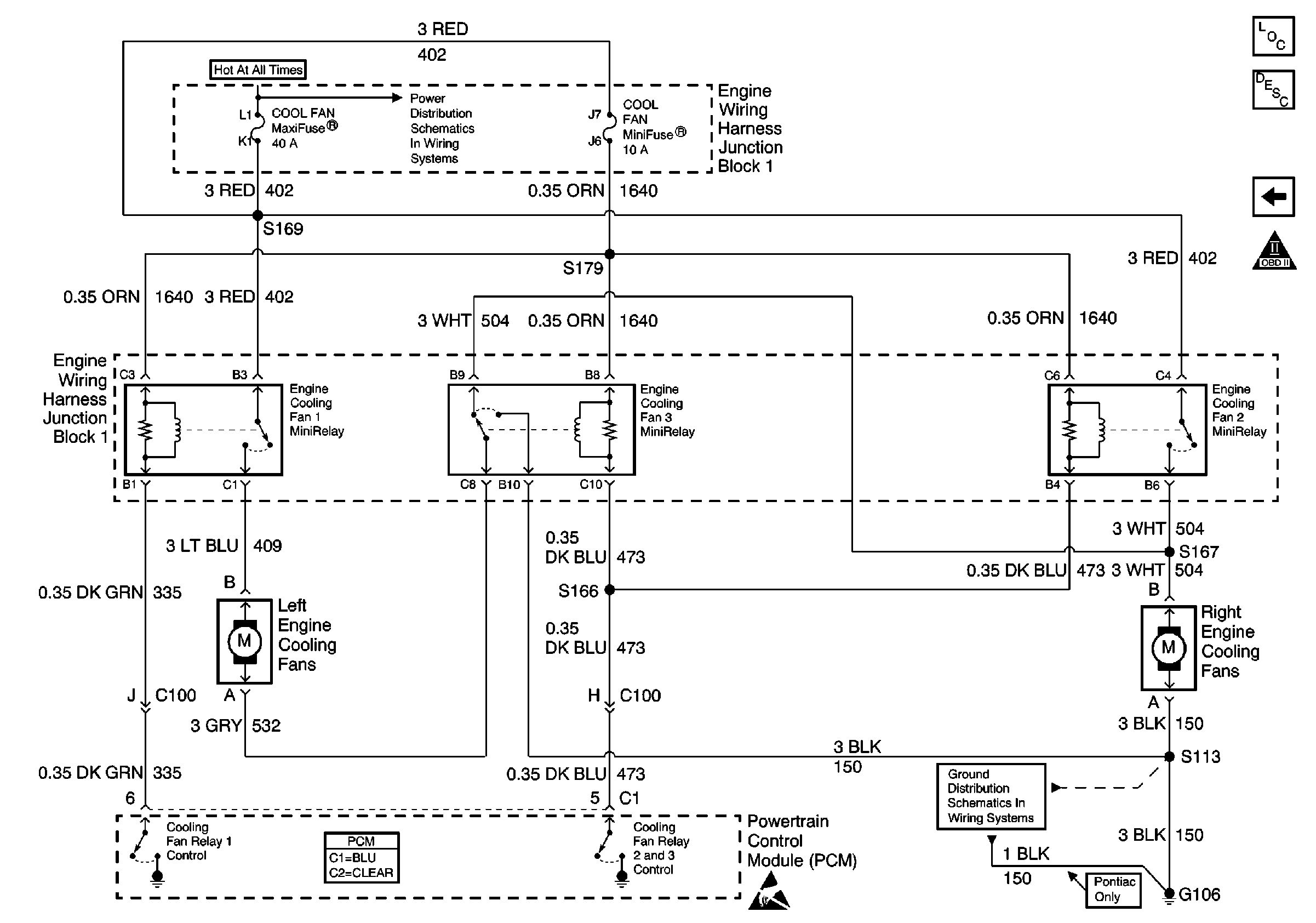
🢒 Engine Cooling Fans
Engine Cooling Fans
Engine Cooling Fans
Engine Controls Components
A/C HVAC Control
OBD II Symbol Description Notice
G106
Handling ESD Sensitive Parts Notice
Battery, ABS BAT-1 and COOL FAN Fuses
Powertrain Control Module Connector End Views
Engine Cooling Fan Description - Electric