GM Service Manual Online
For 1990-2009 cars only

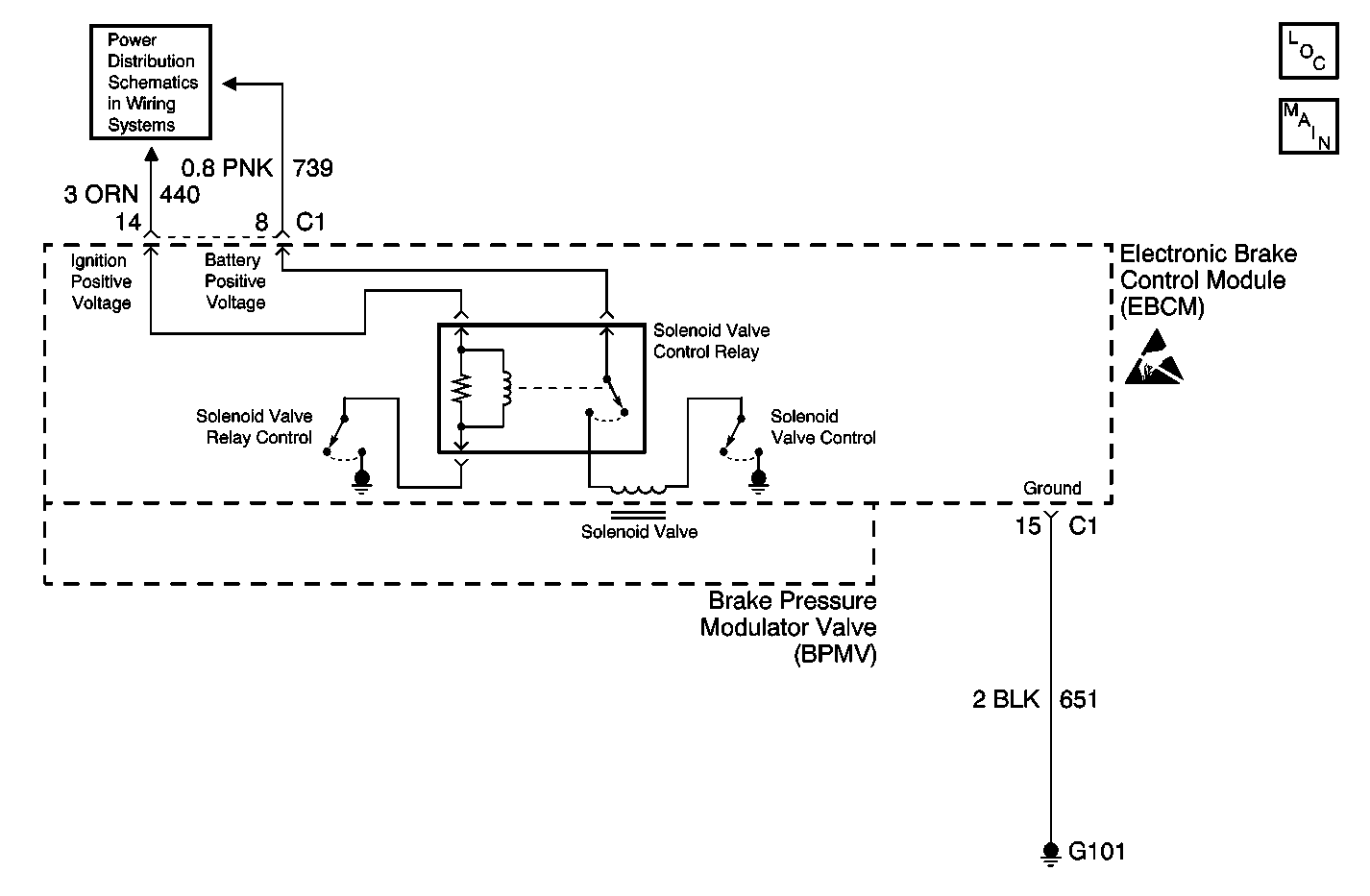
Object Number: 519718  Size: MF
ABS Components
Antilock Brake System Schematics
Antilock Brake System Schematic Icons

Circuit Description

The TCS Prime valve solenoid circuits are supplied with battery power when the ignition is in the RUN position. The EBCM controls the valve functions by grounding the circuit when necessary.

Conditions for Setting the DTC

The EBCM senses a discrepancy such as an open, short to ground, or short to voltage in the circuit.

Action Taken When the DTC Sets

    • A malfunction DTC is stored.
    • ABS/TCS disabled
    • ABS/TCS Indicators are turned on.
    • The Red BRAKE Warning Indicator turns on.

Conditions for Clearing the DTC

    • Condition for DTC is no longer present and scan tool clear DTC function is used.
    • 100 ignition cycles pass with no DTC detected.

Test Description

The numbers below refer to step numbers on the Diagnostic Table.

  1. This step determines if the DTC is current.

DTC C0166 TCS Priming Line Valve Circuit Malfunction

Step

Action

Value(s)

Yes

No

1

Was the Diagnostic System Check performed?

--

Go to Step 2

Go to Diagnostic System Check - ABS

2

  1. Turn the ignition switch to the OFF position.
  2. Install a scan tool.
  3. Turn the ignition switch to the RUN position, engine off.
  4. Using the scan tool run the Automated test.

Does DTC C0166 reset as a current DTC?

--

Go to Step 3

Go to Diagnostic System Check - ABS

3

Replace the EBCM. Refer to Electronic Brake Control Module Replacement .

Is the repair complete?

--

Go to Diagnostic System Check - ABS

--