GM Service Manual Online
For 1990-2009 cars only

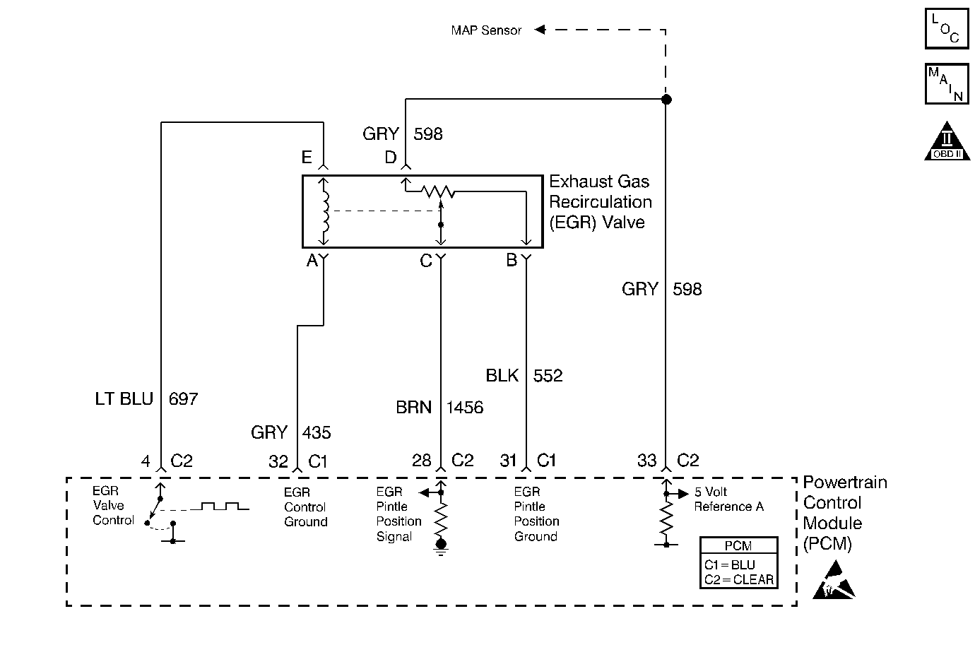
Object Number: 480730  Size: MF
Engine Controls Components
Engine Controls Schematics
OBD II Symbol Description Notice
Handling ESD Sensitive Parts Notice

Circuit Description

The PCM monitors the EGR valve pintle position input to ensure that the valve responds properly to commands from the PCM. The PCM compares Actual EGR position with Desired EGR position when the valve is commanded open. If Actual EGR position varies more than 15 percent from Desired EGR position when the PCM is commanding the EGR valve opened, DTC P0404 will set.

Conditions for Running the DTC

System Voltage is between 10 volts and 16 volts.

Conditions for Setting the DTC

    • Desired EGR does not equal 0.
    • Actual EGR position varies more than 15 percent from Desired EGR position.
    • The above conditions are present for more than 20 seconds.

Action Taken When the DTC Sets

    • The PCM will illuminate the malfunction indicator lamp (MIL) during the second consecutive trip in which the diagnostic test has been run and failed.
    • The PCM will store conditions which were present when the DTC set as Freeze Frame/Failure Records data.

Conditions for Clearing the MIL/DTC

    • The PCM will turn OFF the malfunction indicator lamp (MIL) during the third consecutive trip in which the diagnostic has run and passed.
    • The history DTC will clear after 40 consecutive warm-up cycles have occurred without a malfunction.
    • The DTC can be cleared by using a scan tool.

Diagnostic Aids

Inspect for the following:

    • Excessive deposits on the EGR Pintle or seat.
        Remove the EGR valve and inspect for deposits that may interfere with the EGR valve pintle extending completely or cause the pintle to stick.
    • A EGR valve over temperature or icing condition could have caused this DTC to set.

Many situations may lead to an intermittent condition. Perform each inspection or test as directed.

Important: :  Remove any debris from the connector surfaces before servicing a component. Inspect the connector gaskets when diagnosing or replacing a component. Ensure that the gaskets are installed correctly. The gaskets prevent contaminate intrusion.

    • Loose terminal connection
       -  Use a corresponding mating terminal to test for proper tension. Refer to Testing for Intermittent Conditions and Poor Connections , and to Connector Repairs in Wiring Systems for diagnosis and repair.
       -  Inspect the harness connectors for backed out terminals, improper mating, broken locks, improperly formed or damaged terminals, and faulty terminal to wire connection. Refer to Testing for Intermittent Conditions and Poor Connections , and to Connector Repairs in Wiring Systems for diagnosis and repair.
    • Damaged harness--Inspect the wiring harness for damage. If the harness inspection does not reveal a problem, observe the display on the scan tool while moving connectors and wiring harnesses related to the sensor. A change in the scan tool display may indicate the location of the fault. Refer to Wiring Repairs in Wiring Systems for diagnosis and repair.
    •  Inspect the powertrain control module (PCM) and the engine grounds for clean and secure connections. Refer to Wiring Repairs in Wiring Systems for diagnosis and repair.

If the condition is determined to be intermittent, reviewing the Snapshot or Freeze Frame/Failure Records may be useful in determining when the DTC or condition was identified.

Test Description

The numbers below refer to the step numbers on the diagnostic table.

  1. Verifies that the malfunction is present.

  2. If DTC P0404 will only set under certain conditions, the malfunction may be intermittent; refer to Diagnostic Aids. If an intermittent wiring problem is not present, check for a poor connection at the PCM or the EGR valve. If the connections are OK and DTC P0404 continues to set, replace the EGR valve.

  3. This vehicle is equipped with a PCM which utilizes an Electrically Erasable Programmable Read Only Memory (EEPROM). When the PCM is being replaced, the new PCM must be programmed.

DTC P0404 - EGR Valve Stuck Closed

Step

Action

Value(s)

Yes

No

1

Did you perform the Powertrain On-Board Diagnostic (OBD) System Check?

--

Go to Step 2

Go to Powertrain On Board Diagnostic (OBD) System Check

2

Important: :  If any of the following DTCs are set, diagnose the other DTC first.

  1. Turn ON the ignition switch.
  2. Select the scan tool EGR valve output control function.
  3. Increment the EGR valve through all positions while comparing Desired EGR Position to Actual EGR Position.

Does Desired EGR Position remain close to Actual EGR Position at all commanded positions?

--

Go to Step 3

Go to Step 4

3

  1. Refer to and record scan tool Fail Records data.
  2. Operate the vehicle within Fail Records conditions.
  3. Using a scan tool, monitor Specific DTC info for DTC P0404.

Does the scan tool indicate DTC P0404 failed this ignition?

--

Go to Step 4

Go to Diagnostic Aids

4

  1. Disconnect the EGR valve.
  2. Connect a J 39200

Is the voltage at the specified value?

5 V

Go to Step 5

Go to Step 10

5

Probe the EGR pintle position signal circuit at the EGR valve harness connector with a J 35616-200

Is the test lamp on?

--

Go to Step 8

Go to Step 6

6

  1. Connect a jumper between the 5 volt reference A circuit and the EGR pintle position signal circuit at the EGR valve connector.
  2. Observe Actual EGR Position on the scan tool.

Is Actual EGR position at the specified value?

100 percent

Go to Step 9

Go to Step 7

7

  1. Turn OFF the ignition switch.
  2. Disconnect the PCM.
  3. Check the EGR pintle position signal circuit for an open.
  4. If a problem is found, repair as necessary. Refer to Wiring Repairs .

Was a problem found?

--

Go to Step 17

Go to Step 15

8

  1. Turn OFF the ignition switch.
  2. Disconnect the PCM.
  3. Probe the EGR pintle position signal circuit with a test lamp to battery positive voltage.

Is the test lamp on?

--

Go to Step 13

Go to Step 14

9

  1. Check for poor terminal connections at the EGR valve.
  2. If a problem is found, repair as necessary. Refer to Testing for Continuity and Testing for Intermittent Conditions and Poor Connections .

Was a problem found?

--

Go to Step 17

Go to Step 12

10

  1. Check for the following conditions:
  2. •  5 volt reference A circuit open between the PCM and the EGR valve
    •  5 volt reference A circuit shorted to ground
  3. If a problem is found, repair as necessary. Refer to Wiring Repairs .

Was a problem found?

--

Go to Step 17

Go to Step 11

11

  1. Check for the following conditions:
  2. •  EGR pintle position sensor ground circuit open
    •  EGR pintle position sensor ground circuit shorted to voltage
  3. If a problem is found, repair as necessary. Refer to Wiring Repairs .

Was a problem found?

--

Go to Step 17

Go to Step 15

12

Replace the EGR valve. Refer to Exhaust Gas Recirculation Valve Replacement .

Is the action complete?

--

Go to Step 17

--

13

Locate and correct the short to ground in the EGR pintle position signal circuit. Refer to Wiring Repairs

Is the action complete?

--

Go to Step 17

--

14

  1. Check the EGR pintle position signal circuit for a short to the EGR pintle position sensor ground circuit.
  2. If a problem is found, repair as necessary. Refer to Wiring Repairs .

Was a problem found?

--

Go to Step 17

Go to Step 16

15

  1. Check the circuits related to the EGR valve for poor terminal connections at the PCM.
  2. If a problem is found, repair as necessary. Refer to Testing for Continuity and Testing for Intermittent Conditions and Poor Connections .

Was a problem found?

--

Go to Step 17

Go to Step 16

16

Important:  The replacement PCM must be programmed.

Replace the PCM. Refer to Powertrain Control Module Replacement/Programming .

Is the action complete?

--

Go to Step 17

--

17

  1. Refer to and record scan tool Fail Records data.
  2. Clear DTCs.
  3. Operate the vehicle within Fail Records conditions.
  4. Using a scan tool, monitor Specific DTC info for DTC P0404.

Does the scan tool indicate DTC P0404 failed this ignition?

--

Go to Step 2

System OK