GM Service Manual Online
For 1990-2009 cars only

Removal Procedure

Caution: Unless directed otherwise, the ignition and start switch must be in the OFF or LOCK position, and all electrical loads must be OFF before servicing any electrical component. Disconnect the negative battery cable to prevent an electrical spark should a tool or equipment come in contact with an exposed electrical terminal. Failure to follow these precautions may result in personal injury and/or damage to the vehicle or its components.


    Object Number: 208241  Size: SH
  1. Disconnect the negative battery cable. Refer to Battery Negative Cable Disconnection and Connection .

  2. Object Number: 211587  Size: SH
  3. Disconnect the positive battery cable.

  4. Object Number: 43660  Size: SH
  5. Loosen the battery hold down retainer bolt.
  6. The battery hold down and bolt are held together by a push nut.

  7. Remove the battery hold down retainer.

  8. Object Number: 221643  Size: SH
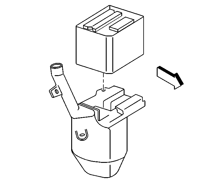
  9. Remove the battery.

Installation Procedure


    Object Number: 221643  Size: SH
  1. Install the battery.

  2. Object Number: 43660  Size: SH
  3. Install the battery hold down retainer.
  4. Notice: Use the correct fastener in the correct location. Replacement fasteners must be the correct part number for that application. Fasteners requiring replacement or fasteners requiring the use of thread locking compound or sealant are identified in the service procedure. Do not use paints, lubricants, or corrosion inhibitors on fasteners or fastener joint surfaces unless specified. These coatings affect fastener torque and joint clamping force and may damage the fastener. Use the correct tightening sequence and specifications when installing fasteners in order to avoid damage to parts and systems.

  5. Tighten the battery hold down retainer bolt.
  6. Tighten
    Tighten the battery hold down retainer bolt to 18 N·m (13 lb ft).


    Object Number: 211587  Size: SH
  7. Connect the positive battery cable.
  8. Tighten
    Tighten the positive battery cable bolt to 15 N·m (11 lb ft).


    Object Number: 208241  Size: SH
  9. Connect the negative battery cable. Refer to Battery Negative Cable Disconnection and Connection .