GM Service Manual Online
For 1990-2009 cars only

Tools Required

J 39549 Ball Joint and Tie Rod End Separator

Removal Procedure


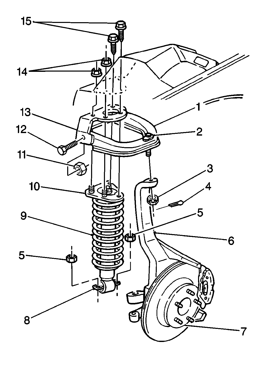
    Object Number: 181097  Size: MH
  1. If servicing the driver side upper control arm, perform the following procedure:
  2. 1.1. Remove the brake master cylinder nuts.
    1.2. Gently, reposition the brake master cylinder to the side.
  3. Remove the shock absorber upper mounting bolts (15) and nuts (14).
  4. Raise and suitably support the vehicle. Refer to Lifting and Jacking the Vehicle in General Information.
  5. Remove the tire and wheel. Refer to Tire and Wheel Removal and Installation in Tires and Wheels.
  6. Remove the stabilizer shaft link. Refer to Stabilizer Shaft Link Replacement .
  7. Remove the shock absorber lower bolts and nuts (5).
  8. Remove and discard the upper control arm cotter pin (4).
  9. Remove the upper control arm nut (3).
  10. Support the steering knuckle (6) with a jack stand.
  11. Use J 39549 in order to separate the upper ball joint (2) from the steering knuckle (6).
  12. Remove the steering knuckle (6) and ball joint (2) from the upper control arm (1).
  13. Remove the upper control arm (1) and shock absorber (8) from the vehicle.
  14. Separate the shock absorber (8) from the upper control arm (1).

Installation Procedure


    Object Number: 181097  Size: MH
  1. Place the shock absorber (8) through the upper control arm (1).
  2. Install the upper control arm (1) and shock absorber (8) to the vehicle.
  3. Align and install the upper control arm (1) and upper ball joint (2) to the steering knuckle (6).
  4. Notice: Use the correct fastener in the correct location. Replacement fasteners must be the correct part number for that application. Fasteners requiring replacement or fasteners requiring the use of thread locking compound or sealant are identified in the service procedure. Do not use paints, lubricants, or corrosion inhibitors on fasteners or fastener joint surfaces unless specified. These coatings affect fastener torque and joint clamping force and may damage the fastener. Use the correct tightening sequence and specifications when installing fasteners in order to avoid damage to parts and systems.

  5. Install the upper control arm nut (3).
  6. Tighten
    Tighten the upper control arm nut (3) to 53 N·m (39 lb ft).

    Important: Never loosen the control arm nut in order to align the cotter pin slot. You may over-torque the control arm nut up to 1/6 of a turn.

  7. Install a new upper control arm cotter pin (4).
  8. Remove the jack stand supporting the lower control arm.
  9. Install the shock absorber lower bolts and nuts (5).
  10. Tighten
    Tighten the shock absorber lower bolts or nuts (5) to 65 N·m (48 lb ft).

  11. Install the stabilizer shaft link. Refer to Stabilizer Shaft Link Replacement .
  12. Install the tire and wheel. Refer to Tire and Wheel Removal and Installation in Tires and Wheels.
  13. Lower the vehicle.
  14. Install the shock absorber upper mounting bolts (15) and nuts (14).
  15. Tighten

        • Tighten the shock absorber upper mounting nuts (14) to 41 N·m (30 lb ft).
        • Tighten the shock absorber upper mounting bolts to 50 N·m (37 lb ft).
  16. If servicing the driver side upper control arm, perform the following:
  17. 12.1. Gently, reposition the brake master cylinder into position.
    12.2. Install the brake master cylinder nuts.

    Tighten
    Tighten the brake master cylinder nuts to 29 N·m (21 lb ft).