GM Service Manual Online
For 1990-2009 cars only

Tools Required

    • J 34013-B Strut Spring Compressor
    • J 34013-114 Shock Compressor Adapter
    • J 34013-88 Strut Compressor Adapter
    • J 39549 Ball Joint and Tie Rod End Separator
    • J 39642 Shock Nut Removal Tool Set
    • J 34013-115 Modular Shock Alignment Rod

Removal Procedure


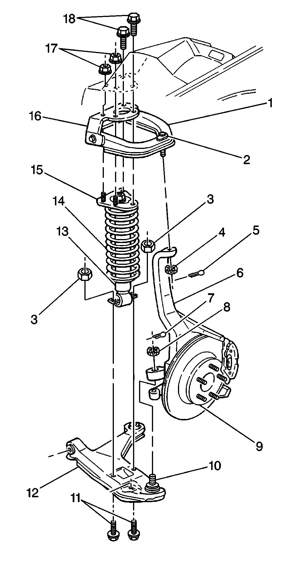
    Object Number: 181083  Size: LH

    Notice: Use care when handling the coil springs in order to avoid chipping or scratching the coating. Damage to the coating will result in premature failure of the coil springs.

  1. If servicing the driver side coil spring, perform the following:
  2. 1.1. Remove the brake master cylinder nuts.
    1.2. Gently move the brake master cylinder to one side.
  3. Remove the shock absorber upper mounting bolts (18) and nuts (17).
  4. Raise and support the vehicle. Refer to Lifting and Jacking the Vehicle in General Information.
  5. Remove the tire and the wheel. Refer to Tire and Wheel Removal and Installation in Tires and Wheels.
  6. Remove the stabilizer shaft link. Refer to Stabilizer Shaft Link Replacement .
  7. Remove the shock absorber lower bolts (11) and nuts (3).
  8. Remove and discard the lower control arm cotter pin (7).
  9. Remove the lower control arm nut (8).
  10. Using J 39549 separate the lower ball joint (10) from the steering knuckle (6).
  11. Remove the lower control arm (12) and lower ball joint (10) from the steering knuckle (6).
  12. Important: Use chalk or paint in order to mark, do not scribe the lower mount location relative to the upper mount location before removing the shock absorber and coil spring.

  13. Remove the shock absorber (13) and the coil spring (14) from the vehicle.

Disassembly Procedure


    Object Number: 181087  Size: SH
  1. Install J 34013-88 to J 34013-B .

  2. Object Number: 181084  Size: MH
  3. Install J 34013-114 to J 34013-B using the following mounting holes.
  4. • For the driver-side shock absorber and coil spring:
       - C-H, lower left corner
       - P,upper right corner
    • For the passenger-side shock absorber and coil spring:
       - A-X-P, upper left corner
       - C-H, lower right corner

    Object Number: 181088  Size: SH

    Important: Align J 34013-114 and J 34013-88 so that these tools may open and close together. If J 34013-114 and J 34013-88 do not align properly, the tools will not open.

  5. Install the shock absorber and coil spring to J 34013-114 and J 34013-88 .

  6. Object Number: 181089  Size: SH

    Important: Align the top of the shock absorber flat against J 34013-114 .

  7. Install the driver side shock absorber (2) and coil spring (1) to the top of J 34013-114 .

  8. Object Number: 181090  Size: SH
  9. Install the passenger side shock absorber (2) and coil spring (1) to the top of J 34013-114 .

  10. Object Number: 181088  Size: SH
  11. Install the shock absorber (1) to J 34013-88 .
  12. Close J 34013-88 and install the locking pin.
  13. Important: If the mounting ears of the shock absorber are not facing downward, toward the rear of J 34013-B , the shock absorber will not align properly.

  14. Turn the screw on J 34013-B counterclockwise in order to raise the shock absorber up to J 34013-114 . Align the top of the shock absorber flat against the tool with the studs going through the guide holes in J 34013-114 .
  15. Caution: Do not over compress the spring. Severe overloading may cause tool failure which could result in bodily injury.

  16. Compress the coil spring approximately 13 mm (0.50 in).
  17. Insert J 39642 -1 on the shock absorber nut, then insert J 39642 -2 through J 39642 -1 in order to hold the shock absorber rod in place.
  18. Remove the shock absorber nut using J 39642 -1 while holding the shock absorber rod from rotating with J 39642 -2.
  19. Discard the shock absorber nut.
  20. Turn J 34013-B clockwise in order to fully relieve coil spring tension.
  21. Remove the coil spring from the shock absorber.

Assembly Procedure


    Object Number: 181088  Size: SH
  1. Install the coil spring (2) to the shock absorber (1).
  2. Position the upper and lower coil spring seats correctly.
  3. Important: Align the top of the shock absorber flat against J 34013-114 .

  4. Install the shock absorber to the top of J 34013-114 .
  5. Important: Only turn the screw until the shock absorber secures itself in J 34013-B . Do not load the coil spring.

  6. Turn the screw on J 34013-B counterclockwise in order to raise the shock absorber up to J 34013-114 without compressing the coil spring.
  7. Important: Ensure that J 34013-115 is straight with the shock absorber.

  8. Place J 34013-115 down through the top of J 34013-B to the top of the shock absorber.
  9. Caution: Do not over compress the spring. Severe overloading may cause tool failure which could result in bodily injury.

  10. Turn the operating screw clockwise in order to compress the coil spring until the threaded portion of the shock absorber rod is through the top of the shock absorber mount.
  11. Remove J 34013-115 .
  12. Important: Always use a new shock absorber nut. Never reinstall the original nut.

  13. Insert the new shock absorber nut on the shock absorber.
  14. Place J 39642 -1 on the shock absorber nut.
  15. Notice: Turning the shock absorber while tightening the nut may damage the shock absorber. In order to prevent damage, keep the shock absorber in a stationary position while tightening the nut.

  16. Insert J 39642 -2 through J 39642 -1 and tighten the shock absorber nut.
  17. Tighten the shock absorber nut while holding onto J 39642 -2.
  18. Remove the shock absorber and coil spring from J 34013-B .

Installation Procedure


    Object Number: 181083  Size: LH
  1. Align and install the shock absorber (13) and coil spring (14) to the lower control arm (12).
  2. Notice: Use the correct fastener in the correct location. Replacement fasteners must be the correct part number for that application. Fasteners requiring replacement or fasteners requiring the use of thread locking compound or sealant are identified in the service procedure. Do not use paints, lubricants, or corrosion inhibitors on fasteners or fastener joint surfaces unless specified. These coatings affect fastener torque and joint clamping force and may damage the fastener. Use the correct tightening sequence and specifications when installing fasteners in order to avoid damage to parts and systems.

  3. Install the shock absorber lower bolts (11) and nuts (3).
  4. Tighten
    Tighten the shock absorber lower nuts (3) to 65 N·m (48 lb ft).

  5. Align and Install the lower ball joint (10) to the steering knuckle (6).
  6. Install the lower ball joint nut (8).
  7. Tighten
    Tighten the lower ball joint nut (8) to 110 N·m (81 lb ft).

    Important: Never loosen the control arm nut in order to align the cotter pin slot, it is permissible to over torque the control arm nut 1/6 of a turn MAX.

  8. Install the new lower ball joint cotter pin (7).
  9. Install the stabilizer shaft link. Refer to Stabilizer Shaft Link Replacement .
  10. Install the tire and the wheel. Refer to Tire and Wheel Removal and Installation in Tires and Wheels.
  11. Lower the vehicle.
  12. Install the shock absorber upper mounting bolts (18) and nuts (17).
  13. Tighten

        • Tighten the shock absorber upper mounting nuts (17) to 41 N·m (30 lb ft).
        • Tighten the shock absorber upper mounting bolts (18) to 50 N·m (37 lb ft).
  14. If servicing the driver side shock absorber, perform the following:
  15. 10.1. Gently, reposition the brake master cylinder into position.
    10.2. Install the brake master cylinder nuts.

    Tighten
    Tighten the brake master cylinder nuts to 29 N·m (21 lb ft).