GM Service Manual Online
For 1990-2009 cars only

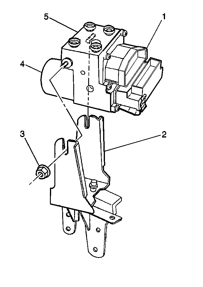
Removal Procedure


    Object Number: 213428  Size: SH

    Caution: For safety reasons, the Brake Pressure Modulator Valve (BPMV) must not be repaired; the complete unit must be replaced. With the exception of the EBCM/EBTCM, no screws may be loosened. If screws are loosened, it will not be possible to get the brake circuits leak-tight and personal injury may result.

  1. Turn the ignition switch to the OFF position.
  2. Disconnect the EBCM harness connector (6).
  3. Important: Note the locations of the brake pipes in order to aid in installation.

  4. Disconnect the brake pipes from the BPMV.

  5. Object Number: 255229  Size: MH
  6. Remove 2 nuts (3) that connect the BPMV (5) to the BPMV bracket (2).
  7. Notice: When removing the brake pressure modulator valve, protect the vehicle exterior from possible brake fluid spillage. Brake fluid can cause damage to painted surfaces.

  8. Remove the BPMV and EBCM as an assembly (5) from the vehicle.

Installation Procedure


    Object Number: 255229  Size: MH

    Important: If you are installing a new BPMV, remove the shipping plugs from the valve openings in the compartment during the next step.

    Important: Use the locations noted during removal.

  1. Install BPMV and EBCM as an assembly into the BPMV bracket (2).
  2. Notice: Use the correct fastener in the correct location. Replacement fasteners must be the correct part number for that application. Fasteners requiring replacement or fasteners requiring the use of thread locking compound or sealant are identified in the service procedure. Do not use paints, lubricants, or corrosion inhibitors on fasteners or fastener joint surfaces unless specified. These coatings affect fastener torque and joint clamping force and may damage the fastener. Use the correct tightening sequence and specifications when installing fasteners in order to avoid damage to parts and systems.

  3. Install the two BPMV bracket nuts (3).
  4. Tighten
    Tighten the two BPMV to BPMV bracket nuts to 12 N·m (8 lb ft.)


    Object Number: 213428  Size: SH

    Caution: Make sure brake pipes are correctly connected to brake pressure modulator valve. If brake pipes are switched by mistake, wheel lockup will occur and personal injury may result. The only two ways this condition can be detected are by using a Scan Tool or by doing an Antilock stop.

  5. Install the brake pipes to the BPMV.
  6. Tighten
    Tighten the brake pipe fittings to 15 N·m (11 lb ft).

  7. Connect the EBCM harness connector (6).
  8. Turn the ignition switch to the RUN position, with the engine off.
  9. Perform Diagnostic System Check - ABS .
  10. Notice: If any brake component is repaired or replaced such that air is allowed to enter the brake system, the entire bleeding procedure must be followed.

  11. Bleed the entire brake system. Refer to Hydraulic Brake System Bleeding .