GM Service Manual Online
For 1990-2009 cars only

Removal Procedure

Important: The throttle relaxer assembly cables must always be adjusted each time it is removed and/or replaced to ensure optimum system performance. Refer to Throttle Relaxer Assembly Adjustment .


    Object Number: 296573  Size: SH
  1. Remove the throttle relaxer assembly splash cover.
  2. Remove the cable cam cover.
  3. Disconnect the electrical connector from the throttle relaxer assembly .
  4. Remove the retaining nuts that attach the throttle relaxer assembly to the bracket.

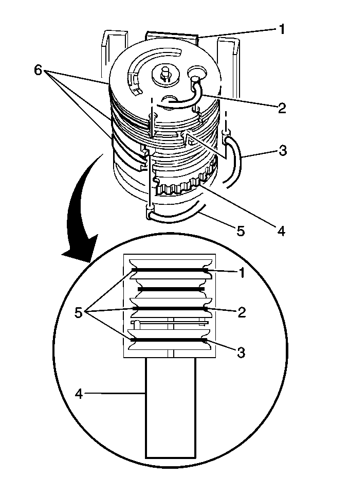
  5. Object Number: 213407  Size: MH
  6. Remove the cables from the relaxer assembly (5).

Installation Procedure

  1. Install the cables to the relaxer assembly (5).

  2. Object Number: 213407  Size: MH

    Object Number: 213434  Size: SH
  3. Install the throttle relaxer assembly to the mounting bracket (3).
  4. Install the relaxer assembly retaining nuts.
  5. Tighten
    Tighten the relaxer assembly retaining nuts to 25 N·m (18 lb ft).

  6. Connect the electrical connector to the throttle relaxer assembly .
  7. Adjust the throttle relaxer assembly. Refer to Throttle Relaxer Assembly Adjustment

  8. Object Number: 296573  Size: SH
  9. Install the cable cam cover.
  10. Install the relaxer assembly splash cover.