GM Service Manual Online
For 1990-2009 cars only

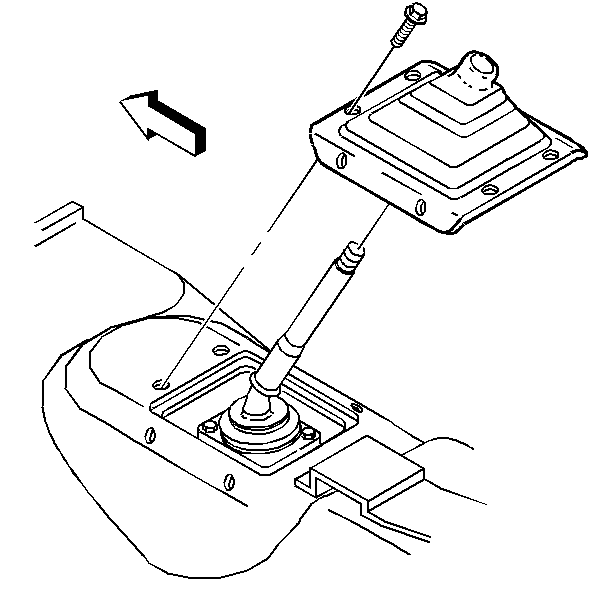
Removal Procedure


    Object Number: 33326  Size: SH
  1. Remove the front floor console. Refer to Front Floor Console Replacement in Instrument Panel, Gages and Console.
  2. Remove the control closeout boot bolts.
  3. Remove the shift control closeout boot.

Installation Procedure


    Object Number: 33326  Size: SH
  1. Install the shift control closeout boot.
  2. Notice: Use the correct fastener in the correct location. Replacement fasteners must be the correct part number for that application. Fasteners requiring replacement or fasteners requiring the use of thread locking compound or sealant are identified in the service procedure. Do not use paints, lubricants, or corrosion inhibitors on fasteners or fastener joint surfaces unless specified. These coatings affect fastener torque and joint clamping force and may damage the fastener. Use the correct tightening sequence and specifications when installing fasteners in order to avoid damage to parts and systems.

  3. Install the shift control closeout boot bolts.
  4. Tighten
    Tighten the shift control closeout boot bolts to 2 N·m (18 lb in).

  5. Install the front floor console trim plate. Refer to Front Floor Console Replacement in Instrument Panel, Gages and Console.