GM Service Manual Online
For 1990-2009 cars only

    Object Number: 343830  Size: SH

    Caution: This vehicle is equipped with a Supplemental Inflatable Restraint (SIR) System. Failure to follow the correct procedure could cause the following conditions:

       • Air bag deployment
       • Personal injury
       • Unnecessary SIR system repairs
    In order to avoid the above conditions, observe the following guidelines:
       • Refer to SIR Component Views in order to determine if you are performing service on or near the SIR components or the SIR wiring.
       • If you are performing service on or near the SIR components or the SIR wiring, disable the SIR system. Refer to Disabling the SIR System.

  1. Disable the inflatable restraint steering wheel module. Refer to Disabling the SIR System in SIR.
  2. Remove the steering column lock cylinder set. Refer to Steering Column Lock Cylinder Set - Disassemble - Off Vehicle .
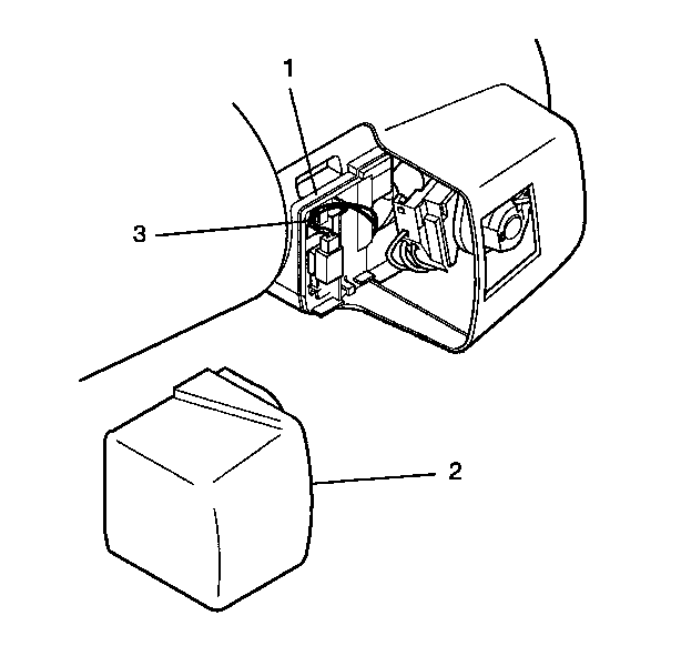
  3. Remove the column housing cover end cap (2).
  4. Remove the cruise control connector (3) from the base plate (1) and disconnect.


    Object Number: 343832  Size: SH
  5. Remove the 3 pan head 6-lobed socket tapping screws: (1) at 12 o'clock, (2) at 3 o'clock and (3) at 8 o'clock.

  6. Object Number: 343833  Size: SH
  7. Remove the lock housing cover and sleeve assembly (1).
  8. Remove the column housing cover end base plate (2) and the dimmer switch rod actuator (3).


    Object Number: 343835  Size: SH
  9. Remove the switch actuator pivot pin (2).
  10. Remove the windshield wiper and washer switch assembly (1) from the lock housing cover assembly.