GM Service Manual Online
For 1990-2009 cars only
Figure 1:

Full Engine View LH Side


Object Number: 760771  Size: LF
(1)Ignition Coils/Modules (Bank 2)
(2)Evaporative Emission (EVAP) Canister Purge Solenoid
(3)Fuel Pulse Dampener
(4)Fuel Rail With Injectors
(5)PCV Crossover Hose
(6)Ignition Coils/Modules (Bank 1)
(7)Heated Oxygen Sensor (H02S) Bank 1 Sensor 1 Mounting Flange
(8)Engine Coolant Temperature (ECT) Sensor
(9)Fuel Pressure Gauge Test Connector
(10)Throttle Position (TP) Sensor
(11)Idle Air Control (IAC) Valve
(12)Throttle Body
Figure 2:

Idle Air Control (IAC) Motor, Throttle Position (TP) Sensor, Generator


Object Number: 218886  Size: MF
(1)Idle Air Control (IAC) Valve
(2)Throttle Position (TP) Sensor
(3)Generator
(4)Throttle Body
Figure 3:

Mass Air Flow Sensor and Intake Air Temperature Sensor


Object Number: 218744  Size: MF
(1)Mass Air Flow (MAF) Sensor
(2)Intake Air Temperature (IAT) Sensor
(3)Air Cleaner Housing
Figure 4:

Manifold Absolute Pressure (MAP) Sensor, Camshaft Position (CMP) Sensor, Oil Pressure Switch


Object Number: 247435  Size: MF
(1)Manifold Absolute Pressure (MAP) Sensor
(2)Camshaft Position (CMP) Sensor
(3)Engine Oil Pressure (EOP) Switch
(4)Knock Sensor Jumper Harness
Figure 5:

Knock Sensors


Object Number: 198593  Size: MF
(1)Knock Sensor (KS) 1
(2)Knock Sensor (KS) 2
Figure 6:

AIR System


Object Number: 605146  Size: MF
(1)AIR Shut Off Valve
(2) Air Supply Hose from AIR Pump
(3)Secondary Air Injection (AIR) Solenoid
(4)AIR Tube and Check Valve (Bank 1)
(5)Air Inlet H ose to AIR pump
(6)Air Cleaner Housing
(7)AIR Tube and Check Valve (Bank 2)
Figure 7:

AIR Pump Location


Object Number: 218771  Size: MF
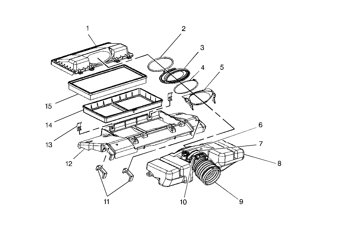
Figure 8:

Air Cleaner Housing and Resonator


Object Number: 247788  Size: MF
(1)Air cleaner housing top cover
(2)Seal
(3)Air intake duct to resonator
(4)Clamp
(5)Air intake duct to top cover retainer
(6)Intake Air Temperature (IAT) sensor
(7)Clamp
(8)Air intake resonator
(9)Air intake duct to throttle body
(10) Mass Airflow (MAF) sensor
(11)Isolator
(12)Air cleaner housing lower assembly
(13)Front retaining clips
(14)Air filter element frame
(15)Air filter element
Figure 9:

Air Cleaner Location


Object Number: 218754  Size: MF
(1)Air Cleaner Housing
Figure 10:

Crankshaft Position Sensor Location


Object Number: 222858  Size: MF
(1)CKP Mounting Bolt
(2)CKP Mounting Location
(3)Crankshaft Position (CKP) Sensor
Figure 11:

HO2S Location


Object Number: 218748  Size: MF
(1)HO2S Bank 2 Sensor 1
(2)HO2S Bank 2 Sensor 2
(3)HO2S Bank 1 Sensor 2
(4)HO2S Bank 1 Sensor 1
Figure 12:

PCM Location


Object Number: 421858  Size: MF
Figure 13:

Fuel Tank Assembly with EVAP Canister


Object Number: 421732  Size: MF
(1)Fuel Sender Assembly
(2)Hose (EVAP Canister to Vent Solenoid)
(3)EVAP Vent Solenoid
(4)Fuel Tank Harness
(5)EVAP Canister
(6)Fuel Tank
(7)Overpressure Relief Valve
(8)Fuel Tank Pressure (FTP) Sensor
Figure 14:

Fuse Blocks Underhood (Top and Bottom)


Object Number: 245570  Size: MF
(1)Fuse Block Underhood -- Top
(2)Fuse Block Underhood -- Bottom