| Table 1: | Accelerator Control and Adjuster |
| Table 2: | Accelerator and Servo Control Module (ASM) |
| Table 3: | Electronic Brake Control Module |
| Table 4: | Traction Control Switch |
| Table 5: | Wheel Speed Sensor, Left Front |
| Table 6: | Wheel Speed Sensor, Left Rear (With NW9) |
| Table 7: | Wheel Speed Sensor, Right Front |
| Table 8: | Wheel Speed Sensor, Right Rear (With NW9) |
| Table 9: | Wheel Speed Sensor, Rear (Without NW9) |
| |||||||
|---|---|---|---|---|---|---|---|
Connector Part Information |
| ||||||
Pin | Wire Color | Circuit No. | Function | ||||
A | WHT | 560 | Accelerator control and adjuster supply voltage | ||||
B | GRY | 561 | Accelerator control and adjuster ground | ||||
| |||||||
|---|---|---|---|---|---|---|---|
Connector Part Information |
| ||||||
Pin | Wire Color | Circuit No. | Function | ||||
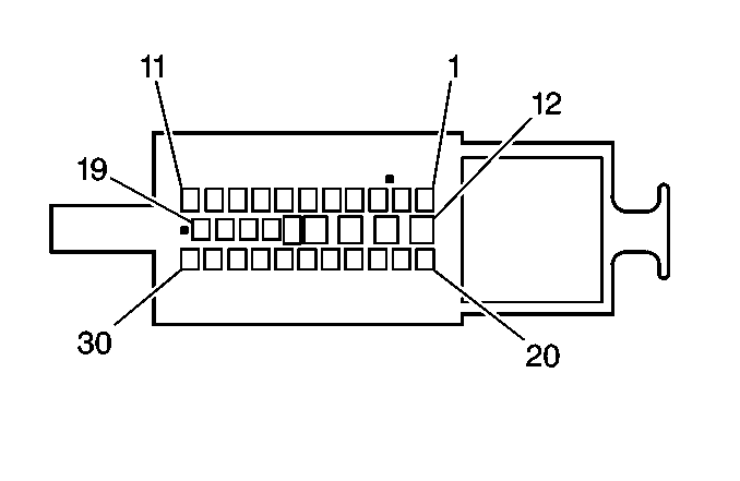
1 | PNK | 739 | Ignition 1 Voltage | ||||
2-21 | -- | -- | Not used | ||||
22 | WHT | 560 | Accelerator control and adjuster supply voltage | ||||
23 | -- | -- | Not used | ||||
24 | ORN | 1540 | Battery Positive Voltage | ||||
25 | -- | -- | Not used | ||||
26 | GRY | 561 | Accelerator control and adjuster ground | ||||
27 | -- | -- | Not used | ||||
28 | BLK/WHT | 151 | Ground | ||||
29-34 | -- | -- | Not used | ||||
35 | TAN/BLK | 464 | Delivered torque signal | ||||
36 | -- | -- | Not used | ||||
37 | ORN/BLK | 463 | Requested torque signal | ||||
38-39 | -- | -- | Not used | ||||
40 | DK BLU | 417 | TP sensor signal | ||||
41 | GRY/BLK | 596 | 5 volt reference | ||||
42 | -- | -- | Not used | ||||
43 | BLK | 452 | TP sensor ground | ||||
44-48 | -- | -- | Not used | ||||
49 | WHT | 560 | Accelerator control and adjuster supply voltage | ||||
50 | -- | -- | Not used | ||||
51 | ORN | 1540 | Battery positive voltage | ||||
52 | -- | -- | Not used | ||||
53 | GRY | 561 | Accelerator control and adjuster ground | ||||
54 | -- | -- | Not used | ||||
55 | BLK/WHT | 151 | Ground | ||||
56-88 | -- | -- | Not used | ||||
| |||||||
|---|---|---|---|---|---|---|---|
Connector Part Information |
| ||||||
Pin | Wire Color | Circuit No. | Function | ||||
1 | BRN | 882 | Right rear wheel speed sensor signal (LS1 with NW9) | ||||
2 | -- | -- | Not used | ||||
3 | DK GRN | 872 | Right front wheel speed sensor signal (LS1 without NW9 and L36) | ||||
3 | WHT | 883 | Right rear wheel speed sensor low reference | ||||
4 | DK GRN | 872 | Right front wheel speed sensor signal (LSI with NW9) | ||||
5 | TAN | 833 | Right front wheel speed sensor low reference | ||||
6 | LT BLU | 20 | Stop lamp supply voltage | ||||
7 | -- | -- | Not used | ||||
8 | PNK | 739 | Ignition 1 voltage | ||||
9 | TAN/BLK | 464 | Delivered torque signal (with NW9) | ||||
10 | -- | -- | Not used | ||||
11 | WHT | 121 | Engine speed signal (with NW9) | ||||
12 | BLK | 150 | Ground | ||||
13 | RED | 302 | Battery positive voltage | ||||
14 | ORN | 440 | Battery positive voltage | ||||
15 | BLK | 651 | Ground | ||||
16 | -- | -- | Not used | ||||
17 | BRN/WHT | 1571 | Traction control switch signal (with NW9) | ||||
18 | PPL/WHT | 1572 | Service traction system indicator control | ||||
19 | GRY/BLK | 1687 | Ignition retard signal (LS1 with NW9) | ||||
20 | LT BLU | 830 | Left front wheel speed sensor signal | ||||
21 | YEL | 873 | Left front wheel speed sensor low reference | ||||
22 | BLK | 884 | Rear wheel speed sensor signal (LS1 without NW9 and L36) | ||||
22 | BLK | 884 | Left rear wheel speed sensor signal (LS1 with NW9) | ||||
23 | RED | 885 | Rear wheel speed sensor low reference (LS1 without NW9 and L36) | ||||
23 | RED | 885 | Left rear wheel speed sensor low reference (LS1 with NW9) | ||||
24 | -- | -- | Not used | ||||
25 | LT BLU | 1122 | ABS/TCS Class 2 serial data | ||||
26 | -- | -- | Not used | ||||
27 | ORN/BLK | 463 | Requested torque signal (with NW9) | ||||
28-30 | -- | -- | Not used | ||||
| |||||||
|---|---|---|---|---|---|---|---|
Connector Part Information |
| ||||||
Pin | Wire Color | Circuit No. | Function | ||||
A | PPL/WHT | 1572 | Service traction system indicator control | ||||
B | BRN | 141 | Ignition 3 voltage | ||||
C | GRY | 8 | Instrument panel lamp supply voltage - 1 | ||||
D | -- | -- | Not used | ||||
E | BRN/WHT | 1571 | Traction control switch signal | ||||
F | BLK/WHT | 451 | Ground | ||||
| |||||||
|---|---|---|---|---|---|---|---|
Connector Part Information |
| ||||||
Pin | Wire Color | Circuit No. | Function | ||||
A | YEL | 873 | Left Front Wheel Speed Sensor Low Reference | ||||
B | LT BLU | 830 | Left Front Wheel Speed Sensor Signal | ||||
| |||||||
|---|---|---|---|---|---|---|---|
Connector Part Information |
| ||||||
Pin | Wire Color | Circuit No. | Function | ||||
A | RED | 885 | Left Rear Wheel Speed Sensor Low Reference | ||||
B | BLK | 884 | Left Rear Wheel Speed Sensor Signal | ||||
| |||||||
|---|---|---|---|---|---|---|---|
Connector Part Information |
| ||||||
Pin | Wire Color | Circuit No. | Function | ||||
A | YEL | 833 | Right Front Wheel Speed Sensor Low Reference | ||||
B | LT BLU | 872 | Right Front Wheel Speed Sensor Signal | ||||
| |||||||
|---|---|---|---|---|---|---|---|
Connector Part Information |
| ||||||
Pin | Wire Color | Circuit No. | Function | ||||
A | WHT | 883 | Right Rear Wheel Speed Sensor Low Reference | ||||
B | BRN | 882 | Right Rear Wheel Speed Sensor Signal | ||||
| |||||||
|---|---|---|---|---|---|---|---|
Connector Part Information |
| ||||||
Pin | Wire Color | Circuit No. | Function | ||||
A | BLK | 884 | Rear Wheel Speed Sensor Signal | ||||
B | WHT | 885 | Rear Wheel Speed Sensor Low Reference | ||||