GM Service Manual Online
For 1990-2009 cars only

Removal Procedure

  1. Turn the ignition switch to the ON position.
  2. Turn the radio ON.

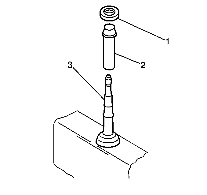
  3. Object Number: 296688  Size: SH

    Important: Note the orientation of the serrated side of the plastic cable in order to install the cable correctly.

  4. Remove the antenna mast (3) and the contact spring (2).
  5. Use contact cleaner in order to clean the contact spring (2).

Installation Procedure


    Object Number: 296689  Size: SH
  1. Insert the plastic cable into the housing (1). You will feel resistance after inserting about 30 cm (12 in) of the cable. Stop inserting the cable when you feel resistance.
  2. Turn the radio OFF.
  3. Ensure that the plastic cable retracts into the housing (1) and catches onto the gear mechanism of the drum housing.

    If the cable does not retract into the housing, rotate the cable until the cable rotates into the housing with the motor operating.


    Object Number: 296688  Size: SH
  4. Install the contact spring onto the antenna mast (3).
  5. Ensure that the flanged end of the contact spring (2) faces upward.

  6. Inspect the antenna operation by turning the radio ON and OFF several times.
  7. The antenna mast may only extend or retract halfway.

  8. Continue to operate the antenna until the antenna mast (3) fully extends and retracts.