GM Service Manual Online
For 1990-2009 cars only
Makes
🢒
Pontiac
🢒
2001
🢒
Firebird
🢒
Body and Accessories
🢒
Entertainment
🢒 Steering Wheel Controls Schematics
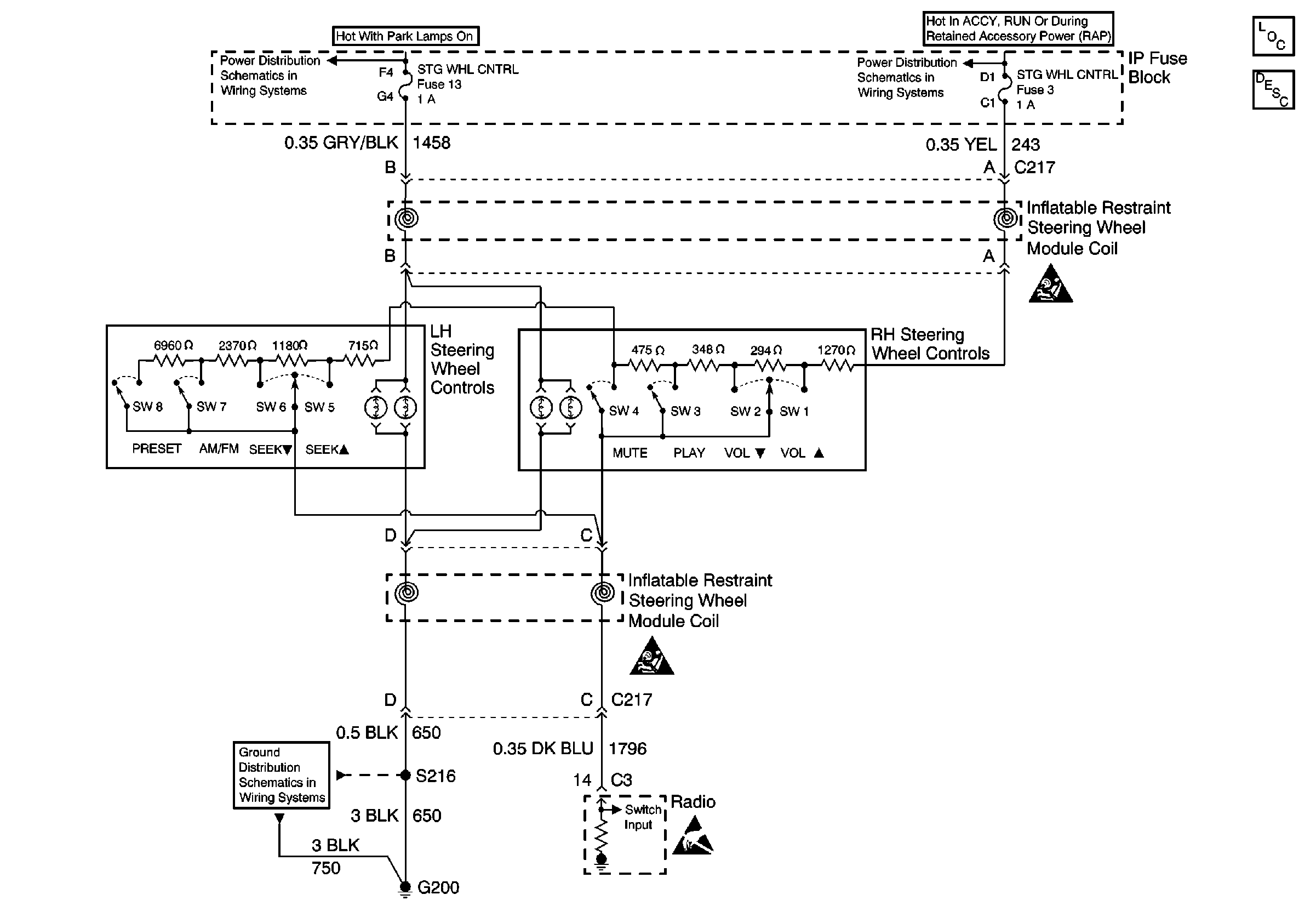
Coupe and Convertible: Steering Wheel Controls, Inflatable Restraint Steering Wheel Module Coil, Radio
Master Electrical Component List
Steering Wheel and Column - Tilt Description and Operation
WINDOWS Circuit Breaker, RADIO, STG WHL CNTRL, and WIPER/WASH Fuses
IP DIMMER and STG WHL CNTRL Fuses
SIR Handling Caution
SIR Handling Caution
G200 Splice S216