GM Service Manual Online
For 1990-2009 cars only

System Overview

The fuel tank stores the fuel supply. An electric fuel pump, located in the fuel tank with the fuel sender assembly, pumps the fuel through an in-line fuel filter to the fuel rail assembly. The pump provides the fuel at a pressure greater than is needed by the injectors. The fuel pressure regulator, part of the fuel sender assembly, keeps the fuel available to the injectors at a regulated pressure. A separate pipe returns the unused fuel to the fuel tank.

Fuel Tank


Object Number: 376993  Size: SH

The fuel tank stores the fuel supply. The fuel tank is located in the rear of the vehicle. The fuel tank is held in place by 2 metal straps that attach to the frame. The fuel tank is molded from high density polyethylene.

Fuel Tank Filler Pipe

The fuel tank filler pipe has a built-in restrictor and deflector in order to prevent refueling with leaded fuel.

Fuel Filler Cap


Object Number: 173450  Size: SH

Notice: If a fuel tank filler cap requires replacement, use only a fuel tank filler cap with the same features. Failure to use the correct fuel tank filler cap can result in a serious malfunction of the fuel and EVAP system.

The fuel tank filler pipe has a tethered fuel filler cap. The cap requires a quarter of a turn to be removed. A torque-limiting device prevents the cap from being over tightened. To install the cap, turn the cap clockwise until you hear 3 clicks. This indicates that the cap is correctly torqued and fully seated.

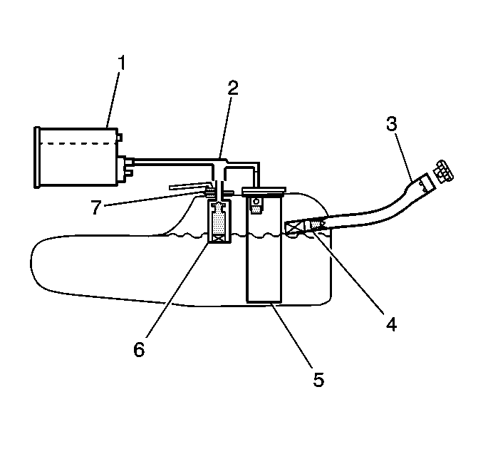
Fuel Sender Assembly


Object Number: 370964  Size: SH

The fuel sender assembly is inside the fuel tank attached to the top of the fuel tank. The fuel sender assembly consists of the following major components:

    • The fuel level sensor (7)
    • The fuel tank pressure sensor (1)
    • The fuel pump and reservoir assembly (3)
    • The fuel pressure regulator (2)
    • The fuel pump strainer (4)

Fuel Sender


Object Number: 370964  Size: SH

The fuel sender consists of a float (5), a wire float arm (6), and a fuel level sensor (7). The position of the float arm indicates the fuel level and a signal is sent to the display in the vehicle instrument cluster. The EVAP pipe of the fuel sender has a pressed in roll-over valve. The roll-over valve prevents fuel from entering the evaporative emission canister if the vehicle rolls over by shutting OFF the EVAP pipe to the canister.

Fuel Pump

The fuel pump is mounted inside the fuel reservoir on the fuel sender. The fuel pump is an electric high pressure generator pump. The fuel pump pumps the fuel to the fuel rail assembly at a specified flow and pressure. Excess fuel returns to the fuel tank by the return pipe. The fuel pump delivers a constant flow of fuel to the engine even during low fuel conditions and aggressive vehicle maneuvers. The PCM controls the electric fuel pump operation through a fuel pump relay. The fuel pump flex pipe acts to dampen the fuel pulses and the noises that are generated by the fuel pump.

Fuel Pressure Regulator Assembly

The fuel pressure regulator attaches to the fuel return pipe on the fuel sender assembly. The fuel pressure regulator is a diaphragm-operated relief valve. A software bias compensates the injector on-time because the fuel pressure regulator is not referenced to manifold vacuum. The injector pulse width varies with the signal from the MAP sensor. With the ignition ON and the engine OFF, system fuel pressure at the pressure test connection should be 380-410 kPa (55-60 psi). If the pressure is too low, poor performance could result. If the pressure is too high, excessive odor and a Diagnostic Trouble Code (DTC) P0132, P0152, P0172, or P0175 may result. Refer to Fuel System Diagnosis for information on diagnosing fuel pressure conditions.

Fuel Pump Strainer

The fuel pump strainer attaches to the lower end of the fuel pump and reservoir assembly. The fuel pump strainer is made of woven plastic. The functions of the fuel pump strainer are to filter the contaminants and to wick the fuel. The fuel pump strainer is self-cleaning and normally requires no maintenance. Fuel stoppage at this point indicates that the fuel tank contains an abnormal amount of sediment or water. Clean the fuel tank and replace a plugged fuel pump strainer with a new one.

In-Line Fuel Filter


Object Number: 12628  Size: SH

The fuel feed pipe has a steel fuel filter installed ahead of the fuel injection system. The paper filter element (2) traps particles in the fuel that may damage the injection system. The filter housing (1) is made to withstand maximum fuel system pressure, exposure to fuel additives, and changes in temperature. The fuel filter has a quick-connect inlet fitting and a threaded outlet fitting. The threaded fitting is sealed with an O-ring. There is no service interval for fuel filter replacement. Replace a restricted fuel filter.

Fuel Feed and Return Pipes

The fuel feed pipe carries the fuel from the fuel tank to the fuel rail assembly. The fuel return pipe carries fuel from the T-connector, located on the outlet side of the fuel filter back to the fuel tank. The fuel pipes consist of 3 sections:

    • The rear fuel pipe assemblies are located from the top of the fuel tank to the chassis fuel pipes. The rear fuel pipes are constructed of nylon.
    • The chassis fuel pipes are located under the vehicle. The chassis fuel feed pipe connects the rear fuel feed pipe to the engine compartment connecting fuel feed pipe. The chassis fuel return pipe connects the fuel feed pipe at the outlet of the fuel filter to the rear fuel return pipe. These pipes are constructed of steel.
    • The engine compartment connecting fuel pipe connects the chassis fuel feed pipe to the engine fuel rail. This fuel pipe is constructed of nylon.

Nylon Fuel Pipes

Caution: In order to Reduce the Risk of Fire and Personal Injury:

   • If nylon fuel pipes are nicked, scratched or damaged during installation, Do Not attempt to repair the sections of the nylon fuel pipes. Replace them.
   • When installing new fuel pipes, Do Not hammer directly on the fuel harness body clips as it may damage the nylon pipes resulting in a possible fuel leak.
   • Always cover nylon vapor pipes with a wet towel before using a torch near them. Also, never expose the vehicle to temperatures higher than 115°C (239°F) for more than one hour, or more than 90°C (194°F) for any extended period.
   • Before connecting fuel pipe fittings, always apply a few drops of clean engine oil to the male pipe ends. This will ensure proper reconnection and prevent a possible fuel leak. (During normal operation, the O-rings located in the female connector will swell and may prevent proper reconnection if not lubricated.)

Nylon fuel pipes are designed to perform the same job as the steel or flexible fuel pipes or hoses that they replace. Nylon pipes are constructed to withstand maximum fuel system pressure, exposure to fuel additives, and changes in temperature. There are 3 sizes of nylon pipes used: 3/8 in ID for the fuel feed, 5/16 in ID for the fuel return, and 1/2 in ID for the vent. Heat-resistant rubber hose and/or corrugated plastic conduit protect the sections of the pipes that are exposed to chafing, to high temperature, or to vibration.

Nylon fuel pipes are somewhat flexible and can be formed around gradual turns under the vehicle. However, if nylon fuel pipes are forced into sharp bends, the pipes will kink and restrict the fuel flow. Once exposed to fuel, nylon pipes may become stiffer and are more likely to kink if the pipes are bent too far. Take special care when working on a vehicle with nylon fuel pipes.

Quick-Connect Fittings

Quick-connect fittings provide a simplified means of installing and connecting fuel system components. The fittings consist of a unique female connector and a compatible male pipe end. O-rings, located inside the female connector, provide the fuel seal. Integral locking tabs or fingers hold the fittings together.

Fuel Pipe O-Rings

O-rings seal the threaded connections in the fuel system. The fuel system O-ring seals are made of a special material. Service the O-ring seals with the correct service part.

EVAP Pipes and Hoses

The EVAP pipes extend from the fuel sender assembly and the EVAP canister vent solenoid to the EVAP canister. These pipes are located on top of the fuel tank. The EVAP purge pipe extends from the EVAP canister on top of the fuel tank to the EVAP purge solenoid in the engine compartment. The rear pipes and the engine compartment pipe are constructed of nylon. The chassis EVAP purge pipe is constructed of steel. The EVAP canister vent solenoid connects to the EVAP canister with a section of rubber hose.

Enhanced Evaporative Emission (EVAP) Service Port


Object Number: 21046  Size: SH

The enhanced EVAP service port is located in the EVAP pipe in the engine compartment near the purge solenoid. The service port is identified by a green cap. The port contains a schrader valve and a fitting in order to allow the connection of the J 41413 EVAP Pressure/Purge Diagnostic Station for diagnosis of the evaporative emission system.

On-Board Refueling Vapor Recovery System (ORVR)


Object Number: 178033  Size: SH

The on-board refueling vapor recovery system (ORVR) is an on-board vehicle system that is designed to recover the fuel vapors during the vehicle refueling operation. The flow of liquid fuel down the fuel filler pipe provides a liquid seal, which prevents the vapor from leaving the fuel filler pipe. An EVAP pipe transports the fuel vapor to the EVAP canister for use by the engine. Listed below are the ORVR system components with a brief description of their operation:

    • The EVAP canister (1)--The EVAP canister receives refueling vapor from the fuel system, stores the vapor and releases the vapor to the engine upon demand.
    • The EVAP pipes (2)--The EVAP pipes transport the fuel vapor from the fuel tank to the EVAP canister.
    • The fuel filler pipe (3)--The fuel filler pipe carries the fuel from the fuel nozzle to the fuel tank.
    • The check valve (4)--The check valve limits fuel spit back from the fuel tank during the refueling operation by allowing the fuel flow only into the fuel tank. This check valve is located at the bottom of the fuel filler pipe.
    • The modular fuel sender assembly (5)--The assembly pumps the fuel to the engine from the fuel tank.
    • The fill limiter vent valve (FLVV) (6)--This valve acts as a shut-off valve. The FLVV is located on the top of the fuel tank. This valve is not serviced separately. The FLVV has the following functions:
       - The FLW controls the fuel tank fill level by closing the primary vent from the fuel tank.
       - The FLW prevents the fuel from exiting the fuel tank via the EVAP pipe to the canister.
       - The VLW provides fuel-spillage protection in the event of a vehicle rollover by closing the vapor path from the tank to the EVAP canister.
    • The over pressure relief valve (7)--The over pressure relief valve provides venting of excessive fuel tank pressure. The valve is located on the top of the fuel tank next to the FLVV. This valve is not serviced separately.

Modes of Operation

The PCM looks at voltages from several sensors to determine how much fuel to give the engine. The fuel is delivered under one of several conditions called modes. The PCM controls all modes.

Starting Mode

With the ignition ON, before engaging the starter, the PCM energizes the fuel pump relay for two seconds allowing the fuel pump to build up pressure. The PCM first checks speed density, then switches to the mass air flow (MAF) sensor. The PCM also uses the engine coolant temperature (ECT), throttle position (TP), and manifold absolute pressure (MAP) sensors to determine the proper air/fuel ratio for starting. This ranges from 1.5:1 at -36°C (-33°F) to 14.7:1 at +94°C (+201°F) running temperature. The PCM controls the amount of fuel delivered in the starting mode by changing the pulse width of the injectors. This is done by pulsing the injectors for very short times.

Clear Flood Mode

If the engine floods, clear the engine by pushing the accelerator pedal down all the way. The PCM then pulses the injectors at an air/fuel ratio of 20:1. The PCM holds this injector rate as long as the throttle stays wide open and the engine speed is below 300 RPM. If the throttle position becomes less than 80 percent, the PCM returns to the starting mode.

Run Mode

The run mode has two conditions called Open Loop and Closed Loop. When the engine is first started, and engine speed is above a predetermined RPM, the system begins Open Loop operation. The PCM ignores the signal from the HO2S and calculates the air/fuel ratio based on inputs from the ECT, MAF, MAP, and TP sensors. The system stays in Open Loop until meeting the following conditions:

    • Both HO2S have varying voltage output, showing that they are hot enough to operate properly. This depends on temperature.
    • The ECT sensor is above a specified temperature.
    • A specific amount of time has elapsed after starting the engine.

Specific values for the above conditions exist for each different engine, and are stored in the electrically erasable programmable read only memory (EEPROM). The system begins Closed Loop operation after reaching these values. In Closed Loop, the PCM calculates the air/fuel ratio (injector on-time) based on the signal from various sensors, but mainly the HO2S. This allows the air/fuel ratio to stay very close to 14.7:1.

Acceleration Mode

When the driver pushes on the accelerator pedal, air flow into the cylinders increases rapidly, while fuel flow tends to lag behind. To prevent possible hesitation, the PCM increases the pulse width to the injectors to provide extra fuel during acceleration. The PCM determines the amount of fuel required based on throttle position, coolant temperature, manifold air pressure, mass air flow and engine speed.

Deceleration Mode

When the driver releases the accelerator pedal, air flow into the engine is reduced. The PCM looks at the corresponding changes in throttle position, manifold air pressure and mass air flow. The PCM shuts OFF fuel completely if the deceleration is very rapid, or for long periods, such as long closed throttle coast-down. The fuel shuts OFF in order to protect the warm-up three-way catalytic converters.

Battery Voltage Correction Mode

When battery voltage is low, the PCM compensates for the weak spark delivered by the ignition system in the following ways:

    • Increasing the amount of fuel delivered
    • Increasing the idle RPM
    • Increasing ignition dwell time

Fuel Cutoff Mode

To prevent possible engine damage from over-speed, the PCM cuts off fuel from the injectors when the engine speed is above approximately 5800 RPM. Also, see Rapid Deceleration in Deceleration Mode.

The fuel metering system consists of the following parts:

    • The fuel supply components:
       - The fuel tank
       - The pump
       - The pipes
    • The fuel pump electrical circuit
    • The fuel rail
    • The fuel injectors
    • The fuel pressure regulator
    • The throttle body
    • The idle air control (IAC) valve
    • The throttle position (TP) sensor

System Overview

The fuel tank stores the fuel supply. An electric fuel pump, located in the fuel tank with the fuel sender assembly, pumps the fuel through an in-line fuel filter to the fuel rail assembly. The pump provides fuel at a pressure greater than what is needed by the injectors. The fuel pressure regulator, part of the fuel sender assembly, keeps the fuel available to the injectors at a regulated pressure. A separate pipe returns the unused fuel to the fuel tank.

Fuel Pump Electrical Circuit

When the ignition switch is in the ON position, before engaging the starter), the PCM energizes the fuel pump relay for 2 seconds, causing the fuel pump to pressurize the fuel system. If the PCM does not receive ignition reference pulses with the engine cranking or running within 2 seconds, the PCM shuts OFF the fuel pump relay, causing the fuel pump to stop.

Fuel Rail Assembly


Object Number: 217109  Size: SH

The fuel rail assembly attaches to the engine intake manifold. The fuel rail assembly performs the following functions:

    • The fuel rail positions the injectors (1) in the intake manifold.
    • The fuel rail distributes the fuel evenly to the injectors.
    • The fuel rail integrates the fuel pulse dampener (2) into the fuel metering system.

Fuel Injectors

The top-feed fuel injector assembly is a solenoid-operated device, controlled by the PCM, that meters pressurized fuel to a single engine cylinder. The PCM energizes the injector solenoid, which opens a ball valve, allowing the fuel to flow past the ball valve, and through a recessed flow director plate. The director plate has multiple machined holes that control the fuel flow, generating a conical spray pattern of finely atomized fuel at the injector tip. Fuel is directed at the intake valve, causing the fuel to become further atomized and vaporized before entering the combustion chamber. An injector that is stuck partly open can cause a loss of pressure after the engine shutdown. Consequently, long cranking times would be noticed on some engines.

Fuel Pulse Dampener


Object Number: 216234  Size: SH

The fuel pulse dampener attaches inside a housing on the fuel rail assembly. The fuel pulse dampener is diaphragm-operated, with fuel pump pressure on one side and with spring pressure on the other side. The function of the dampener is to dampen the fuel pulsation.

Accelerator Controls

The accelerator control system is cable operated. There are no linkage adjustments. Use the specific cable for each application.

Throttle Body Assembly


Object Number: 216232  Size: SH

The throttle body assembly attaches to the intake manifold. The throttle body controls the air flow into the engine, thereby controlling the engine output. The vehicle operator opens the throttle valve within the throttle body through the accelerator controls. During engine idle, the throttle valves are almost closed. A fixed air bypass orifice and the Idle Air Control (IAC) valve (2) handle the air flow control. Engine coolant flows through the coolant cavity on the bottom of the throttle body in order to prevent throttle valve icing during cool weather operation. The throttle body also provides the location for mounting the Throttle Position (TP) sensor (1).

Idle Air Control (IAC) Valve


Object Number: 10172  Size: SH

The purpose of the IAC valve is to control the engine idle speed, while preventing stalls due to changes in the engine load. The IAC valve (1), mounted in the throttle body, controls the bypass air around the throttle valve (2). By moving a conical valve known as a pintle (3), in, towards the seat, in order to decrease the air flow, or out, away from the seat, in order to increase the air flow, a controlled amount of air can be bypassed. If engine speed is too low, more air is bypassed in order to increase the RPM. If engine speed is too high, less air is bypassed i order to decrease the RPM. The PCM moves the IAC valve in small steps, called counts. These counts can be measured and displayed by a scan tool, which plugs into the Data Link Connector (DLC). The PCM calculates the proper position of the IAC valve during idle based on the battery voltage, the coolant temperature, the engine load, and the engine RPM. If the RPM drops below specification and the throttle valve is closed, the PCM senses a near stall condition and calculates a new valve position in order to prevent stalling.

    • The engine idle speed is a function of total air flow into the engine. The idle speed is based on the IAC valve pintle position, the crankcase ventilation valve flow, the throttle valve opening, the bypass orifice air flow, and the calibrated vacuum loss through the accessories.
    • Controlled idle speed is programmed into the PCM, which determines the correct IAC valve pintle position in order to maintain the desired idle speed for all engine operating conditions and loads.
    • The minimum idle air rate is set at the factory with a stop screw. This setting allows enough air flow by the throttle valves to cause the IAC valve pintle to be positioned a calibrated number of steps, or counts, from the seat during controlled idle operation.
    • If the IAC valve is disconnected and reconnected with the engine running, the idle speed may be wrong. If this occurs, reset the IAC valve by depressing the accelerator pedal slightly. Start and run the engine for 5 seconds, then turn the ignition OFF for 10  seconds.

Throttle Position (TP) Sensor

The TP sensor attaches to the side of the throttle body opposite the throttle lever. The TP sensor senses the throttle valve angle and relays that information to the PCM. The PCM requires knowledge of throttle angle to generate the required injector control signals, or pulses.

The short term fuel trim (FT) is a PCM erasable memory register. The neutral value for the short term FT is 0 percent. Any deviation from 0 percent indicates that the short term FT is changing the injector pulse width. The amount of pulse width change depends on how far the short term fuel trim value is from 0 percent. The short term FT is rich when the scan tool indicates a negative number. The short FT is lean when the scan tool indicates a number greater than 0. The short term FT changes the injector pulse width by adding to or subtracting from the base pulse width equation. As the PCM monitors the oxygen sensors input, the PCM constantly varies the short term FT value. The value is updated very quickly, therefore the short term FT only corrects for short term mixture trends. The correction of the long term mixture trends is the function of long term FT.

When the PCM determines that the short term FT is out of the operating range, 1 of the following DTCs will set:

    • DTC P0171 FT System Lean Bank 1
    • DTC P0172 FT System Rich Bank 1
    • DTC P0174 FT System Lean Bank 2
    • DTC P0175 FT System Rich Bank 2

The FT is a matrix of cells arranged by RPM and MAP. Each cell of the long term FT is a register like the short term FT. As the engine operating conditions change, the PCM will switch from cell to cell in order to determine what long term FT factor to use in the base pulse width equation.

While in any given cell, the PCM also monitors the short term FT. If the short term FT is far enough from 0 percent, the PCM will change the long term FT value. Once the long term FT value is changed, the PCM should force the short term FT back toward 0 percent. If the mixture is still not correct, as judged by the PCM, the short term FT will continue to have a large deviation from the ideal 0 percent. In this case, the long term FT value will continue to change until the short term FT becomes balanced. Both the short term FT and the long term FT have limits which vary by calibration. If the mixture is off enough so that long term FT reaches the limit of its control and still cannot correct the condition, the short term FT would also go to its limit of control in the same direction. If the mixture is still not corrected by both short term FT and long term FT at their extreme values, a FT DTC will likely result. When the PCM determines that the long term FT is out of the operating range, the following DTCs will set:

    • DTC P0171 FT System Lean Bank 1
    • DTC P0172 FT System Rich Bank 1
    • DTC P0174 FT System Lean Bank 2
    • DTC P0175 FT System Rich Bank 2

Under the conditions of power enrichment, the PCM sets the short term FT to 0 percent. The PCM freezes the short term FT there until the power enrichment is no longer in effect. This is done so the Closed Loop factor and the long term FT will not try to correct for the commanded richness of power enrichment.