Cruise Control Cable Adjustment without RPO NW9
- Ensure that the cable
fitting is snapped onto the throttle lever pin.
- Ensure that the cable is locked into position on the bracket.
- Pull the cable adjustment slider on the cable end rearward until
all slack is removed from the cable but without opening the throttle.
- Push down cable adjustment lock button until it snaps and locks
in place.
- Ensure that the locking tab is secure on both sides.
Important: Cable must not have more than 2.0 mm (0.078 in) of slack.
- Excess slack in cable can cause poor performance, such as hesitation
on cruise setting.
Important: Cable should never be adjusted so tightly that tension from the cable
will not allow the throttle to close properly.
- Pulling cable too tight will prevent engine from returning to
idle and could cause unstable idle quality.
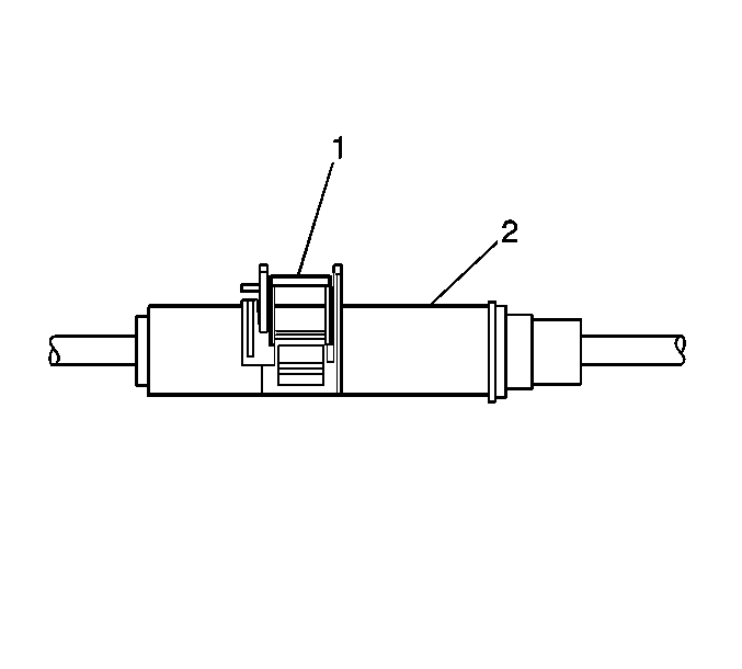
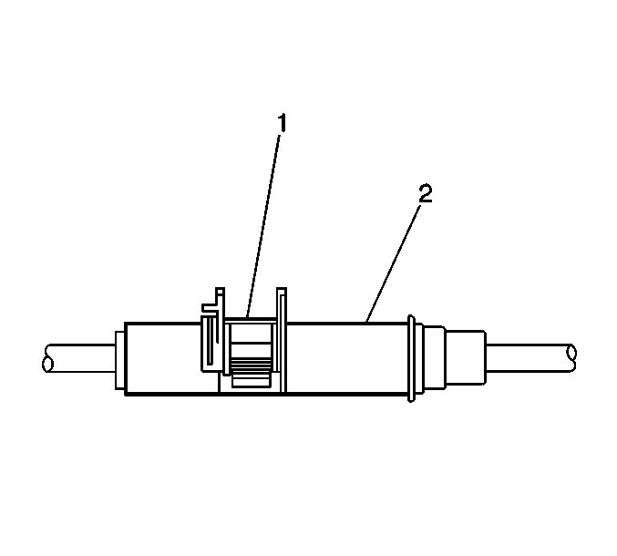
Cruise Control Cable Adjustment with RPO NW9
- Lift the adjustment lock
button (1) up.
- Pull the cable adjustment slider (2) rearward until all
slack is removed from cable, but without opening the throttle.
- Push down the cable adjustment
lock button (1) until it snaps and locks in place
Important: Ensure that cable is correctly adjusted to avoid excess slack which
will cause degraded cruise and traction control performance and inability
to achieve wide open throttle. If cables are set too tight the throttle
will not fully close.
- Ensure that the locking tabs are secure on both sides.