GM Service Manual Online
For 1990-2009 cars only

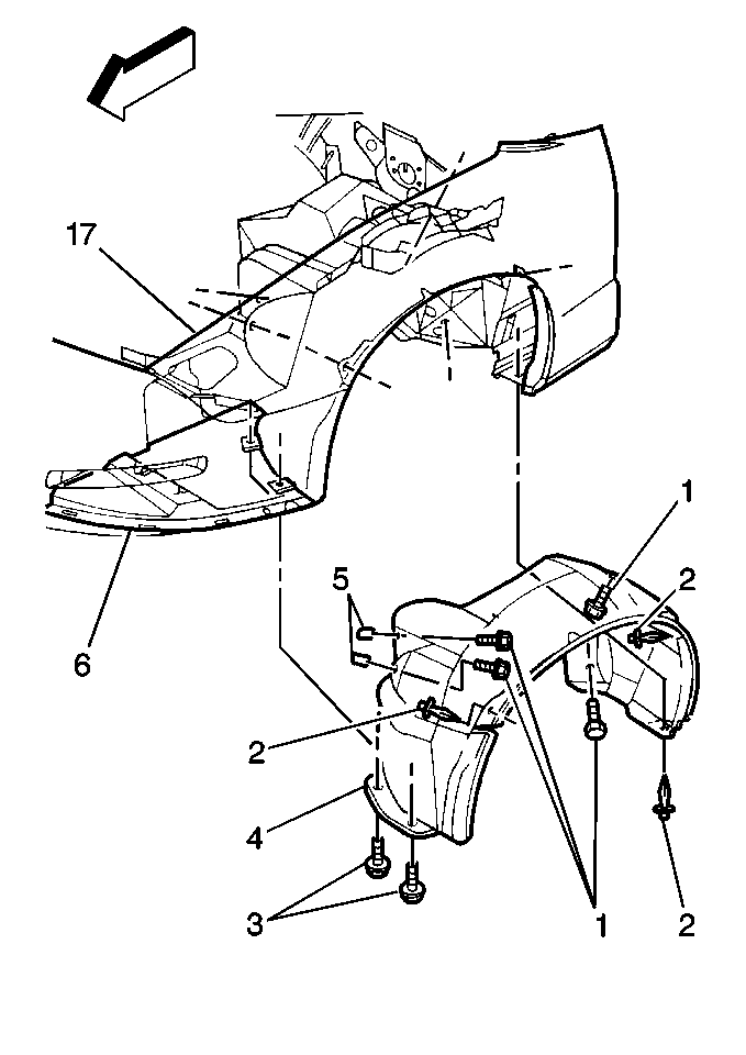
Removal Procedure


    Object Number: 318902  Size: MH
  1. Remove the front wheelhouse panel liner bolt/screw caps (5).
  2. Raise and support the vehicle. Refer to Lifting and Jacking the Vehicle in General Information.
  3. Remove the front tire and wheel. Refer to Tire and Wheel Removal and Installation in Tires and Wheels.
  4. Remove the wheelhouse panel liner bolts screws (3) from the following components:
  5. • The liner (4)
    • The lower deflector (6)
  6. Remove the front wheelhouse panel liner bolts/screws (1) from the liner (4).
  7. Remove the front wheelhouse panel liner retainers (2).
  8. Remove the wheelhouse panel liner (4).

Installation Procedure


    Object Number: 318902  Size: MH
  1. Install the wheelhouse panel liner (4).
  2. Install the front wheelhouse panel liner retainers (2).
  3. Notice: Use the correct fastener in the correct location. Replacement fasteners must be the correct part number for that application. Fasteners requiring replacement or fasteners requiring the use of thread locking compound or sealant are identified in the service procedure. Do not use paints, lubricants, or corrosion inhibitors on fasteners or fastener joint surfaces unless specified. These coatings affect fastener torque and joint clamping force and may damage the fastener. Use the correct tightening sequence and specifications when installing fasteners in order to avoid damage to parts and systems.

  4. Install the front wheelhouse panel liner bolts/screws (1) from the liner (4).
  5. Tighten
    Tighten the front wheelhouse panel liner bolts/screws (1) to 1.3 N·m (12 lb in).

  6. Install the wheelhouse panel liner bolts screws (3) to the following components:
  7. • The liner (4)
    • The lower deflector (6)
  8. Install the front tire and wheel. Refer to Tire and Wheel Removal and Installation in Tires and Wheels.
  9. Lower the vehicle.
  10. Install the front wheelhouse panel liner bolt/screw caps (5).