GM Service Manual Online
For 1990-2009 cars only

Door Hinge Replacement Lower Hinge

Tools Required

J 36604 Door Hinge Spring Compressor

Removal Procedure

  1. Mark the location of the lower hinge on the door and on the hinge pillar.
  2. Support the door (1).
  3. Remove the door hinge spring using J 36604 on the lower hinge only.
  4. Remove the bolts securing the lower hinge to the hinge pillar.

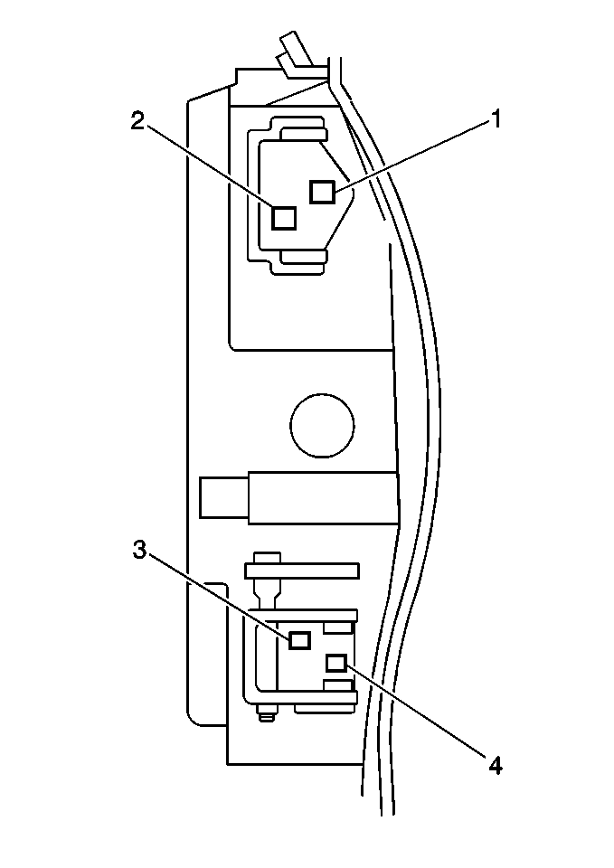
  5. Object Number: 378873  Size: SH
  6. Remove the bolts securing the lower hinge to the door.
  7. Remove the lower door hinge.

Installation Procedure


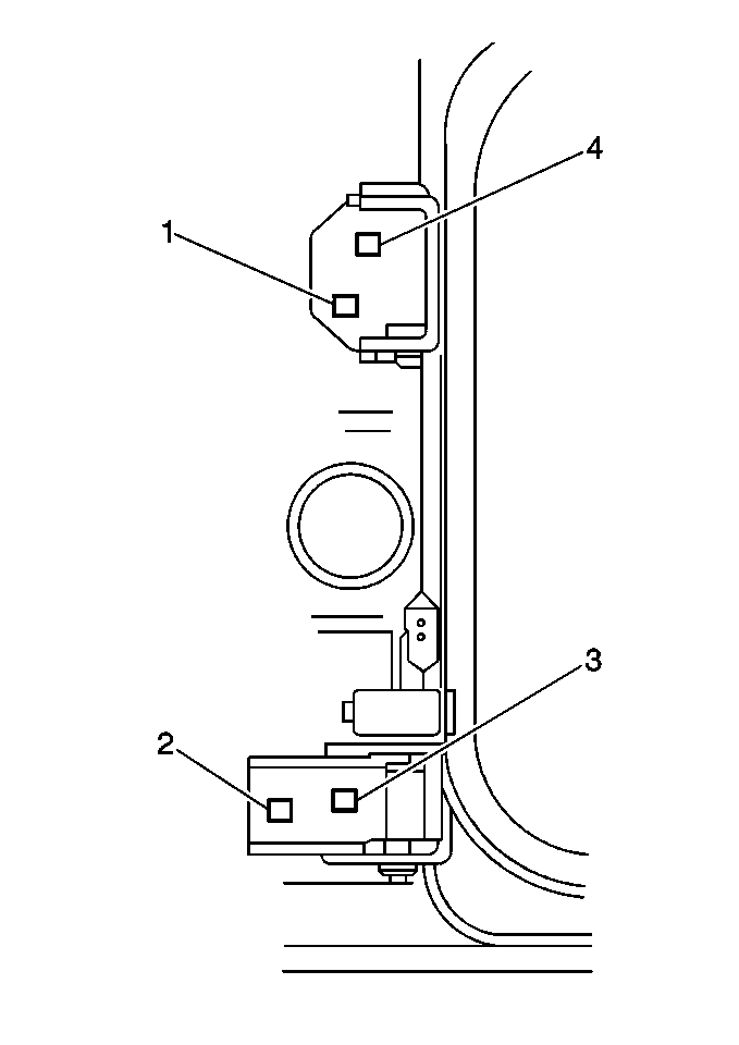
    Object Number: 378879  Size: MH
  1. Position the hinge to the marks on the door.
  2. Install the hinge to door bolts in sequence (1 through 4 as shown).
  3. Notice: Use the correct fastener in the correct location. Replacement fasteners must be the correct part number for that application. Fasteners requiring replacement or fasteners requiring the use of thread locking compound or sealant are identified in the service procedure. Do not use paints, lubricants, or corrosion inhibitors on fasteners or fastener joint surfaces unless specified. These coatings affect fastener torque and joint clamping force and may damage the fastener. Use the correct tightening sequence and specifications when installing fasteners in order to avoid damage to parts and systems.

  4. Install the bolts attaching the hinge to the door.
  5. Tighten
    Tighten the door hinge to door bolts to 30 N·m (22 lb ft).


    Object Number: 384561  Size: MH
  6. Position the hinge to the marks on the hinge pillar.
  7. Install the bolts in sequence (1 through 4 as in figure) attaching the hinge to the hinge pillar.
  8. Tighten
    Tighten the hinge to hinge pillar bolts to 30 N·m (22 lb ft).

  9. Install the spring (lower hinge only).
  10. Remove the door support and check the alignment of the door.

Door Hinge Replacement Upper Hinge

Removal Procedure

  1. Support the door in the full open position.
  2. Mark the position of the upper hinge on the door and hinge pillar.

  3. Object Number: 378873  Size: SH
  4. Remove the door upper hinge bolts.
  5. Remove the door upper hinge nuts (2).
  6. Remove the door upper hinge.

Installation Procedure


    Object Number: 378873  Size: SH
  1. Install the door upper hinge to position marked.
  2. Notice: Use the correct fastener in the correct location. Replacement fasteners must be the correct part number for that application. Fasteners requiring replacement or fasteners requiring the use of thread locking compound or sealant are identified in the service procedure. Do not use paints, lubricants, or corrosion inhibitors on fasteners or fastener joint surfaces unless specified. These coatings affect fastener torque and joint clamping force and may damage the fastener. Use the correct tightening sequence and specifications when installing fasteners in order to avoid damage to parts and systems.

  3. Install the upper hinge nuts.
  4. Tighten
    Tighten the upper hinge nuts to 50 N·m (37 lb ft) in sequence.

  5. Install the upper hinge bolts (2).
  6. Tighten
    Tighten the upper hinge bolts to 50 N·m (37 lb ft).