GM Service Manual Online
For 1990-2009 cars only

Removal Procedure

  1. Lower the window halfway.
  2. Remove the front side door trim panel. Refer to Door Trim Panel Replacement .
  3. Remove the water deflector. Refer to Door Water Deflector Replacement .

  4. Object Number: 378861  Size: SH
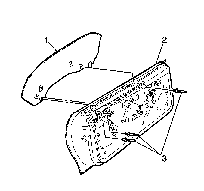
  5. Support the window in a position needed to access the window rivets by inserting a rubber wedge door stops (1) at the front and rear of the window between the window and the door inner panel.

  6. Object Number: 378863  Size: SH
  7. Drill out the window rivets (3) with a 1/4 inch drill bit.
  8. Remove the window (1) by lifting out of the door.
  9. Important: Inspect the window bushings, window bushing retainers, window front up stop, window stabilizer pins and window wedges on the window for damage.

  10. Remove the window bushings and window bushing retainers if necessary, using a flat-bladed tool covered with cloth body tape.
  11. Remove the window front up-stop screw if necessary.
  12. Remove the window front up-stop, front up-stop nut and front up-stop washer if necessary.
  13. Remove the window stabilizer screws, if necessary.
  14. Remove the window stabilizer pins, stabilizer pin nuts and window wedges if necessary.

Installation Procedure


    Object Number: 378863  Size: SH
  1. Install the window stabilizer pins, stabilizer pin nuts and window wedges if necessary.
  2. Notice: Use the correct fastener in the correct location. Replacement fasteners must be the correct part number for that application. Fasteners requiring replacement or fasteners requiring the use of thread locking compound or sealant are identified in the service procedure. Do not use paints, lubricants, or corrosion inhibitors on fasteners or fastener joint surfaces unless specified. These coatings affect fastener torque and joint clamping force and may damage the fastener. Use the correct tightening sequence and specifications when installing fasteners in order to avoid damage to parts and systems.

  3. Install window stabilizer screws, if necessary.
  4. Tighten
    Tighten the window stabilizer screws to 7 N·m (62 lb in).

  5. Install the window stabilizer pin nuts, if removed.
  6. Tighten
    Tighten the window stabilizer pin nuts to 8 N·m (71 lb in).

  7. Install the window front up-stop washer, if removed.
  8. Install the window front up-stop screw, if removed.
  9. Tighten
    Tighten the window front up-stop screw to 7 N·m (62 lb in).

  10. Install the window front up-stop nut if removed.
  11. Tighten
    Tighten the window front up-stop nut to 8 N·m (71 lb in).

  12. Install the window bushings and bushing retainers, if removed.
  13. Install the window (1) into door so that holes in window bushings line up with holes in channel.
  14. Install the window rivets (3) in sequence.
  15. Install the water deflector. Refer to Door Water Deflector Replacement .
  16. Install the front side door trim panel. Refer to Door Trim Panel Replacement .
  17. Raise the window.