GM Service Manual Online
For 1990-2009 cars only

Removal Procedure

  1. Remove the drivers side closeout insulator (1). Refer to Instrument Panel Insulator Panel Replacement - Left Side .

  2. Object Number: 736610  Size: SH

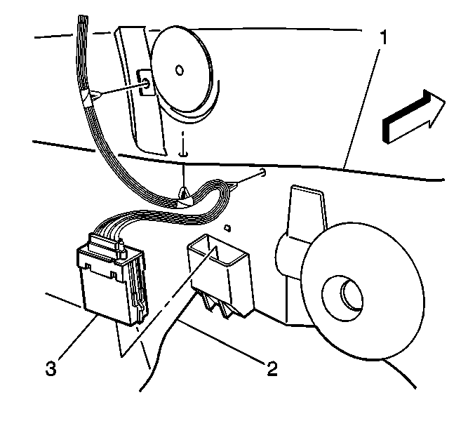
    Important: The location of the molded pocket for the power window control module (3) is above the floor tunnel (2), on the dash mat (1) underneath the instrument panel.

  3. Remove the wire harness from the dash mat (1) above the floor tunnel (2) by gently prying on the rosebud clips.
  4. Remove the power window control module (3) from the molded pocket in the dash mat (1).
  5. Disconnect the wire harness from the power window control module and remove from the vehicle.

Installation Procedure

  1. Connect the wire harness to the power window control module (3).

  2. Object Number: 736610  Size: SH
  3. Install the power window control module (3) to the molded pocket in the dash mat (1).
  4. Install the wire harness to the dash mat (1) above the floor tunnel by pushing on the rosebud clips.
  5. Install the driver side closeout insulator (1). Refer to Instrument Panel Insulator Panel Replacement - Left Side .