GM Service Manual Online
For 1990-2009 cars only

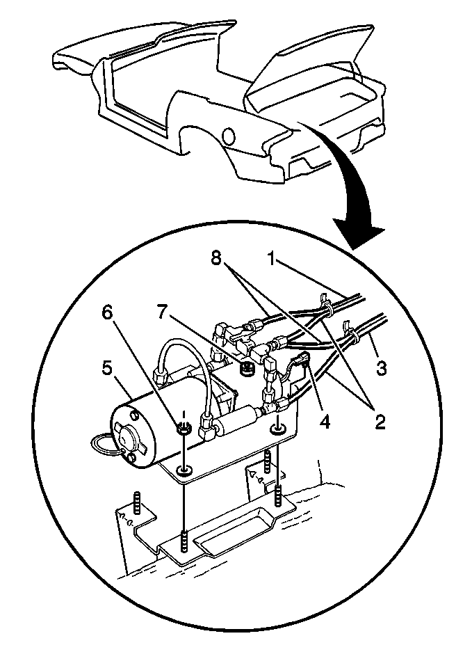
Removal Procedure


    Object Number: 311056  Size: MH
  1. Remove the left rear compartment side trim panel. Refer to Cargo Area Side Trim Panel Replacement in Interior Trim.
  2. Disconnect the electrical connector from the pump.
  3. Remove the cylinder hose (1,3) from the pump (5).
  4. Use a shop towel in order to control hydraulic oil leakage.
  5. Remove the pump nuts (6).
  6. Remove the pump (5) with the motor.

Installation Procedure


    Object Number: 311056  Size: MH
  1. Install the pump (5) with the motor.
  2. Notice: Use the correct fastener in the correct location. Replacement fasteners must be the correct part number for that application. Fasteners requiring replacement or fasteners requiring the use of thread locking compound or sealant are identified in the service procedure. Do not use paints, lubricants, or corrosion inhibitors on fasteners or fastener joint surfaces unless specified. These coatings affect fastener torque and joint clamping force and may damage the fastener. Use the correct tightening sequence and specifications when installing fasteners in order to avoid damage to parts and systems.

  3. Install the pump nuts (6).
  4. Tighten
    Tighten the nuts to 6 N·m (53 lb in).

  5. Install the cylinder hose (1,3) to the pump (5).
  6. Tighten
    Tighten the cylinder hose fittings to 7 N·m (62 lb in).

  7. Connect the electrical connector to the pump.
  8. Install the left rear compartment side trim panel. Refer to Cargo Area Side Trim Panel Replacement in Interior Trim.