GM Service Manual Online
For 1990-2009 cars only

Removal Procedure

  1. Remove the lower folding top to a suitable working position.
  2. Turn the pump fully clockwise to the open position. Refer to Manual Operation in Folding Top Operation.
  3. Remove the side rail weatherstrip. Refer to Folding Top Side Front Weatherstrip Replacement .
  4. Remove the side rail weatherstrip retainer. Refer to Folding Top Weatherstrip Retainer Replacement .
  5. Remove the side rail garnish molding. Refer to Windshield Pillar Garnish Molding Replacement in Interior Trim.

  6. Object Number: 311076  Size: LH
  7. Remove the bolts (3) attaching the cover retainer cable (1) to the outer arm (9).

  8. Object Number: 311071  Size: SH
  9. Remove the folding top cover retainer number 1 bolt (4).
  10. Remove the front cover number 1 bow retainer (5).

  11. Object Number: 311072  Size: LH
  12. Mark the top cover fabric along the front edge of the number 1 bow (9) for reference.
  13. Peel back the top cover from the number 1 bow in order to reveal the number 1 bolts. Refer to Power Folding Top Bow Replacement .
  14. Remove the number 1 bow bolts. Refer to Power Folding Top Bow Replacement .

  15. Object Number: 311083  Size: SH
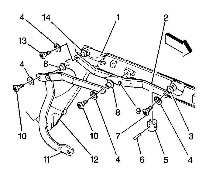
  16. Remove the following components in order to remove the front side rail link to the side rail:
  17. • The bolt (7)
    • The washer (4)
    • The bushing (3)
  18. Remove the following components in order to remove the side rail link (11) to the side rail (1):
  19. • The bolt (10)
    • The washer (4)
    • The bushing (8)

    Object Number: 311072  Size: LH
  20. Remove the cover retainer cable.
  21. Remove the side rail (7).

Disassembly Procedure


    Object Number: 311072  Size: LH
  1. Remove the number 2 bow insulator bolt (14).
  2. Remove the number 2 bow insulator (13) from the side rail (7).

Assembly Procedure


    Object Number: 311072  Size: LH
  1. Install the number 2 bow insulator (13) to the side rail (7).
  2. Notice: Use the correct fastener in the correct location. Replacement fasteners must be the correct part number for that application. Fasteners requiring replacement or fasteners requiring the use of thread locking compound or sealant are identified in the service procedure. Do not use paints, lubricants, or corrosion inhibitors on fasteners or fastener joint surfaces unless specified. These coatings affect fastener torque and joint clamping force and may damage the fastener. Use the correct tightening sequence and specifications when installing fasteners in order to avoid damage to parts and systems.

  3. Install the number 2 bow insulator bolt (14).
  4. Tighten
    Tighten the bolts to 5 N·m (44 lb in).

Installation Procedure


    Object Number: 311083  Size: SH
  1. Install the side rail (12).
  2. Install the cover retainer cable at the front end of the side rail (12).
  3. Notice: Use the correct fastener in the correct location. Replacement fasteners must be the correct part number for that application. Fasteners requiring replacement or fasteners requiring the use of thread locking compound or sealant are identified in the service procedure. Do not use paints, lubricants, or corrosion inhibitors on fasteners or fastener joint surfaces unless specified. These coatings affect fastener torque and joint clamping force and may damage the fastener. Use the correct tightening sequence and specifications when installing fasteners in order to avoid damage to parts and systems.

  4. Install the following components in order to attach the side rail link to the side rail (12):
  5. • The bushing (8)
    • The washer (4)
    • The bolt (10)

    Tighten
    Tighten the bolt (10) to 17 N·m (13 lb ft).

  6. Install the following components in order to attach the side rail link (2) to the side rail (1):
  7. • The bushing (3)
    • The washer (4)
    • The bolt (7)

    Tighten
    Tighten the bolt (7) to 17 N·m (13 lb ft).

  8. Install the number 1 bow bolts. Refer to Power Folding Top Bow Replacement .
  9. Install the top cover. Refer to Power Folding Top Bow Replacement .

  10. Object Number: 311071  Size: SH
  11. Install the front cover number 1 bow retainer (5).
  12. Install the screws (4).
  13. Tighten
    Tighten the screws to 5 N·m (44 lb ft).


    Object Number: 311076  Size: LH
  14. Install the cover retainer cable (1) at the front of the side rail.
  15. Install the bolts (3).
  16. Install the side rail garnish molding. Refer to Windshield Pillar Garnish Molding Replacement in Interior Trim.
  17. Install the side rail weatherstrip retainer. Refer to Folding Top Weatherstrip Retainer Replacement .
  18. Install the side rail weatherstrip. Refer to Folding Top Side Front Weatherstrip Replacement .
  19. Turn the pump bypass valve fully counterclockwise to the closed position. Refer to Manual Operation in Folding Top Operation.
  20. Raise the folding top.